| Номер на схеме | Каталожный номер | Название | Количество | Детали | |||
|---|---|---|---|---|---|---|---|
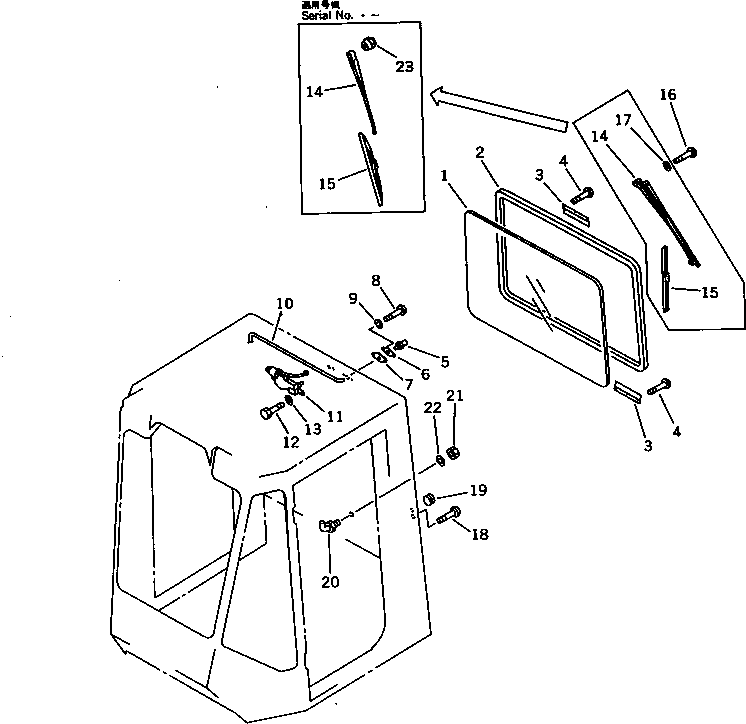
| ? | (425-54-15040) | OPERATOR'S CAB ASS'Y | 1 | SN: 10001-11060 KIT-FLAG: _- SERIALNO: 10001-11060 |
|||
| ? | THIS ASSEMBLY CONSISTS OF ALL PARTS SHOWN IN FIGS.5511 TO 5516. | SERIALNO: |
|||||
| ? | 425-54-15351 | • GLASS | 1 | SN: 10001-11060 KIT-FLAG: _- SERIALNO: 10001-11060 |
|||
| ? | 425-54-15361 | • STRIP,WEATHER | 1 | SN: 10001-11060 KIT-FLAG: _- SERIALNO: 10001-11060 |
|||
| ? | 425-54-15780 | • PLATE | 2 | SN: 10001-11060 KIT-FLAG: _- SERIALNO: 10001-11060 |
|||
| ? | 01370-00406 | • SCREW | 6 | SN: 10001-11060 KIT-FLAG: _- SERIALNO: 10001-11060 |
|||
| ? | 421-54-15430 | • NOZZLE | 1 | SN: 10001-11060 KIT-FLAG: _- SERIALNO: 10001-11060 |
|||
| ? | 421-54-15421 | • PLATE | 1 | SN: 10001-11060 KIT-FLAG: _- SERIALNO: 10001-11060 |
|||
| ? | 425-54-15790 | • PLATE | 1 | SN: 10001-11060 KIT-FLAG: _- SERIALNO: 10001-11060 |
|||
| ? | 01220-40516 | • SCREW | 2 | SN: 10001-11060 KIT-FLAG: _- SERIALNO: 10001-11060 |
|||
| ? | 01601-20513 | • WASHER,SPRING | 2 | SN: 10001-11060 KIT-FLAG: _- SERIALNO: 10001-11060 |
|||
| ? | 421-54-15440 | • HOSE, 4300MM | 1 | SN: 10001-11060 KIT-FLAG: _- SERIALNO: 10001-11060 |
|||
| ? | 423-56-11210 | • MOTOR,WIPER | 1 | SN: ..-11060 KIT-FLAG: _- SERIALNO: ..-11060 |
|||
| ? | 417-54-15141 | • MOTOR,WIPER | 1 | SN: .-.. KIT-FLAG: _- SERIALNO: .-.. |
|||
| ? | □417-54-15140 | • MOTOR,WIPER | 1 | SN: 10001-. KIT-FLAG: _- SERIALNO: 10001-. |
|||
| ? | 01010-50812 | • BOLT | 2 | SN: 10001-11060 KIT-FLAG: _- SERIALNO: 10001-11060 |
|||
| ? | 01643-30823 | • WASHER | 2 | SN: 10001-11060 KIT-FLAG: _- SERIALNO: 10001-11060 |
|||
| ? | 425-54-11220 | • ARM,WIPER | 1 | SN: .-11060 KIT-FLAG: _- SERIALNO: .-11060 |
|||
| ? | 425-54-15320 | • ARM,WIPER | 1 | SN: 10001-. KIT-FLAG: _- SERIALNO: 10001-. |
|||
| ? | 423-56-11230 | • BLADE,WIPER | 1 | SN: ..-11060 KIT-FLAG: _- SERIALNO: ..-11060 |
|||
| ? | 423-56-11210 | • MOTOR,WIPER | 1 | SN: .-.. KIT-FLAG: _- SERIALNO: .-.. |
|||
| ? | 425-54-15330 | • BLADE,WIPER | 1 | SN: 10001-. KIT-FLAG: _- SERIALNO: 10001-. |
|||
| ? | 01220-40516 | • SCREW | 1 | SN: 10001-. KIT-FLAG: _- SERIALNO: 10001-. |
|||
| ? | 01641-20508 | • WASHER | 1 | SN: 10001-. KIT-FLAG: _- SERIALNO: 10001-. |
|||
| ? | 09415-00706 | • CAP | 1 | SN: 10001-11060 KIT-FLAG: _- SERIALNO: 10001-11060 |
|||
| ? | 01220-40416 | • SCREW | 3 | SN: 10001-11060 KIT-FLAG: _- SERIALNO: 10001-11060 |
|||
| ? | 423-54-15370 | • BAR | 2 | SN: 10001-11060 KIT-FLAG: _- SERIALNO: 10001-11060 |
|||
| ? | 01580-10504 | • NUT | 2 | SN: 10001-11060 KIT-FLAG: _- SERIALNO: 10001-11060 |
|||
| ? | 01642-20508 | • WASHER | 2 | SN: 10001-11060 KIT-FLAG: _- SERIALNO: 10001-11060 |
|||
| ? | 01580-00806 | • NUT | 1 | SN: .-11060 KIT-FLAG: _- SERIALNO: .-11060 |
