| Номер на схеме | Каталожный номер | Название | Количество | Детали | |||
|---|---|---|---|---|---|---|---|
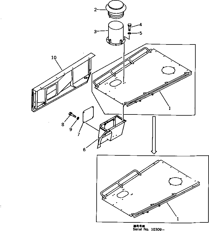
| ? | ☆ | HOOD,(MODIFIED PARTS) | 1 | SN: 10309- KIT-FLAG: _- SERIALNO: 10309- |
|||
| ? | ☆ | HOOD,(MODIFIED PARTS) | 1 | SN: 10001-10308 KIT-FLAG: _- SERIALNO: 10001-10308 |
|||
| ? | (600-181-5590) | HOOD | 1 | SN: 10001- KIT-FLAG: _- SERIALNO: 10001- |
|||
| ? | 426-Z04-1110 | PIPE,EXTENSION | 1 | SN: 10001- KIT-FLAG: _- SERIALNO: 10001- |
|||
| ? | 01010-51230 | BOLT | 4 | SN: 10001- KIT-FLAG: _- SERIALNO: 10001- |
|||
| ? | 01643-31232 | WASHER | 4 | SN: 10001- KIT-FLAG: _- SERIALNO: 10001- |
|||
| ? | ☆ | BOX,(MODIFIED PARTS) | 1 | SN: 10297- KIT-FLAG: _- SERIALNO: 10297- |
|||
| ? | ☆ | BOX,(MODIFIED PARTS) | 1 | SN: 10001-10296 KIT-FLAG: _- SERIALNO: 10001-10296 |
|||
| ? | 426-Z04-1130 | PLATE | 1 | SN: 10001- KIT-FLAG: _- SERIALNO: 10001- |
|||
| ? | 01010-51020 | BOLT | 4 | SN: 10001- KIT-FLAG: _- SERIALNO: 10001- |
|||
| ? | 01643-31032 | WASHER | 4 | SN: 10001- KIT-FLAG: _- SERIALNO: 10001- |
|||
| ? | ☆ | HOOD,(MODIFIED PARTS) | 1 | SN: 10001- KIT-FLAG: _- SERIALNO: 10001- |
