| Номер на схеме | Каталожный номер | Название | Количество | Детали | |||
|---|---|---|---|---|---|---|---|
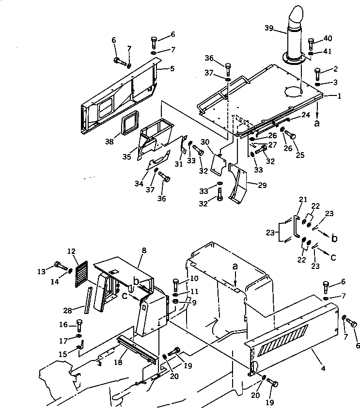
| ? | 426-Z90-1112 | HOOD,TOP | 1 | SN: 10328- KIT-FLAG: _- SERIALNO: 10328- |
|||
| ? | □426-Z90-1111 | HOOD,TOP | 1 | SN: 10169-10327 KIT-FLAG: _- SERIALNO: 10169-10327 |
|||
| ? | □426-54-11132 | HOOD,TOP | 1 | SN: 10001-10168 KIT-FLAG: _- SERIALNO: 10001-10168 |
|||
| ? | 01010-81230 | BOLT | 9 | SN: 10001- KIT-FLAG: _- SERIALNO: 10001- |
|||
| ? | 01643-31232 | WASHER | 9 | SN: 10001- KIT-FLAG: _- SERIALNO: 10001- |
|||
| ? | 426-54-11413 | HOOD,SIDE, L.H. | 1 | SN: 10001- KIT-FLAG: _- SERIALNO: 10001- |
|||
| ? | 426-54-11423 | HOOD,SIDE, R.H. | 1 | SN: 10001- KIT-FLAG: _- SERIALNO: 10001- |
|||
| ? | 01010-81225 | BOLT | 12 | SN: 10001- KIT-FLAG: _- SERIALNO: 10001- |
|||
| ? | 01643-31232 | WASHER | 12 | SN: 10001- KIT-FLAG: _- SERIALNO: 10001- |
|||
| ? | 426-54-11554 | SUPPORT | 1 | SN: 10579- KIT-FLAG: _- SERIALNO: 10579- |
|||
| ? | 426-54-11553 | SUPPORT | 1 | SN: 10001-10578 KIT-FLAG: _- SERIALNO: 10001-10578 |
|||
| ? | 198-43-15310 | COLLAR, 10MM | 6 | SN: 10001- KIT-FLAG: _- SERIALNO: 10001- |
|||
| ? | 01010-51255 | BOLT | 6 | SN: 10001- KIT-FLAG: _- SERIALNO: 10001- |
|||
| ? | 01643-31232 | WASHER | 6 | SN: 10001- KIT-FLAG: _- SERIALNO: 10001- |
|||
| ? | 426-54-15512 | COVER | 1 | SN: 11110- KIT-FLAG: _- SERIALNO: 11110- |
|||
| ? | 426-54-15511 | COVER | 1 | SN: 10001-11109 KIT-FLAG: _- SERIALNO: 10001-11109 |
|||
| ? | 01010-81225 | BOLT | 4 | SN: 10001- KIT-FLAG: _- SERIALNO: 10001- |
|||
| ? | 01643-31232 | WASHER | 4 | SN: 10001- KIT-FLAG: _- SERIALNO: 10001- |
|||
| ? | 426-54-15672 | SUPPORT | 1 | SN: 10579- KIT-FLAG: _- SERIALNO: 10579- |
|||
| ? | 426-54-15671 | SUPPORT | 1 | SN: 10001-10578 KIT-FLAG: _- SERIALNO: 10001-10578 |
|||
| ? | 426-54-15672 | SUPPORT | 1 | SN: 10650- KIT-FLAG: _- SERIALNO: 10650- |
|||
| ? | 426-54-15671 | SUPPORT | 1 | SN: 10001-10649 KIT-FLAG: _- SERIALNO: 10001-10649 |
|||
| ? | 01010-81230 | BOLT | 2 | SN: 10001- KIT-FLAG: _- SERIALNO: 10001- |
|||
| ? | 01643-31232 | WASHER | 2 | SN: 10001- KIT-FLAG: _- SERIALNO: 10001- |
|||
| ? | 426-54-11594 | SUPPORT | 1 | SN: 11135- KIT-FLAG: _- SERIALNO: 11135- |
|||
| ? | 426-54-11593 | SUPPORT | 1 | SN: 11097-11134 KIT-FLAG: _- SERIALNO: 11097-11134 |
|||
| ? | 426-54-11592 | SUPPORT | 1 | SN: 10343-11096 KIT-FLAG: _- SERIALNO: 10343-11096 |
|||
| ? | □426-54-11591 | SUPPORT | 1 | SN: 10001-10342 KIT-FLAG: _- SERIALNO: 10001-10342 |
|||
| ? | 01010-81235 | BOLT | 12 | SN: 10001- KIT-FLAG: _- SERIALNO: 10001- |
|||
| ? | 01643-31232 | WASHER | 12 | SN: 10001- KIT-FLAG: _- SERIALNO: 10001- |
|||
| ? | 426-06-11280 | BAR | 1 | SN: 10001- KIT-FLAG: _- SERIALNO: 10001- |
|||
| ? | 01643-31032 | WASHER | 4 | SN: 10001- KIT-FLAG: _- SERIALNO: 10001- |
|||
| ? | 04050-13020 | PIN,COTTER | 4 | SN: 11226- KIT-FLAG: _- SERIALNO: 11226- |
|||
| ? | 04050-13018 | PIN,COTTER | 4 | SN: 10001-11225 KIT-FLAG: _- SERIALNO: 10001-11225 |
|||
| ? | 426-54-11141 | ROD | 2 | SN: 10001- KIT-FLAG: _- SERIALNO: 10001- |
|||
| ? | 01010-81220 | BOLT | 2 | SN: 10001- KIT-FLAG: _- SERIALNO: 10001- |
|||
| ? | 01643-31232 | WASHER | 4 | SN: 10001- KIT-FLAG: _- SERIALNO: 10001- |
|||
| ? | 04050-13020 | PIN,COTTER | 2 | SN: 10001- KIT-FLAG: _- SERIALNO: 10001- |
|||
| ? | 426-54-11740 | SEAL | 2 | SN: 10001- KIT-FLAG: _- SERIALNO: 10001- |
|||
| ? | 426-54-11772 | COVER | 1 | SN: 11277- KIT-FLAG: _- SERIALNO: 11277- |
|||
| ? | 426-54-11771 | COVER | 1 | SN: .-11276 KIT-FLAG: _- SERIALNO: .-11276 |
|||
| ? | 426-54-11770 | COVER | 1 | SN: 10001-. KIT-FLAG: _- SERIALNO: 10001-. |
|||
| ? | 426-54-14420 | RUBBER | 1 | SN: 11277- KIT-FLAG: _- SERIALNO: 11277- |
|||
| ? | 426-54-14450 | RUBBER | 1 | SN: 11277- KIT-FLAG: _- SERIALNO: 11277- |
|||
| ? | 426-54-13720 | PLATE | 6 | SN: 11277- KIT-FLAG: _- SERIALNO: 11277- |
|||
| ? | 362-56-41740 | RIVET | 12 | SN: 11277- KIT-FLAG: _- SERIALNO: 11277- |
|||
| ? | 426-54-11761 | COVER | 1 | SN: 11277- KIT-FLAG: _- SERIALNO: 11277- |
|||
| ? | 426-54-11760 | COVER | 1 | SN: 10001-11276 KIT-FLAG: _- SERIALNO: 10001-11276 |
|||
| ? | 426-54-14510 | RUBBER | 1 | SN: 11277- KIT-FLAG: _- SERIALNO: 11277- |
|||
| ? | 426-54-14410 | RUBBER | 1 | SN: 11277- KIT-FLAG: _- SERIALNO: 11277- |
|||
| ? | 426-54-14490 | RUBBER | 1 | SN: 11277- KIT-FLAG: _- SERIALNO: 11277- |
|||
| ? | 425-54-13950 | PLATE | 1 | SN: 11277- KIT-FLAG: _- SERIALNO: 11277- |
|||
| ? | 426-54-13720 | PLATE | 4 | SN: 11277- KIT-FLAG: _- SERIALNO: 11277- |
|||
| ? | 362-56-41740 | RIVET | 11 | SN: 11277- KIT-FLAG: _- SERIALNO: 11277- |
|||
| ? | 426-54-11820 | PLATE | 1 | SN: 10001- KIT-FLAG: _- SERIALNO: 10001- |
|||
| ? | 01010-81225 | BOLT | 8 | SN: 10001- KIT-FLAG: _- SERIALNO: 10001- |
|||
| ? | 01643-31232 | WASHER | 8 | SN: 10001- KIT-FLAG: _- SERIALNO: 10001- |
|||
| ? | 426-54-11473 | PLATE | 1 | SN: 10297- KIT-FLAG: _- SERIALNO: 10297- |
|||
| ? | 426-54-11453 | BOX | 1 | SN: 10297- KIT-FLAG: _- SERIALNO: 10297- |
|||
| ? | 01010-81220 | BOLT | 9 | SN: 10297- KIT-FLAG: _- SERIALNO: 10297- |
|||
| ? | 01643-31232 | WASHER | 9 | SN: 10297- KIT-FLAG: _- SERIALNO: 10297- |
|||
| ? | 426-54-11531 | SEAL | 1 | SN: 10001- KIT-FLAG: _- SERIALNO: 10001- |
|||
| ? | 426-02-11120 | MUFFLER,STACK | 1 | SN: 10001- KIT-FLAG: _- SERIALNO: 10001- |
|||
| ? | 01010-51240 | BOLT | 4 | SN: 10001- KIT-FLAG: _- SERIALNO: 10001- |
|||
| ? | 01643-31232 | WASHER | 4 | SN: 10001- KIT-FLAG: _- SERIALNO: 10001- |
