| Номер на схеме | Каталожный номер | Название | Количество | Детали | |||
|---|---|---|---|---|---|---|---|
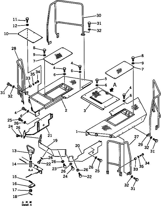
| ? | 426-54-12317 | FLOOR,L.H. | 1 | SN: 11097-@ KIT-FLAG: _- SERIALNO: 11097-@ |
|||
| ? | 426-54-12316 | FLOOR,L.H. | 1 | SN: 10955-11096 KIT-FLAG: _- SERIALNO: 10955-11096 |
|||
| ? | 426-54-12315 | FLOOR,L.H. | 1 | SN: 10881-10954 KIT-FLAG: _- SERIALNO: 10881-10954 |
|||
| ? | 426-54-12327 | FLOOR,R.H. | 1 | SN: 11097-11312 KIT-FLAG: _- SERIALNO: 11097-11312 |
|||
| ? | 426-54-12326 | FLOOR,R.H. | 1 | SN: 10955-11096 KIT-FLAG: _- SERIALNO: 10955-11096 |
|||
| ? | 426-54-12325 | FLOOR,R.H. | 1 | SN: 10881-10954 KIT-FLAG: _- SERIALNO: 10881-10954 |
|||
| ? | 426-54-12332 | FRAME,FLOOR | 1 | SN: 10001-@ KIT-FLAG: _- SERIALNO: 10001-@ |
|||
| ? | 01010-81230 | BOLT | 12 | SN: 10001-@ KIT-FLAG: _- SERIALNO: 10001-@ |
|||
| ? | 01010-81225 | BOLT | 4 | SN: 10001-@ KIT-FLAG: _- SERIALNO: 10001-@ |
|||
| ? | 01643-31232 | WASHER | 16 | SN: 10001-@ KIT-FLAG: _- SERIALNO: 10001-@ |
|||
| ? | 426-54-12341 | COVER | 2 | SN: 11097-@ KIT-FLAG: _- SERIALNO: 11097-@ |
|||
| ? | 426-54-12340 | COVER | 2 | SN: 10001-11096 KIT-FLAG: _- SERIALNO: 10001-11096 |
|||
| ? | 01010-81225 | BOLT | 8 | SN: 10001-@ KIT-FLAG: _- SERIALNO: 10001-@ |
|||
| ? | 01643-31232 | WASHER | 8 | SN: 10001-@ KIT-FLAG: _- SERIALNO: 10001-@ |
|||
| ? | 426-54-13510 | COVER | 1 | SN: 10881-@ KIT-FLAG: _- SERIALNO: 10881-@ |
|||
| ? | 01010-81225 | BOLT | 6 | SN: 10881-@ KIT-FLAG: _- SERIALNO: 10881-@ |
|||
| ? | 01643-31232 | WASHER | 6 | SN: 10881-@ KIT-FLAG: _- SERIALNO: 10881-@ |
|||
| ? | 426-06-11261 | HANDLE | 1 | SN: 10001-@ KIT-FLAG: _- SERIALNO: 10001-@ |
|||
| ? | 09468-00003 | SPRING | 1 | SN: 10001-@ KIT-FLAG: _- SERIALNO: 10001-@ |
|||
| ? | 04025-00532 | PIN,SPRING | 1 | SN: 10001-@ KIT-FLAG: _- SERIALNO: 10001-@ |
|||
| ? | 426-06-11270 | LOCK | 1 | SN: 10001-@ KIT-FLAG: _- SERIALNO: 10001-@ |
|||
| ? | 01590-31215 | NUT | 1 | SN: 10001-@ KIT-FLAG: _- SERIALNO: 10001-@ |
|||
| ? | 04050-13020 | PIN,COTTER | 1 | SN: 10001-@ KIT-FLAG: _- SERIALNO: 10001-@ |
|||
| ? | 426-54-12223 | COVER | 1 | SN: 10881-@ KIT-FLAG: _- SERIALNO: 10881-@ |
|||
| ? | 426-54-12237 | COVER,L.H. | 1 | SN: 10919-@ KIT-FLAG: _- SERIALNO: 10919-@ |
|||
| ? | 426-54-12236 | COVER,L.H. | 1 | SN: 10900-10918 KIT-FLAG: _- SERIALNO: 10900-10918 |
|||
| ? | 426-54-12235 | COVER,L.H. | 1 | SN: 10881-10899 KIT-FLAG: _- SERIALNO: 10881-10899 |
|||
| ? | 426-54-12247 | COVER,R.H. | 1 | SN: 10919-@ KIT-FLAG: _- SERIALNO: 10919-@ |
|||
| ? | 426-54-12246 | COVER,R.H. | 1 | SN: 10900-10918 KIT-FLAG: _- SERIALNO: 10900-10918 |
|||
| ? | 426-54-12245 | COVER,R.H. | 1 | SN: 10881-10899 KIT-FLAG: _- SERIALNO: 10881-10899 |
|||
| ? | 01010-81225 | BOLT | 4 | SN: 10881-@ KIT-FLAG: _- SERIALNO: 10881-@ |
|||
| ? | 01010-81255 | BOLT | 2 | SN: 10881-@ KIT-FLAG: _- SERIALNO: 10881-@ |
|||
| ? | 01010-81220 | BOLT | 4 | SN: 10881-@ KIT-FLAG: _- SERIALNO: 10881-@ |
|||
| ? | 01010-81255 | BOLT | 2 | SN: 10916-@ KIT-FLAG: _- SERIALNO: 10916-@ |
|||
| ? | 01010-81230 | BOLT | 2 | SN: 10881-@ KIT-FLAG: _- SERIALNO: 10881-@ |
|||
| ? | 01010-81225 | BOLT | 2 | SN: 10919-@ KIT-FLAG: _- SERIALNO: 10919-@ |
|||
| ? | 01643-31232 | WASHER | 12 | SN: 10881-@ KIT-FLAG: _- SERIALNO: 10881-@ |
|||
| ? | 426-54-12175 | HANDLE,L.H. | 1 | SN: 11048-@ KIT-FLAG: _- SERIALNO: 11048-@ |
|||
| ? | 426-54-12174 | HANDLE,L.H. | 1 | SN: 10918-11047 KIT-FLAG: _- SERIALNO: 10918-11047 |
|||
| ? | 426-54-12173 | HANDLE,L.H. | 1 | SN: 10027-10917 KIT-FLAG: _- SERIALNO: 10027-10917 |
|||
| ? | 426-54-12185 | HANDLE,R.H. | 1 | SN: 11048-@ KIT-FLAG: _- SERIALNO: 11048-@ |
|||
| ? | 426-54-12184 | HANDLE,R.H. | 1 | SN: 10918-11047 KIT-FLAG: _- SERIALNO: 10918-11047 |
|||
| ? | 426-54-12183 | HANDLE,R.H. | 1 | SN: 10027-10917 KIT-FLAG: _- SERIALNO: 10027-10917 |
|||
| ? | 426-54-12191 | HANDLE,L.H. | 1 | SN: 10001-@ KIT-FLAG: _- SERIALNO: 10001-@ |
|||
| ? | 426-54-12211 | HANDLE,R.H. | 1 | SN: 10001-@ KIT-FLAG: _- SERIALNO: 10001-@ |
|||
| ? | 01010-81230 | BOLT | 24 | SN: 10015-@ KIT-FLAG: _- SERIALNO: 10015-@ |
|||
| ? | 01643-31232 | WASHER | 24 | SN: 10001-@ KIT-FLAG: _- SERIALNO: 10001-@ |
|||
| ? | 418-60-15150 | STOPPER | 2 | SN: 11048-@ KIT-FLAG: _- SERIALNO: 11048-@ |
|||
| ? | 418-60-15150 | STOPPER | 2 | SN: 10001-10917 KIT-FLAG: _- SERIALNO: 10001-10917 |
|||
| ? | 01220-40625 | SCREW | 2 | SN: 11048-@ KIT-FLAG: _- SERIALNO: 11048-@ |
|||
| ? | 01220-40625 | SCREW | 2 | SN: 10001-10917 KIT-FLAG: _- SERIALNO: 10001-10917 |
|||
| ? | 01602-20619 | WASHER,SPRING | 2 | SN: 11048-@ KIT-FLAG: _- SERIALNO: 11048-@ |
|||
| ? | 01602-20619 | WASHER,SPRING | 2 | SN: 10001-10917 KIT-FLAG: _- SERIALNO: 10001-10917 |
