| Номер на схеме | Каталожный номер | Название | Количество | Детали | |||
|---|---|---|---|---|---|---|---|
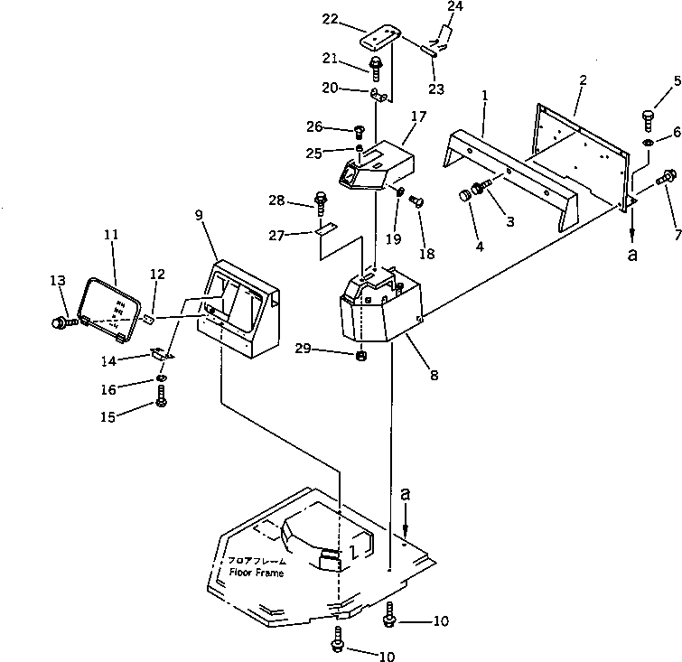
| ? | 424-54-17192 | COVER | 1 | SN: 10881- KIT-FLAG: _- SERIALNO: 10881- |
|||
| ? | 426-54-13480 | COVER | 1 | SN: 10881- KIT-FLAG: _- SERIALNO: 10881- |
|||
| ? | 01435-01265 | BOLT | 3 | SN: 10881- KIT-FLAG: _- SERIALNO: 10881- |
|||
| ? | 09415-03614 | CAP | 3 | SN: 10881- KIT-FLAG: _- SERIALNO: 10881- |
|||
| ? | 01010-51225 | BOLT | 6 | SN: 10881- KIT-FLAG: _- SERIALNO: 10881- |
|||
| ? | 01643-31232 | WASHER | 6 | SN: 10881- KIT-FLAG: _- SERIALNO: 10881- |
|||
| ? | 01435-01225 | BOLT | 3 | SN: 10881- KIT-FLAG: _- SERIALNO: 10881- |
|||
| ? | 424-54-12830 | BOX | 1 | SN: 10001- KIT-FLAG: _- SERIALNO: 10001- |
|||
| ? | 427-54-13650 | BOX | 1 | SN: 10881- KIT-FLAG: _- SERIALNO: 10881- |
|||
| ? | 427-S33-2950 | BOX,(FOR JOY STICK STEERING) | 1 | SN: 10881- KIT-FLAG: _- SERIALNO: 10881- |
|||
| ? | 01435-01220 | BOLT | 7 | SN: 10881- KIT-FLAG: _- SERIALNO: 10881- |
|||
| ? | 421-T43-1310 | COVER | 1 | SN: 10881- KIT-FLAG: _- SERIALNO: 10881- |
|||
| ? | 421-T43-1320 | PLATE | 2 | SN: 10881- KIT-FLAG: _- SERIALNO: 10881- |
|||
| ? | 01435-00616 | BOLT | 4 | SN: 10881- KIT-FLAG: _- SERIALNO: 10881- |
|||
| ? | 09452-14503 | CATCHER | 2 | SN: 10881- KIT-FLAG: _- SERIALNO: 10881- |
|||
| ? | 01220-40308 | SCREW | 4 | SN: 10881- KIT-FLAG: _- SERIALNO: 10881- |
|||
| ? | 01601-20307 | WASHER,SPRING | 4 | SN: 10881- KIT-FLAG: _- SERIALNO: 10881- |
|||
| ? | 425-54-12671 | COVER | 1 | SN: 10881- KIT-FLAG: _- SERIALNO: 10881- |
|||
| ? | 427-S33-2790 | BOX,(FOR JOY STICK STEERING) | 1 | SN: 10881- KIT-FLAG: _- SERIALNO: 10881- |
|||
| ? | 01220-70616 | SCREW | 4 | SN: 10445- KIT-FLAG: _- SERIALNO: 10445- |
|||
| ? | 01642-40608 | WASHER | 4 | SN: 10403- KIT-FLAG: _- SERIALNO: 10403- |
|||
| ? | 425-54-12520 | PLATE | 1 | SN: 10001- KIT-FLAG: _- SERIALNO: 10001- |
|||
| ? | 01435-01020 | BOLT | 2 | SN: 10881- KIT-FLAG: _- SERIALNO: 10881- |
|||
| ? | 425-54-12510 | BRACKET | 1 | SN: 10001- KIT-FLAG: _- SERIALNO: 10001- |
|||
| ? | 425-54-12530 | SHAFT | 1 | SN: 10001- KIT-FLAG: _- SERIALNO: 10001- |
|||
| ? | 04050-13018 | PIN,COTTER | 2 | SN: 10001- KIT-FLAG: _- SERIALNO: 10001- |
|||
| ? | 425-54-12590 | STOPPER | 2 | SN: 10001- KIT-FLAG: _- SERIALNO: 10001- |
|||
| ? | 01220-30420 | SCREW | 2 | SN: 10001- KIT-FLAG: _- SERIALNO: 10001- |
|||
| ? | 424-54-12820 | PLATE | 1 | SN: 10001- KIT-FLAG: _- SERIALNO: 10001- |
|||
| ? | 01435-01020 | BOLT | 2 | SN: 10881- KIT-FLAG: _- SERIALNO: 10881- |
|||
| ? | 01584-01008 | NUT | 2 | SN: 10001- KIT-FLAG: _- SERIALNO: 10001- |
