| Номер на схеме | Каталожный номер | Название | Количество | Детали | |||
|---|---|---|---|---|---|---|---|
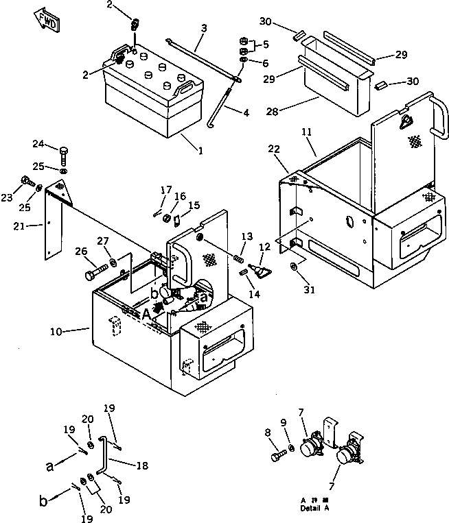
| ? | 08000-02221 | BATTERY, WET(C200),(C200 OR F300-20) | 2 | SN: 10403-@ KIT-FLAG: _- SERIALNO: 10403-@ |
|||
| ? | 08000-12220 | BATTERY (190H52),(DRY TYPE) | 2 | SN: 10001-@ KIT-FLAG: _- SERIALNO: 10001-@ |
|||
| ? | 08000-02221 | BATTERY, WET(C200),(C200 OR F300-20) | 2 | SN: 10001-@ KIT-FLAG: _- SERIALNO: 10001-@ |
|||
| ? | 08000-12221 | BATTERY, DRY(C200),(C200 OR F300-20) | 2 | SN: 10001-@ KIT-FLAG: _- SERIALNO: 10001-@ |
|||
| ? | 08000-00000 | TERMINAL, (+) | 2 | SN: 10001-@ KIT-FLAG: _- SERIALNO: 10001-@ |
|||
| ? | 08000-00001 | TERMINAL, (-) | 2 | SN: 10001-@ KIT-FLAG: _- SERIALNO: 10001-@ |
|||
| ? | 421-06-11221 | HOLDER | 2 | SN: 10001-@ KIT-FLAG: _- SERIALNO: 10001-@ |
|||
| ? | 113-06-31120 | BOLT | 4 | SN: 10001-@ KIT-FLAG: _- SERIALNO: 10001-@ |
|||
| ? | 01580-11008 | NUT | 8 | SN: 10001-@ KIT-FLAG: _- SERIALNO: 10001-@ |
|||
| ? | 01643-31032 | WASHER | 4 | SN: 10001-@ KIT-FLAG: _- SERIALNO: 10001-@ |
|||
| ? | 421-06-11930 | RELAY,BATTERY | 2 | SN: 10001-@ KIT-FLAG: _- SERIALNO: 10001-@ |
|||
| ? | 01010-50830 | BOLT | 4 | SN: 10001-@ KIT-FLAG: _- SERIALNO: 10001-@ |
|||
| ? | 01643-30823 | WASHER | 4 | SN: 10001-@ KIT-FLAG: _- SERIALNO: 10001-@ |
|||
| ? | 426-06-11214 | BOX,L.H. | 1 | SN: 10900-11475 KIT-FLAG: _- SERIALNO: 10900-11475 |
|||
| ? | □426-06-11213 | BOX,L.H. | 1 | SN: 10001-10883 KIT-FLAG: _- SERIALNO: 10001-10883 |
|||
| ? | 426-06-11225 | BOX,R.H. | 1 | SN: 10900-11475 KIT-FLAG: _- SERIALNO: 10900-11475 |
|||
| ? | □426-06-11224 | BOX,R.H. | 1 | SN: 10881-10883 KIT-FLAG: _- SERIALNO: 10881-10883 |
|||
| ? | 426-06-11261 | HANDLE | 2 | SN: 10001-@ KIT-FLAG: _- SERIALNO: 10001-@ |
|||
| ? | 09468-00003 | SPRING | 2 | SN: 10001-@ KIT-FLAG: _- SERIALNO: 10001-@ |
|||
| ? | 04025-00532 | PIN,SPRING | 2 | SN: 10001-@ KIT-FLAG: _- SERIALNO: 10001-@ |
|||
| ? | 426-06-11270 | LOCK | 2 | SN: 10001-@ KIT-FLAG: _- SERIALNO: 10001-@ |
|||
| ? | 01590-31215 | NUT | 2 | SN: 10001-@ KIT-FLAG: _- SERIALNO: 10001-@ |
|||
| ? | 04050-13020 | PIN,COTTER | 2 | SN: 10001-@ KIT-FLAG: _- SERIALNO: 10001-@ |
|||
| ? | 426-06-11280 | BAR | 2 | SN: 10001-@ KIT-FLAG: _- SERIALNO: 10001-@ |
|||
| ? | 04050-13020 | PIN,COTTER | 8 | SN: 10001-@ KIT-FLAG: _- SERIALNO: 10001-@ |
|||
| ? | 01643-31032 | WASHER | 6 | SN: 10001-@ KIT-FLAG: _- SERIALNO: 10001-@ |
|||
| ? | 426-06-11230 | PLATE,L.H. | 1 | SN: 10001-@ KIT-FLAG: _- SERIALNO: 10001-@ |
|||
| ? | 426-06-11240 | PLATE,R.H. | 1 | SN: 10001-@ KIT-FLAG: _- SERIALNO: 10001-@ |
|||
| ? | 01010-81225 | BOLT | 6 | SN: 10001-@ KIT-FLAG: _- SERIALNO: 10001-@ |
|||
| ? | 01010-51225 | BOLT | 2 | SN: 10001-@ KIT-FLAG: _- SERIALNO: 10001-@ |
|||
| ? | 01643-31232 | WASHER | 8 | SN: 10001-@ KIT-FLAG: _- SERIALNO: 10001-@ |
|||
| ? | 01010-61680 | BOLT | 8 | SN: 10001-@ KIT-FLAG: _- SERIALNO: 10001-@ |
|||
| ? | 01643-31645 | WASHER | 8 | SN: 10001-@ KIT-FLAG: _- SERIALNO: 10001-@ |
|||
| ? | 426-54-13390 | BOX | 1 | SN: 10900-@ KIT-FLAG: _- SERIALNO: 10900-@ |
|||
| ? | 421-54-18520 | BOX | 1 | SN: 10881-10883 KIT-FLAG: _- SERIALNO: 10881-10883 |
|||
| ? | 421-54-18530 | • SEAL | 2 | SN: 10881-10883 KIT-FLAG: _- SERIALNO: 10881-10883 |
|||
| ? | 421-54-18540 | • SEAL | 2 | SN: 10881-10883 KIT-FLAG: _- SERIALNO: 10881-10883 |
|||
| ? | 426-09-11410 | SHIM, 1.0MM | 10 | SN: 10881-@ KIT-FLAG: _- SERIALNO: 10881-@ |
|||
| ? | 01010-60816 | BOLT | 2 | SN: 10900-@ KIT-FLAG: _- SERIALNO: 10900-@ |
|||
| ? | 416-64-15620 | WASHER | 2 | SN: 10900-@ KIT-FLAG: _- SERIALNO: 10900-@ |
