| Номер на схеме | Каталожный номер | Название | Количество | Детали | |||
|---|---|---|---|---|---|---|---|
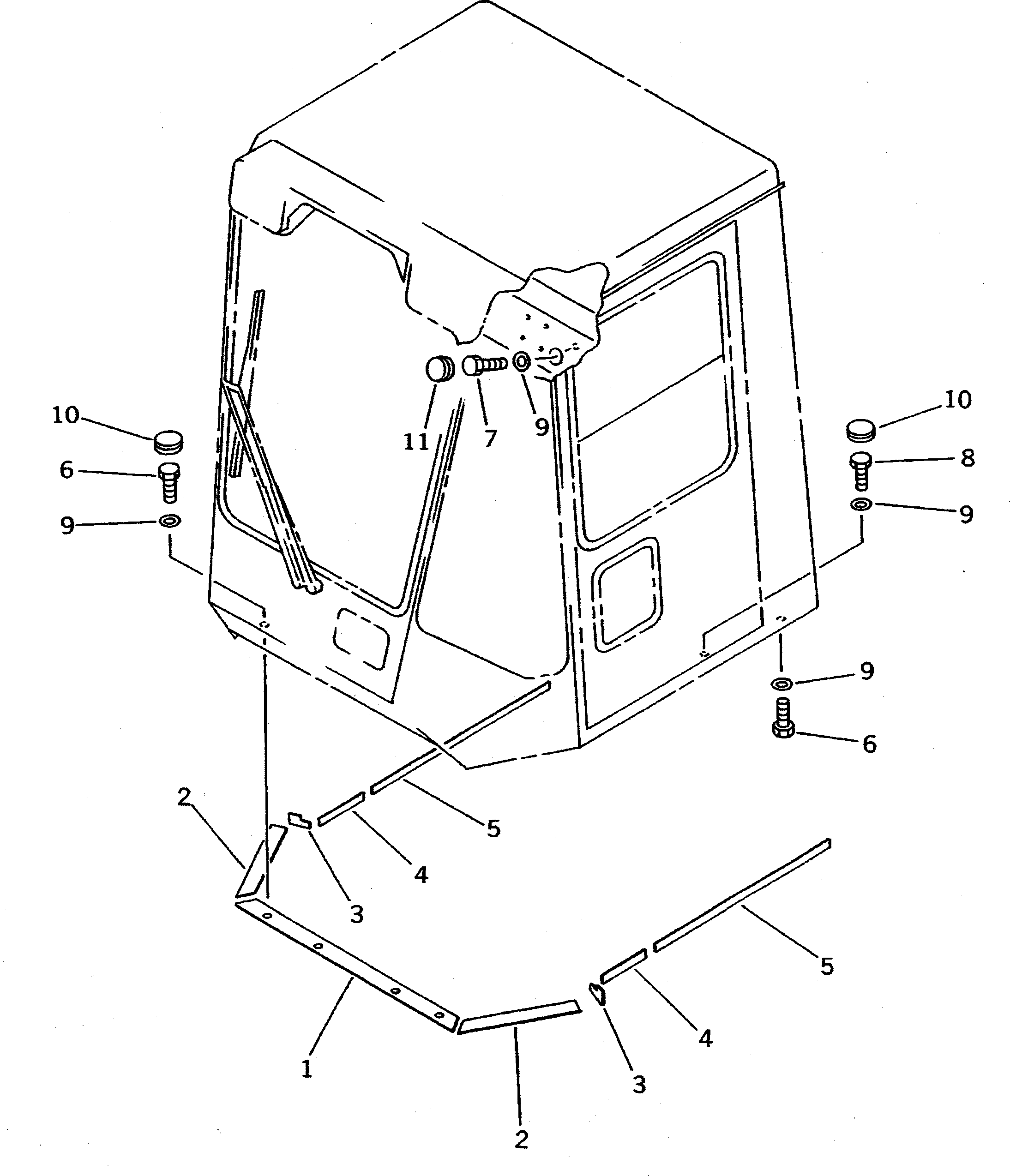
| ? | 425-54-15060 | OPERATOR'S CAB ASS'Y | 1 | SN: 10001-19999 KIT-FLAG: _- SERIALNO: 10001-19999 |
|||
| ? | 425-54-15410 | • SHEET | 1 | SN: 10001-19999 KIT-FLAG: _- SERIALNO: 10001-19999 |
|||
| ? | 425-54-15391 | • SHEET | 2 | SN: 10001-19999 KIT-FLAG: _- SERIALNO: 10001-19999 |
|||
| ? | 425-54-15441 | • SHEET | 2 | SN: 10001-19999 KIT-FLAG: _- SERIALNO: 10001-19999 |
|||
| ? | 425-54-15451 | • SHEET | 2 | SN: 10001-19999 KIT-FLAG: _- SERIALNO: 10001-19999 |
|||
| ? | 425-54-15930 | • SHEET | 2 | SN: 10001-19999 KIT-FLAG: _- SERIALNO: 10001-19999 |
|||
| ? | 01010-51230 | • BOLT | 8 | SN: 10001-19999 KIT-FLAG: _- SERIALNO: 10001-19999 |
|||
| ? | 01010-51270 | • BOLT | 2 | SN: .-19999 KIT-FLAG: _- SERIALNO: .-19999 |
|||
| ? | 01010-51230 | • BOLT | 2 | SN: 10001-. KIT-FLAG: _- SERIALNO: 10001-. |
|||
| ? | 01010-51225 | • BOLT | 4 | SN: 10001-19999 KIT-FLAG: _- SERIALNO: 10001-19999 |
|||
| ? | 01643-31232 | • WASHER | 14 | SN: 10001-19999 KIT-FLAG: _- SERIALNO: 10001-19999 |
|||
| ? | 09415-02512 | • CAP | 8 | SN: 10001-19999 KIT-FLAG: _- SERIALNO: 10001-19999 |
|||
| ? | 09415-03614 | • CAP | 2 | SN: 10001-19999 KIT-FLAG: _- SERIALNO: 10001-19999 |
