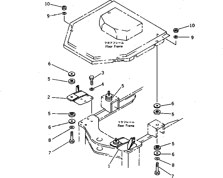
| Номер на схеме | Каталожный номер | Название | Количество | Детали | |||
|---|---|---|---|---|---|---|---|
| ? | 421-54-13282 | BRACKET,L.H. | 1 | SN: 20001- KIT-FLAG: _- SERIALNO: 20001- |
|||
| ? | 421-54-13292 | BRACKET,R.H. | 1 | SN: 20001- KIT-FLAG: _- SERIALNO: 20001- |
|||
| ? | 01010-51660 | BOLT | 8 | SN: 20001- KIT-FLAG: _- SERIALNO: 20001- |
|||
| ? | 01643-31645 | WASHER | 8 | SN: 20001- KIT-FLAG: _- SERIALNO: 20001- |
|||
| ? | 425-54-13160 | CUSHION | 8 | SN: 20001- KIT-FLAG: _- SERIALNO: 20001- |
|||
| ? | 425-54-13170 | PLATE | 8 | SN: 20001- KIT-FLAG: _- SERIALNO: 20001- |
|||
| ? | 01011-51610 | BOLT | 4 | SN: 20001- KIT-FLAG: _- SERIALNO: 20001- |
|||
| ? | 01643-31645 | WASHER | 4 | SN: 20001- KIT-FLAG: _- SERIALNO: 20001- |
|||
| ? | 416-40-11150 | WASHER | 4 | SN: 20001- KIT-FLAG: _- SERIALNO: 20001- |
|||
| ? | 421-40-11510 | NUT | 4 | SN: 20001- KIT-FLAG: _- SERIALNO: 20001- |
