| Номер на схеме | Каталожный номер | Название | Количество | Детали | |||
|---|---|---|---|---|---|---|---|
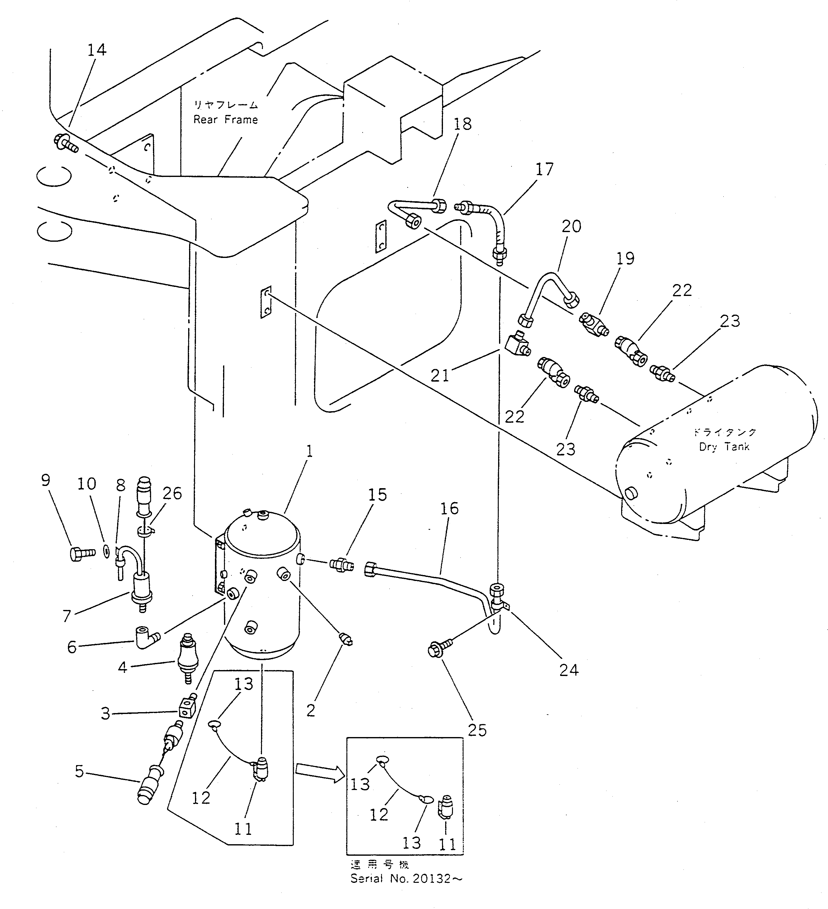
| ? | 421-35-13182 | TANK,WET AIR | 1 | SN: 20001- KIT-FLAG: _- SERIALNO: 20001- |
|||
| ? | 07042-70415 | PLUG | 1 | SN: 20001- KIT-FLAG: _- SERIALNO: 20001- |
|||
| ? | 426-35-11580 | JOINT | 1 | SN: 20001- KIT-FLAG: _- SERIALNO: 20001- |
|||
| ? | 421-35-12290 | VALVE,SAFETY | 1 | SN: 20001- KIT-FLAG: _- SERIALNO: 20001- |
|||
| ? | (7861-99-1500) | SENSOR,EMERGENCY BRAKE | 1 | SN: 10001- KIT-FLAG: _- SERIALNO: 10001- |
|||
| ? | 07323-B0100 | ELBOW | 1 | SN: 20001- KIT-FLAG: _- SERIALNO: 20001- |
|||
| ? | 7861-99-1400 | SENSOR,AIR GAUGE | 1 | SN: 10001- KIT-FLAG: _- SERIALNO: 10001- |
|||
| ? | 424-06-12730 | CLIP | 1 | SN: 20001- KIT-FLAG: _- SERIALNO: 20001- |
|||
| ? | 01010-51016 | BOLT | 1 | SN: 20001- KIT-FLAG: _- SERIALNO: 20001- |
|||
| ? | 01643-31032 | WASHER | 1 | SN: 20001- KIT-FLAG: _- SERIALNO: 20001- |
|||
| ? | 22X-44-11210 | VALVE | 1 | SN: 10920- KIT-FLAG: _- SERIALNO: 10920- |
|||
| ? | 421-35-14360 | WIRE | 1 | SN: 20001- KIT-FLAG: _- SERIALNO: 20001- |
|||
| ? | 421-35-14370 | RING | 2 | SN: 20142- KIT-FLAG: _- SERIALNO: 20142- |
|||
| ? | 421-35-14370 | RING | 1 | SN: 20001-10141 KIT-FLAG: _- SERIALNO: 20001-10141 |
|||
| ? | 01435-01225 | BOLT | 4 | SN: 20001- KIT-FLAG: _- SERIALNO: 20001- |
|||
| ? | 421-09-12560 | CONNECTOR | 1 | SN: 20001- KIT-FLAG: _- SERIALNO: 20001- |
|||
| ? | 421-35-12684 | TUBE | 1 | SN: 20001- KIT-FLAG: _- SERIALNO: 20001- |
|||
| ? | 421-35-14130 | HOSE | 1 | SN: 20001- KIT-FLAG: _- SERIALNO: 20001- |
|||
| ? | 421-35-12824 | TUBE | 1 | SN: 20001- KIT-FLAG: _- SERIALNO: 20001- |
|||
| ? | 421-09-12570 | TEE | 1 | SN: 20001- KIT-FLAG: _- SERIALNO: 20001- |
|||
| ? | 421-35-12824 | TUBE | 1 | SN: 20001- KIT-FLAG: _- SERIALNO: 20001- |
|||
| ? | 421-09-12550 | ELBOW | 1 | SN: 20001- KIT-FLAG: _- SERIALNO: 20001- |
|||
| ? | 421-35-12190 | VALVE,CHECK | 2 | SN: 20001- KIT-FLAG: _- SERIALNO: 20001- |
|||
| ? | 07325-30300 | NIPPLE | 2 | SN: 20001- KIT-FLAG: _- SERIALNO: 20001- |
|||
| ? | 08035-01510 | CLIP | 1 | SN: 20001- KIT-FLAG: _- SERIALNO: 20001- |
|||
| ? | 01435-01020 | BOLT | 1 | SN: 20001- KIT-FLAG: _- SERIALNO: 20001- |
|||
| ? | 08034-00414 | BAND | 1 | SN: 20001- KIT-FLAG: _- SERIALNO: 20001- |
