k-part
Номер на схеме Каталожный номер Название Количество Детали
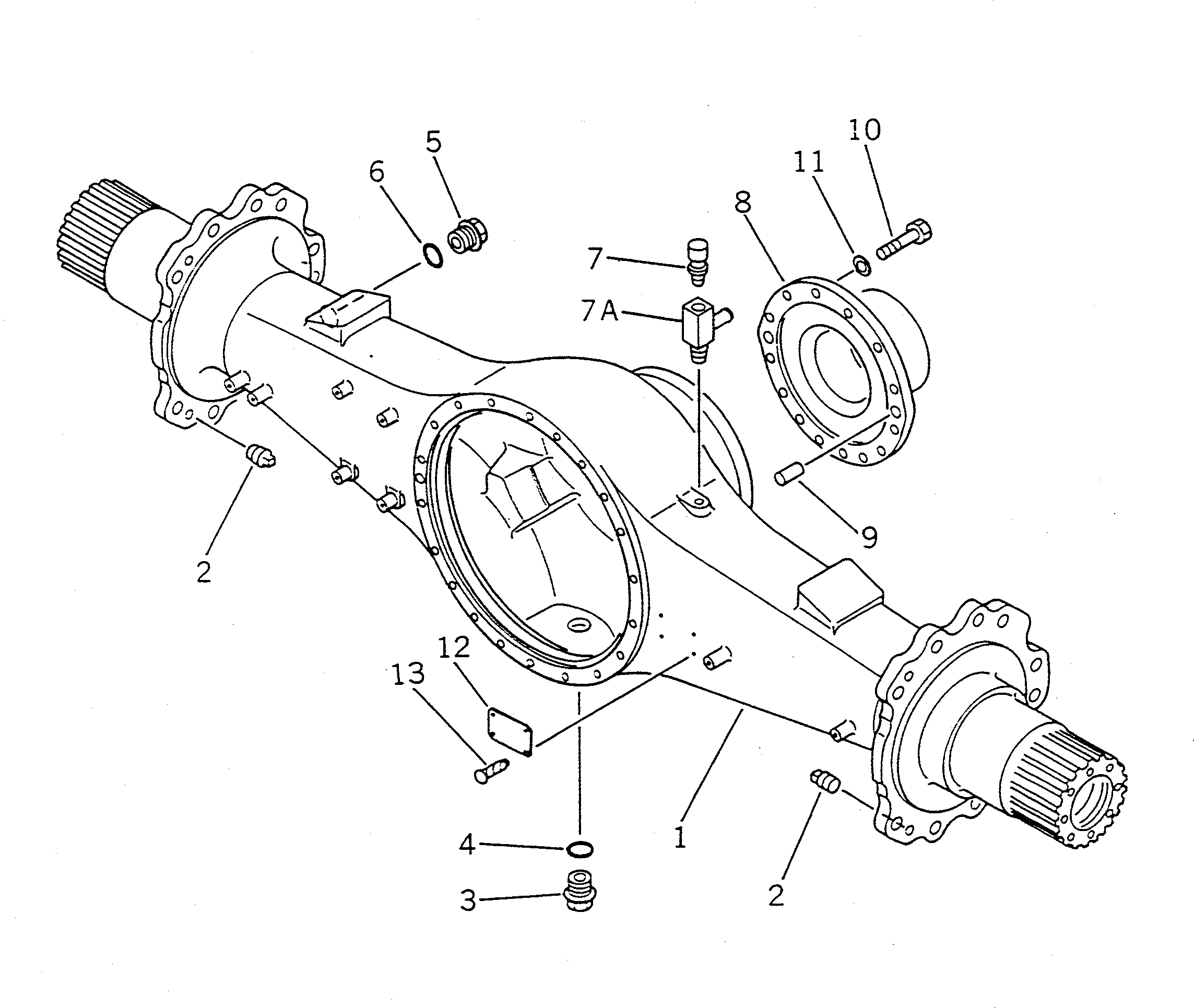
? 421-23-10013 AXLE ASS'Y 1
SN: 10928-19999
KIT-FLAG: _-
SERIALNO: 10928-19999
? □421-23-10012 AXLE ASS'Y 1
SN: 10616-10927
KIT-FLAG: _-
SERIALNO: 10616-10927
? □421-23-10011 AXLE ASS'Y 1
SN: 10001-10615
KIT-FLAG: _-
SERIALNO: 10001-10615
? 421-23-13013 • HOUSING ASS'Y 1
SN: 10241-19999
KIT-FLAG: _-
SERIALNO: 10241-19999
? □421-23-13012 • HOUSING ASS'Y 1
SN: 10001-10240
KIT-FLAG: _-
SERIALNO: 10001-10240
? 421-23-13104 • • HOUSING 1
SN: 10241-19999
KIT-FLAG: _-
SERIALNO: 10241-19999
? □421-23-13103 • • HOUSING 1
SN: 10001-10240
KIT-FLAG: _-
SERIALNO: 10001-10240
? 07042-20312 • • PLUG 4
SN: 10001-19999
KIT-FLAG: _-
SERIALNO: 10001-19999
? 07044-13620 • • PLUG 1
SN: 10001-@
KIT-FLAG: _-
SERIALNO: 10001-@
? 07002-03634 • • O-RING (K4) 1
SN: 10001-@
KIT-FLAG: _-
SERIALNO: 10001-@
? 566-16-11351 • • PLUG 1
SN: 10001-19999
KIT-FLAG: _-
SERIALNO: 10001-19999
? 07002-03634 • • O-RING (K4) 1
SN: 10001-19999
KIT-FLAG: _-
SERIALNO: 10001-19999
? 07030-01030 • • BREATHER 1
SN: 10001-@
KIT-FLAG: _-
SERIALNO: 10001-@
? 421-35-13290 • • TEE 1
SN: 10777-19999
KIT-FLAG: _-
SERIALNO: 10777-19999
? 424-23-13311 • • SUPPORT 1
SN: 10241-@
KIT-FLAG: _-
SERIALNO: 10241-@
? □424-23-13310 • • SUPPORT 1
SN: 10001-10240
KIT-FLAG: _-
SERIALNO: 10001-10240
? 04020-01842 • • PIN,DOWEL 2
SN: 10001-@
KIT-FLAG: _-
SERIALNO: 10001-@
? 01010-31445 • • BOLT 14
SN: 10001-19999
KIT-FLAG: _-
SERIALNO: 10001-19999
? 01643-31445 • • WASHER 14
SN: 10001-@
KIT-FLAG: _-
SERIALNO: 10001-@
? 22X-22-13171 • • PLATE, NAME,(LIMITED SUPPLY) 1
SN: 10001-@
KIT-FLAG: _-
SERIALNO: 10001-@
? 04418-03060 • • SCREW 4
SN: 10001-@
KIT-FLAG: _-
SERIALNO: 10001-@

Wheel Loaders Komatsu / WA450-1 S/N 10001-UP (Overseas Version)(wa450-1c) / REAR AXLE HOUSING(#10001-19999)(090170 : 3201)