| Номер на схеме | Каталожный номер | Название | Количество | Детали | |||
|---|---|---|---|---|---|---|---|
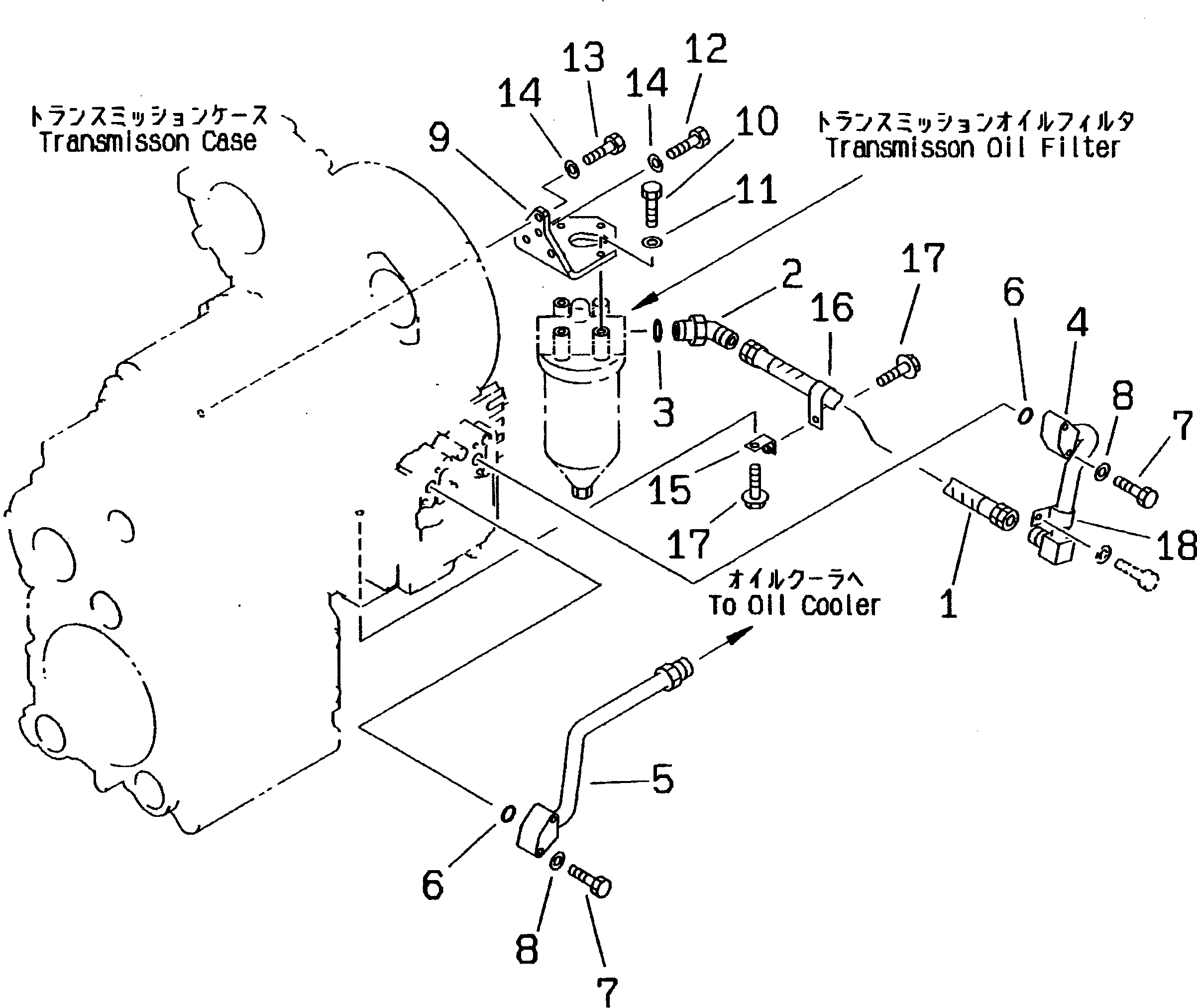
| ? | (714-12-10010) | TORQFLOW ASS'Y | 1 | SN: 50001- KIT-FLAG: _- SERIALNO: 50001- |
|||
| ? | THIS ASSEMBLY CONSISTS OF ALL PARTS SHOWN IN FIGS.2201 TO 2271. | SERIALNO: |
|||||
| ? | 714-12-18410 | • HOSE | 1 | SN: 50001- KIT-FLAG: _- SERIALNO: 50001- |
|||
| ? | 419-15-14670 | • ELBOW | 1 | SN: 50001- KIT-FLAG: _- SERIALNO: 50001- |
|||
| ? | 07002-03334 | • O-RING (K3) | 1 | SN: 50001- KIT-FLAG: _- SERIALNO: 50001- |
|||
| ? | 714-12-18170 | • TUBE | 1 | SN: 50001- KIT-FLAG: _- SERIALNO: 50001- |
|||
| ? | 714-12-18180 | • TUBE | 1 | SN: 50001- KIT-FLAG: _- SERIALNO: 50001- |
|||
| ? | 07000-73028 | • O-RING (K3) | 2 | SN: 50001- KIT-FLAG: _- SERIALNO: 50001- |
|||
| ? | 01010-81060 | • BOLT | 4 | SN: 50001- KIT-FLAG: _- SERIALNO: 50001- |
|||
| ? | 01643-31032 | • WASHER | 4 | SN: 50001- KIT-FLAG: _- SERIALNO: 50001- |
|||
| ? | 714-12-18751 | • SUPPORT | 1 | SN: 50001- KIT-FLAG: _- SERIALNO: 50001- |
|||
| ? | 01010-81035 | • BOLT | 4 | SN: 50001- KIT-FLAG: _- SERIALNO: 50001- |
|||
| ? | 01643-31032 | • WASHER | 4 | SN: 50001- KIT-FLAG: _- SERIALNO: 50001- |
|||
| ? | 01010-81235 | • BOLT | 1 | SN: 50001- KIT-FLAG: _- SERIALNO: 50001- |
|||
| ? | 01010-81280 | • BOLT | 2 | SN: 50001- KIT-FLAG: _- SERIALNO: 50001- |
|||
| ? | 01643-31232 | • WASHER | 3 | SN: 50001- KIT-FLAG: _- SERIALNO: 50001- |
|||
| ? | 714-12-18761 | • PLATE | 1 | SN: 50001- KIT-FLAG: _- SERIALNO: 50001- |
|||
| ? | 714-12-18450 | • CLAMP | 1 | SN: 50001- KIT-FLAG: _- SERIALNO: 50001- |
|||
| ? | 01435-01016 | • BOLT | 2 | SN: 50001- KIT-FLAG: _- SERIALNO: 50001- |
|||
| ? | 04434-52711 | • CLIP | 1 | SN: 50001- KIT-FLAG: _- SERIALNO: 50001- |
