| Номер на схеме | Каталожный номер | Название | Количество | Детали | |||
|---|---|---|---|---|---|---|---|
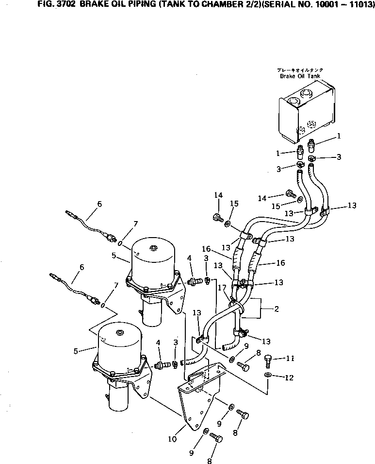
| ? | 6138-55-7610 | NIPPLE | 2 | SN: 10001-11013 KIT-FLAG: _- SERIALNO: 10001-11013 |
|||
| ? | 07261-20916 | HOSE | 2 | SN: 10001-11013 KIT-FLAG: _- SERIALNO: 10001-11013 |
|||
| ? | 07281-00197 | CLAMP | 4 | SN: 10001-@ KIT-FLAG: _- SERIALNO: 10001-@ |
|||
| ? | 175-04-25240 | SLEEVE | 2 | SN: 10001-@ KIT-FLAG: _- SERIALNO: 10001-@ |
|||
| ? | (424-35-15402) | BRAKE CHAMBER ASS'Y | 2 | SN: 10814-@ KIT-FLAG: _- SERIALNO: 10814-@ |
|||
| ? | ♦424-35-15401 | BRAKE CHAMBER ASS'Y | 2 | SN: 10001-10813 KIT-FLAG: _- SERIALNO: 10001-10813 |
|||
| ? | (7861-99-1600) | SENSOR,OVERSTROKE | 2 | SN: 10001-@ KIT-FLAG: _- SERIALNO: 10001-@ |
|||
| ? | 07002-02034 | O-RING | 2 | SN: 10001-@ KIT-FLAG: _- SERIALNO: 10001-@ |
|||
| ? | 01010-51235 | BOLT | 7 | SN: 10001-@ KIT-FLAG: _- SERIALNO: 10001-@ |
|||
| ? | 01643-31232 | WASHER | 7 | SN: 10001-@ KIT-FLAG: _- SERIALNO: 10001-@ |
|||
| ? | 424-35-15910 | BRACKET | 1 | SN: 10001-@ KIT-FLAG: _- SERIALNO: 10001-@ |
|||
| ? | 01010-51235 | BOLT | 3 | SN: 10001-@ KIT-FLAG: _- SERIALNO: 10001-@ |
|||
| ? | 01643-31232 | WASHER | 3 | SN: 10001-@ KIT-FLAG: _- SERIALNO: 10001-@ |
|||
| ? | 424-09-12410 | CLIP | 8 | SN: 10001-11013 KIT-FLAG: _- SERIALNO: 10001-11013 |
|||
| ? | 01010-51220 | BOLT | 4 | SN: 10001-11013 KIT-FLAG: _- SERIALNO: 10001-11013 |
|||
| ? | 01643-31232 | WASHER | 4 | SN: 10001-11013 KIT-FLAG: _- SERIALNO: 10001-11013 |
|||
| ? | 424-09-12630 | INSULATOR | 2 | SN: 10001-@ KIT-FLAG: _- SERIALNO: 10001-@ |
|||
| ? | 08034-00519 | BAND | 1 | SN: 10001-@ KIT-FLAG: _- SERIALNO: 10001-@ |
