| Номер на схеме | Каталожный номер | Название | Количество | Детали | |||
|---|---|---|---|---|---|---|---|
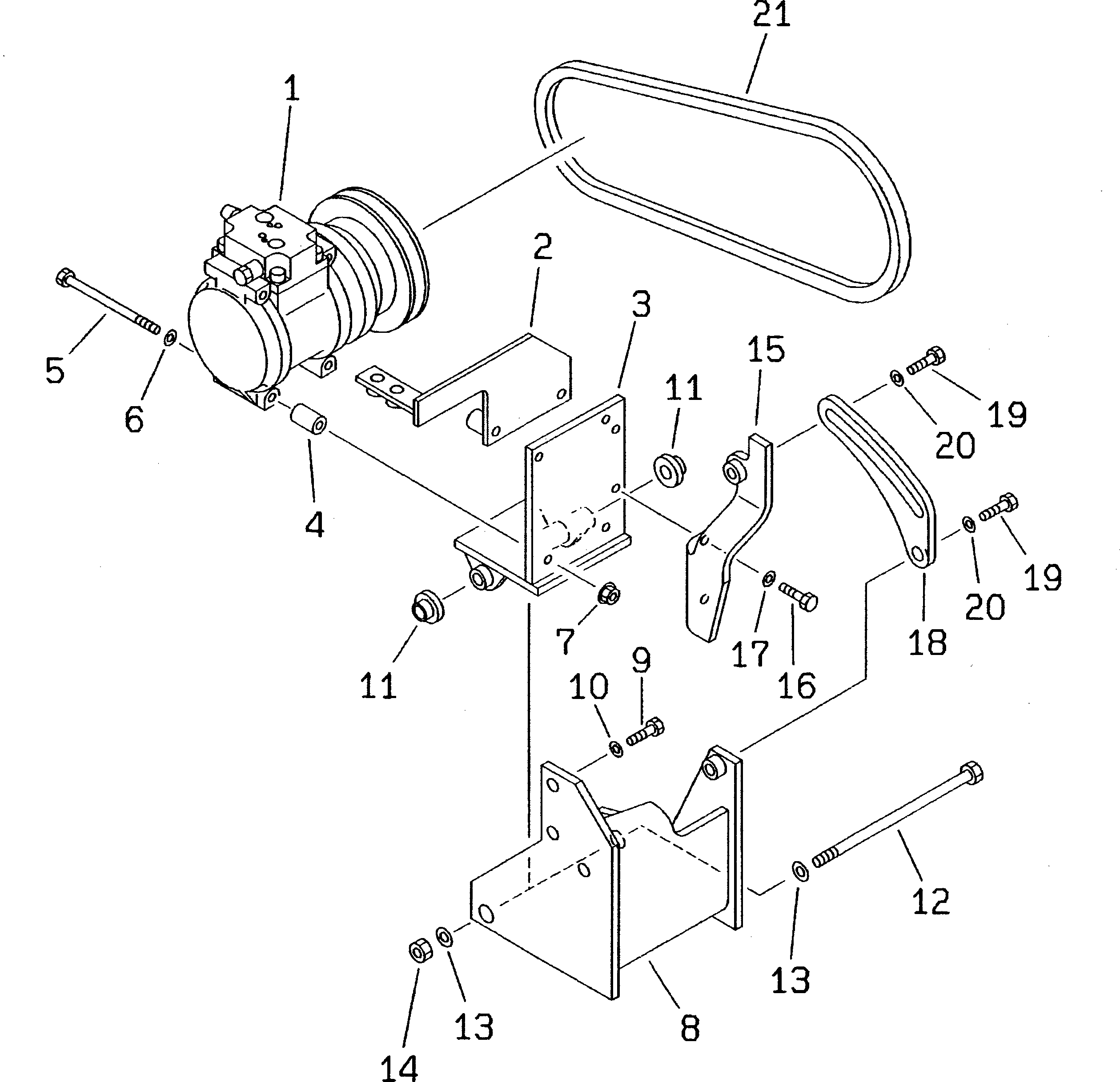
| ? | (20Y-979-3110) | AIR COMPRESSOR ASS'Y | 1 | SN: 50001- |
|||
| ? | 419-S62-2340 | BRACKET | 1 | SN: 50001- |
|||
| ? | 423-S62-2110 | BRACKET | 1 | SN: 50001- |
|||
| ? | 418-S62-2120 | SPACER | 4 | SN: 50001- |
|||
| ? | 6204-81-6810 | BOLT | 4 | SN: 50001- |
|||
| ? | 01643-30823 | WASHER | 4 | SN: 50001- |
|||
| ? | 01584-00806 | NUT | 4 | SN: 50001- |
|||
| ? | 423-S62-2120 | BRACKET | 1 | SN: 50001- |
|||
| ? | 01010-51245 | BOLT | 3 | SN: 50001- |
|||
| ? | 01643-31232 | WASHER | 3 | SN: 50001- |
|||
| ? | 419-07-11760 | COLLAR | 2 | SN: 50001- |
|||
| ? | 195-979-5720 | BOLT¤ 210MM | 1 | SN: 50001- |
|||
| ? | 01643-31232 | WASHER | 2 | SN: 50001- |
|||
| ? | 01580-11210 | NUT | 1 | SN: 50001- |
|||
| ? | 423-S62-2140 | PLATE | 1 | SN: 50001- |
|||
| ? | 01010-50830 | BOLT | 2 | SN: 50001- |
|||
| ? | 01643-30823 | WASHER | 2 | SN: 50001- |
|||
| ? | 423-963-1170 | PLATE,ADJUST | 1 | SN: 50001- |
|||
| ? | 01010-51235 | BOLT | 2 | SN: 50001- |
|||
| ? | 01643-31232 | WASHER | 2 | SN: 50001- |
|||
| ? | 04120-21747 | V-BELT | 1 | SN: 50001- |
