k-part
Номер на схеме Каталожный номер Название Количество Детали
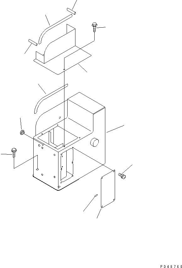
? 418-944-2110 BOX,CONSOLE 1
SN: 50001-
? 01435-01220 BOLT 3
SN: 50001-
? 418-944-2120 COVER,L.H. 1
SN: 50001-
? 01435-00612 BOLT 3
SN: 50001-
? 418-944-2140 FINISHER 2
SN: 50001-
? 418-944-2130 FINISHER 2
SN: 50001-
? 421-54-22920 PLATE 1
SN: 50001-
? 421-09-21420 SHEET 2
SN: 50001-
? 421-09-21410 SCREW 4
SN: 50001-
? 421-54-21850 PLUG 1
SN: 50001-

Wheel Loaders Komatsu / WA300-3A-XW S/N 50001-52999(wa300-2r) / L.H. CONSOLE BOX (WITH 2-PERSONS CAB)(#50001-)(120150 : 5143)
?
?
?
?
?
?
?
?
?
?
?
?