k-part
Номер на схеме Каталожный номер Название Количество Детали
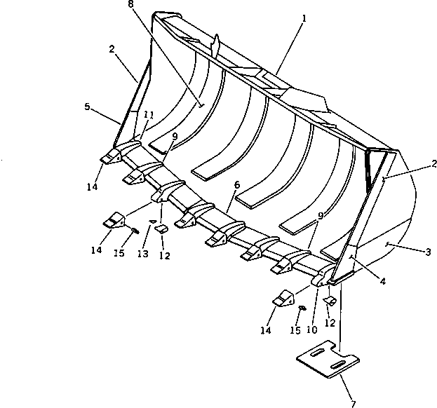
? 419-819-1180 BUCKET 1
SN: 10001-
KIT-FLAG: _-
SERIALNO: 10001-
? 419-819-1170 • BUCKET 1
SN: 10001-
KIT-FLAG: _-
SERIALNO: 10001-
? 419-819-1150 • • PLATE (WELDED) 2
SN: 10001-
KIT-FLAG: _-
SERIALNO: 10001-
? 419-819-1160 • • PLATE (WELDED) 2
SN: 10001-
KIT-FLAG: _-
SERIALNO: 10001-
? 419-819-1130 • • PLATE (WELDED) 1
SN: 10001-
KIT-FLAG: _-
SERIALNO: 10001-
? 419-819-1140 • • PLATE (WELDED) 1
SN: 10001-
KIT-FLAG: _-
SERIALNO: 10001-
? 419-819-1120 • • EDGE (WELDED) 1
SN: 10001-
KIT-FLAG: _-
SERIALNO: 10001-
? 419-70-12141 • • PLATE (WELDED) 2
SN: 10001-
KIT-FLAG: _-
SERIALNO: 10001-
? 419-819-1230 • • PLATE (WELDED) 5
SN: 10001-
KIT-FLAG: _-
SERIALNO: 10001-
? 419-847-1210 • ADAPTER (WELDED) 6
SN: 10001-
KIT-FLAG: _-
SERIALNO: 10001-
? 419-847-1220 • ADAPTER (WELDED) 1
SN: 10001-
KIT-FLAG: _-
SERIALNO: 10001-
? 419-847-1230 • ADAPTER (WELDED) 1
SN: 10001-
KIT-FLAG: _-
SERIALNO: 10001-
? 419-847-1240 • PLATE 8
SN: 10001-
KIT-FLAG: _-
SERIALNO: 10001-
? 419-847-1250 • PLATE 4
SN: 10001-
KIT-FLAG: _-
SERIALNO: 10001-
? 202-70-12130 TOOTH 8
SN: 10001-
KIT-FLAG: _-
SERIALNO: 10001-
? 09244-02496 PIN 8
SN: 10001-
KIT-FLAG: _-
SERIALNO: 10001-

Wheel Loaders Komatsu / WA320-1 S/N 10001-UP (For C.I.S. -30cent. Spec.)(wa320-0c) / ROCK BUCKET ? SPADE NOSE EDGE (WITH TOOTH)(210070 : 7292)