| Номер на схеме | Каталожный номер | Название | Количество | Детали | |||
|---|---|---|---|---|---|---|---|
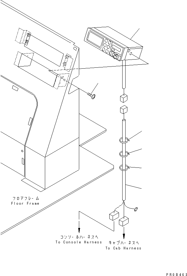
| ? | 22T-05-15810 | CAR RADIO,(WITHIN SPEAKER) | 1 | SN: 50001- KIT-FLAG: _- SERIALNO: 50001- |
|||
| ? | 01023-70514 | SCREW | 4 | SN: 50001- KIT-FLAG: _- SERIALNO: 50001- |
|||
| ? | 419-07-24110 | WIRING HARNESS | 1 | SN: 50001- KIT-FLAG: _- SERIALNO: 50001- |
|||
| ? | 08034-20519 | BAND | 3 | SN: 50001- KIT-FLAG: _- SERIALNO: 50001- |