| Номер на схеме | Каталожный номер | Название | Количество | Детали | |||
|---|---|---|---|---|---|---|---|
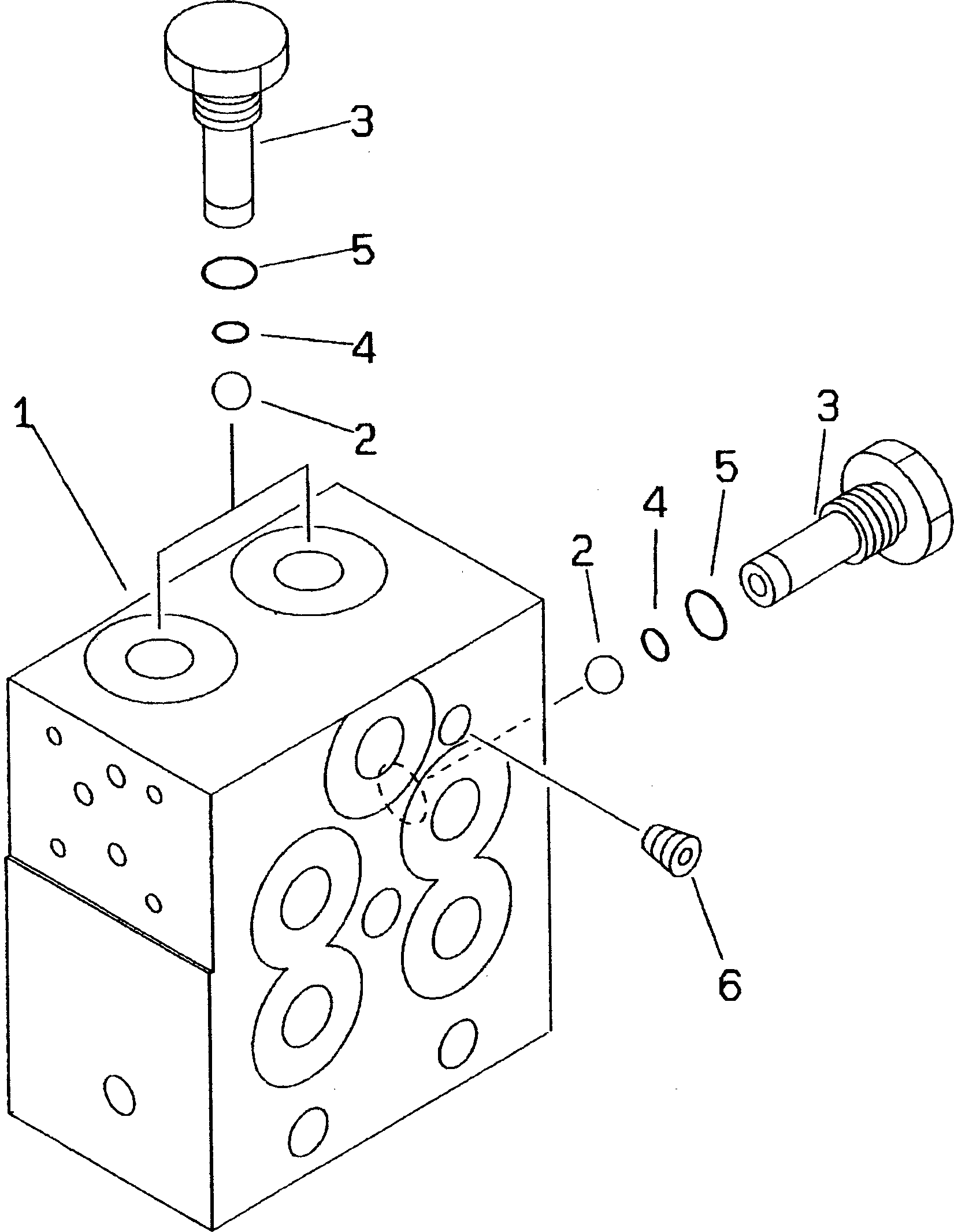
| ? | 421-S30-2100 | VALVE ASS'Y | 1 | SN: 50001- KIT-FLAG: _- SERIALNO: 50001- |
|||
| ? | ☆ | • BODY | 1 | SN: 50001- KIT-FLAG: _- SERIALNO: 50001- |
|||
| ? | 04260-00952 | • BALL | 3 | SN: 50001- KIT-FLAG: _- SERIALNO: 50001- |
|||
| ? | 421-S30-2510 | • PLUG | 3 | SN: 50001- KIT-FLAG: _- SERIALNO: 50001- |
|||
| ? | 07000-01007 | • O-RING | 3 | SN: 50001- KIT-FLAG: _- SERIALNO: 50001- |
|||
| ? | 07002-01423 | • O-RING | 3 | SN: 50001- KIT-FLAG: _- SERIALNO: 50001- |
|||
| ? | 07043-70108 | • PLUG | 2 | SN: 50001- KIT-FLAG: _- SERIALNO: 50001- |
