| Номер на схеме | Каталожный номер | Название | Количество | Детали | |||
|---|---|---|---|---|---|---|---|
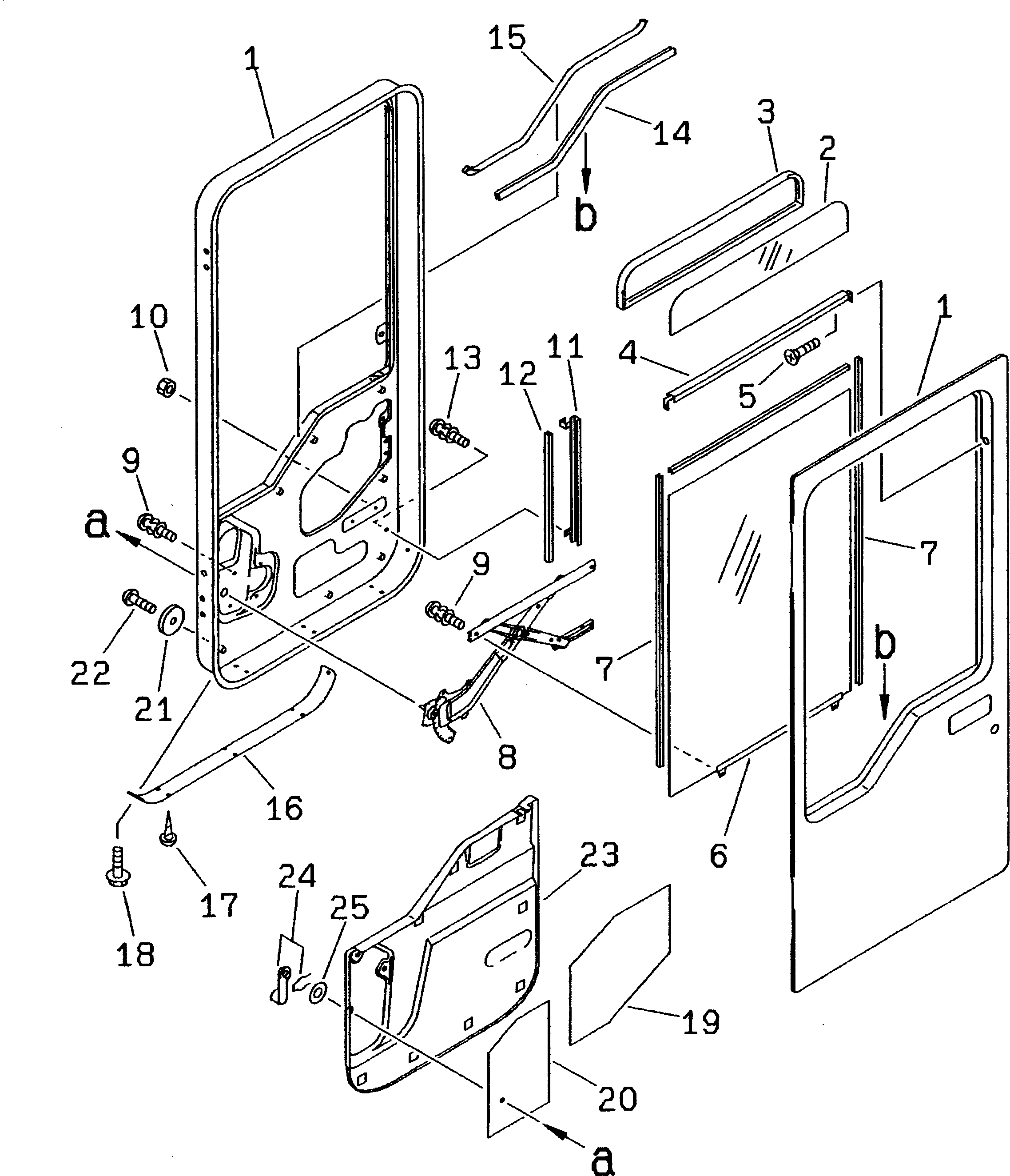
| ? | (421-56-21010) | CAB ASS'Y | 1 | SN: 50001- KIT-FLAG: _- SERIALNO: 50001- |
|||
| ? | THIS ASSEMBLY CONSISTS OF ALL PARTS SHOWN IN FIGS.5501A TO 5509. | SERIALNO: |
|||||
| ? | 421-56-21700 | • DOOR ASS'Y,L.H. | 1 | SN: 50001- KIT-FLAG: _- SERIALNO: 50001- |
|||
| ? | 421-56-21800 | • DOOR ASS'Y,R.H. | 1 | SN: 50001- KIT-FLAG: _- SERIALNO: 50001- |
|||
| ? | THESE ASSEMBLIES CONSIST OF ALL PARTS SHOWN IN FIGS.5506 TO 5508. | SERIALNO: |
|||||
| ? | 421-56-21710 | • • DOOR,L.H. | 1 | SN: 50001- KIT-FLAG: _- SERIALNO: 50001- |
|||
| ? | 421-56-21810 | • • DOOR,R.H. | 1 | SN: 50001- KIT-FLAG: _- SERIALNO: 50001- |
|||
| ? | 423-56-21480 | • • GLASS | 1 | SN: 50001- KIT-FLAG: _- SERIALNO: 50001- |
|||
| ? | 423-56-21540 | • • STRIP,WEATHER | 1 | SN: 50001- KIT-FLAG: _- SERIALNO: 50001- |
|||
| ? | 423-56-21410 | • • BAR | 1 | SN: 50001- KIT-FLAG: _- SERIALNO: 50001- |
|||
| ? | 01224-40406 | • • SCREW | 2 | SN: 50001- KIT-FLAG: _- SERIALNO: 50001- |
|||
| ? | 423-56-21430 | • • GLASS ASS'Y,L.H. | 1 | SN: 50001- KIT-FLAG: _- SERIALNO: 50001- |
|||
| ? | 423-56-21440 | • • GLASS ASS'Y,R.H. | 1 | SN: 50001- KIT-FLAG: _- SERIALNO: 50001- |
|||
| ? | 423-56-21450 | • • • GLASS | 1 | SN: 50001- KIT-FLAG: _- SERIALNO: 50001- |
|||
| ? | 423-56-21460 | • • • HOLDER | 1 | SN: 50001- KIT-FLAG: _- SERIALNO: 50001- |
|||
| ? | 423-56-21470 | • • • SHEET | 1 | SN: 50001- KIT-FLAG: _- SERIALNO: 50001- |
|||
| ? | 423-56-21510 | • • SEAL | 1 | SN: 50001- KIT-FLAG: _- SERIALNO: 50001- |
|||
| ? | 423-56-21570 | • • REGULATOR,L.H. | 1 | SN: 50001- KIT-FLAG: _- SERIALNO: 50001- |
|||
| ? | 423-56-21580 | • • REGULATOR,R.H. | 1 | SN: 50001- KIT-FLAG: _- SERIALNO: 50001- |
|||
| ? | 01023-60612 | • • SCREW | 6 | SN: 50001- KIT-FLAG: _- SERIALNO: 50001- |
|||
| ? | 01584-00605 | • • NUT | 2 | SN: 50001- KIT-FLAG: _- SERIALNO: 50001- |
|||
| ? | 423-56-21550 | • • RAIL,L.H. | 1 | SN: 50001- KIT-FLAG: _- SERIALNO: 50001- |
|||
| ? | 423-56-21560 | • • RAIL,R.H. | 1 | SN: 50001- KIT-FLAG: _- SERIALNO: 50001- |
|||
| ? | 423-56-21610 | • • SEAL | 1 | SN: 50001- KIT-FLAG: _- SERIALNO: 50001- |
|||
| ? | 01023-60612 | • • SCREW | 2 | SN: 50001- KIT-FLAG: _- SERIALNO: 50001- |
|||
| ? | 423-56-21520 | • • SEAL,OUTER | 1 | SN: 50001- KIT-FLAG: _- SERIALNO: 50001- |
|||
| ? | 423-56-21530 | • • SEAL,INNER | 1 | SN: 50001- KIT-FLAG: _- SERIALNO: 50001- |
|||
| ? | 423-56-21420 | • • COVER | 1 | SN: 50001- KIT-FLAG: _- SERIALNO: 50001- |
|||
| ? | 01370-00508 | • • SCREW | 7 | SN: 50001- KIT-FLAG: _- SERIALNO: 50001- |
|||
| ? | 01435-00610 | • • BOLT | 1 | SN: 50001- KIT-FLAG: _- SERIALNO: 50001- |
|||
| ? | 423-56-21810 | • • COVER | 1 | SN: 50001- KIT-FLAG: _- SERIALNO: 50001- |
|||
| ? | 423-56-21820 | • • COVER | 1 | SN: 50001- KIT-FLAG: _- SERIALNO: 50001- |
|||
| ? | 421-56-21470 | • • FASTENER | 8 | SN: 50001- KIT-FLAG: _- SERIALNO: 50001- |
|||
| ? | 01220-40408 | • • SCREW | 8 | SN: 50001- KIT-FLAG: _- SERIALNO: 50001- |
|||
| ? | 421-56-21430 | • • PAD,L.H. | 1 | SN: 50001- KIT-FLAG: _- SERIALNO: 50001- |
|||
| ? | 421-56-21440 | • • PAD,R.H. | 1 | SN: 50001- KIT-FLAG: _- SERIALNO: 50001- |
|||
| ? | 421-56-21460 | • • • FASTENER | 8 | SN: 50001- KIT-FLAG: _- SERIALNO: 50001- |
|||
| ? | 421-56-21490 | • • • SEAL | 1 | SN: 50001- KIT-FLAG: _- SERIALNO: 50001- |
|||
| ? | 423-56-21590 | • • HANDLE | 1 | SN: 50001- KIT-FLAG: _- SERIALNO: 50001- |
|||
| ? | 22T-55-12140 | • • ESCUTCHEON | 1 | SN: 50001- KIT-FLAG: _- SERIALNO: 50001- |
