| Номер на схеме | Каталожный номер | Название | Количество | Детали | |||
|---|---|---|---|---|---|---|---|
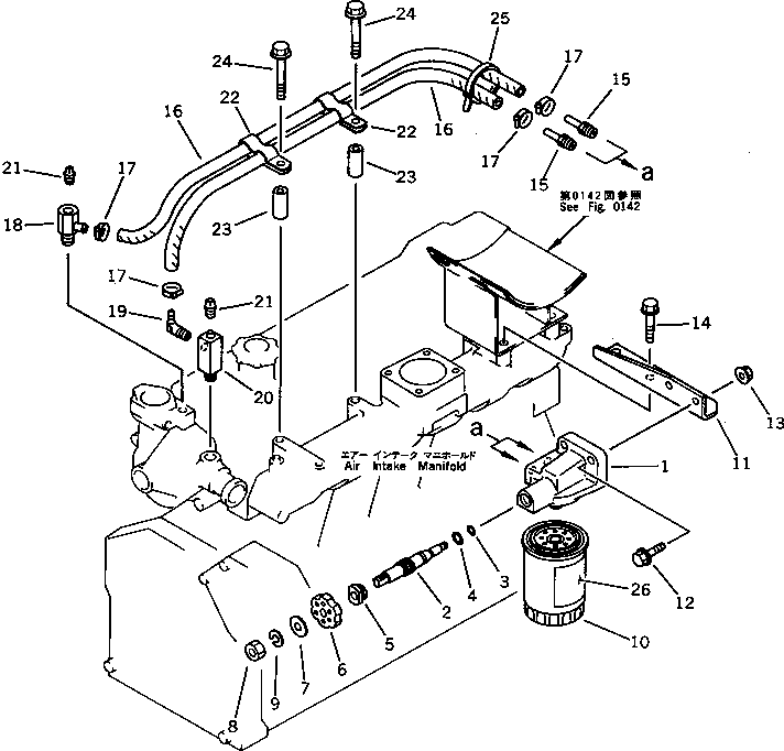
| ? | 600-411-1920 | RESISTOR ASS'Y,CORROSION | 1 | SN: 10001-@ KIT-FLAG: _- SERIALNO: 10001-@ |
|||
| ? | 600-411-1511 | • HEAD ASS'Y | 1 | SN: 10001-@ KIT-FLAG: _- SERIALNO: 10001-@ |
|||
| ? | 600-411-1521 | • • HEAD | 1 | SN: 10001-@ KIT-FLAG: _- SERIALNO: 10001-@ |
|||
| ? | 600-411-1231 | • • VALVE | 1 | SN: 10001-@ KIT-FLAG: _- SERIALNO: 10001-@ |
|||
| ? | 07000-01006 | • • O-RING | 1 | SN: 10001-@ KIT-FLAG: _- SERIALNO: 10001-@ |
|||
| ? | 07000-02014 | • • O-RING | 1 | SN: 10001-@ KIT-FLAG: _- SERIALNO: 10001-@ |
|||
| ? | 600-411-1250 | • • COVER | 1 | SN: 10001-@ KIT-FLAG: _- SERIALNO: 10001-@ |
|||
| ? | 600-411-1240 | • • HANDLE | 1 | SN: 10001-@ KIT-FLAG: _- SERIALNO: 10001-@ |
|||
| ? | 600-411-1260 | • • PLATE | 1 | SN: 10001-@ KIT-FLAG: _- SERIALNO: 10001-@ |
|||
| ? | 600-411-1280 | • • NUT | 1 | SN: 10001-@ KIT-FLAG: _- SERIALNO: 10001-@ |
|||
| ? | 600-411-1290 | • • WASHER,SPRING | 1 | SN: 10001-@ KIT-FLAG: _- SERIALNO: 10001-@ |
|||
| ? | 600-411-1010 | • CARTRIDGE | 1 | SN: 10001-@ KIT-FLAG: _- SERIALNO: 10001-@ |
|||
| ? | 6206-61-8110 | BRACKET | 1 | SN: 10001-@ KIT-FLAG: _- SERIALNO: 10001-@ |
|||
| ? | 01435-21040 | BOLT | 2 | SN: 10001-@ KIT-FLAG: _- SERIALNO: 10001-@ |
|||
| ? | 01584-21008 | NUT | 2 | SN: 10001-@ KIT-FLAG: _- SERIALNO: 10001-@ |
|||
| ? | 01435-21065 | BOLT | 4 | SN: 10001-27355 KIT-FLAG: _- SERIALNO: 10001-27355 |
|||
| ? | 113-04-32130 | NIPPLE | 2 | SN: 10001-@ KIT-FLAG: _- SERIALNO: 10001-@ |
|||
| ? | 07260-20980 | HOSE | 2 | SN: 10001-@ KIT-FLAG: _- SERIALNO: 10001-@ |
|||
| ? | 07281-00197 | CLAMP | 4 | SN: 10001-@ KIT-FLAG: _- SERIALNO: 10001-@ |
|||
| ? | 6206-61-8620 | TEE | 1 | SN: 10001-@ KIT-FLAG: _- SERIALNO: 10001-@ |
|||
| ? | 6127-61-8230 | CONNECTOR | 1 | SN: 10001-@ KIT-FLAG: _- SERIALNO: 10001-@ |
|||
| ? | 6136-61-8670 | NIPPLE | 1 | SN: 10001-@ KIT-FLAG: _- SERIALNO: 10001-@ |
|||
| ? | (07042-00312) | PLUG | 2 | SN: 10001-@ KIT-FLAG: _- SERIALNO: 10001-@ |
|||
| ? | 6128-71-5911 | CLIP | 2 | SN: 10001-@ KIT-FLAG: _- SERIALNO: 10001-@ |
|||
| ? | 6136-11-5120 | SPACER | 2 | SN: 13853-@ KIT-FLAG: _- SERIALNO: 13853-@ |
|||
| ? | 6143-11-4290 | SPACER | 2 | SN: 10001-13852 KIT-FLAG: _- SERIALNO: 10001-13852 |
|||
| ? | 01435-21085 | BOLT | 2 | SN: 13853-@ KIT-FLAG: _- SERIALNO: 13853-@ |
|||
| ? | 01435-01095 | BOLT | 2 | SN: 10001-13852 KIT-FLAG: _- SERIALNO: 10001-13852 |
|||
| ? | 08034-00519 | BAND | 1 | SN: 10001-@ KIT-FLAG: _- SERIALNO: 10001-@ |
|||
| ? | 6134-61-8810 | PLATE, INSTRUCTION,(JAPANESE-ENGLISH) | 1 | SN: 10001-@ KIT-FLAG: _- SERIALNO: 10001-@ |
|||
| ? | 09647-81102 | PLATE, INSTRUCTION,(GERMAN-ENGLISH) | 1 | SN: 10001-@ KIT-FLAG: _- SERIALNO: 10001-@ |
