| Номер на схеме | Каталожный номер | Название | Количество | Детали | |||
|---|---|---|---|---|---|---|---|
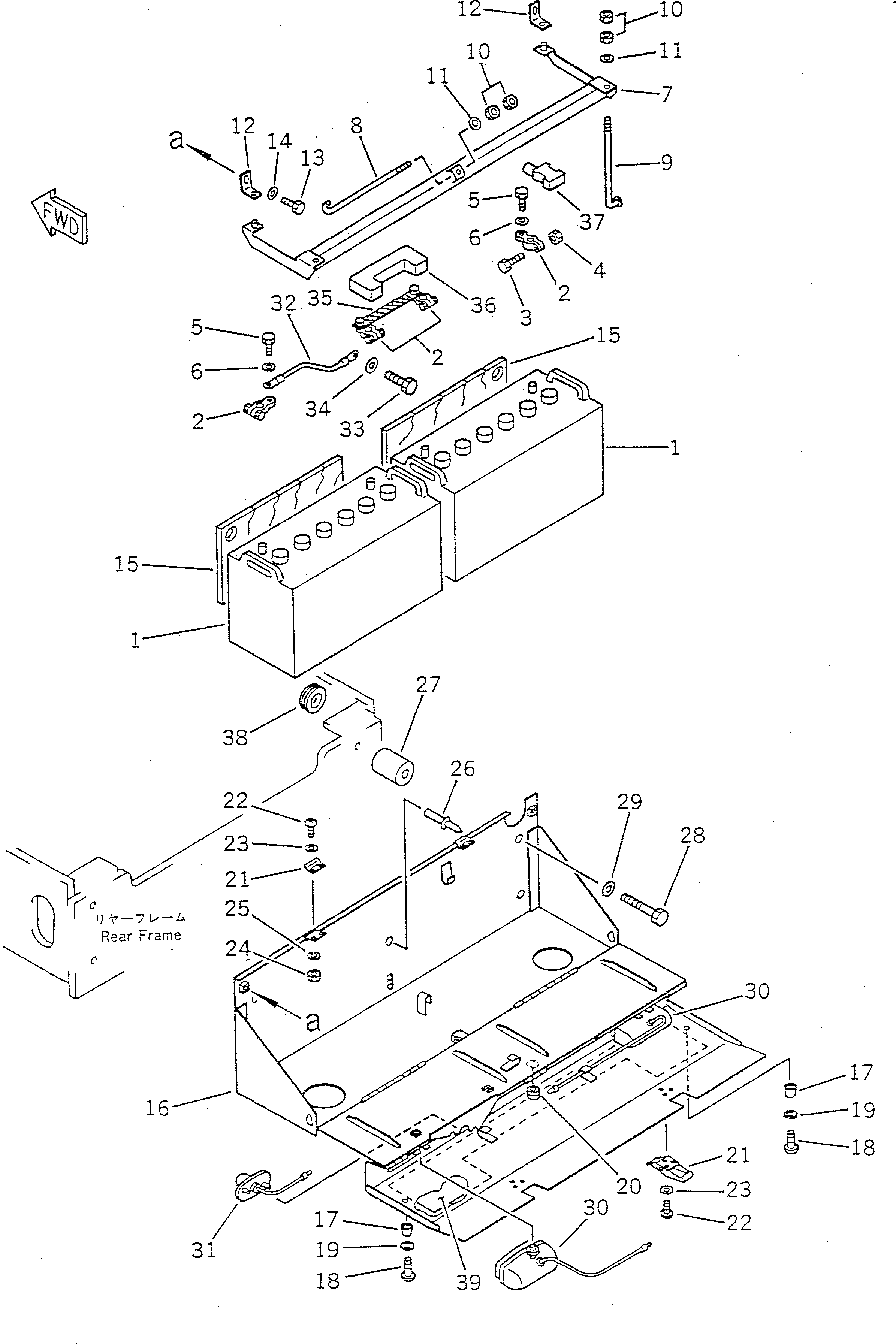
| ? | 08000-32212 | BATTERY (115E41R) | 2 | SN: 10001-@ |
|||
| ? | 08000-42212 | BATTERY (115E41R),(DRY TYPE) | 2 | SN: 10001-@ |
|||
| ? | 416-Z91-1110 | BATTERY¤ 12V 110AH,(FOR COLD WEATHER) | 2 | SN: 10001-@ |
|||
| ? | 08000-00000 | TERMINAL¤ (+) | 2 | SN: 10001-@ |
|||
| ? | 08000-00001 | TERMINAL¤ (-) | 2 | SN: 10001-@ |
|||
| ? | 01010-30830 | • BOLT | 1 | SN: 10001-@ |
|||
| ? | 01580-00806 | • NUT | 1 | SN: 10001-@ |
|||
| ? | 01050-31018 | • BOLT | 1 | SN: 10001-@ |
|||
| ? | 01640-01016 | • WASHER | 1 | SN: 10001-@ |
|||
| ? | 416-06-11120 | HOLDER | 1 | SN: 10001-19999 |
|||
| ? | 417-06-11122 | ROD | 1 | SN: 10001-19999 |
|||
| ? | 417-06-11151 | ROD | 2 | SN: 10001-19999 |
|||
| ? | 01580-10806 | NUT | 6 | SN: 10001-19999 |
|||
| ? | 01643-30823 | WASHER | 3 | SN: 10001-19999 |
|||
| ? | 416-06-11140 | PLATE | 2 | SN: 10001-19999 |
|||
| ? | 01010-50820 | BOLT | 2 | SN: 10001-19999 |
|||
| ? | 01643-50823 | WASHER | 2 | SN: 10001-19999 |
|||
| ? | 417-06-11162 | SPACER | 2 | SN: 10001-19999 |
|||
| ? | 417-06-11184 | BOX | 1 | SN: 10001-19999 |
|||
| ? | 425-54-12590 | STOPPER | 2 | SN: 10001-@ |
|||
| ? | 01220-40416 | SCREW | 2 | SN: 10001-@ |
|||
| ? | 01641-20405 | WASHER | 2 | SN: 10001-@ |
|||
| ? | 416-06-11150 | CAP | 1 | SN: 10001-@ |
|||
| ? | 421-09-12320 | HOLDER | 2 | SN: 10001-19999 |
|||
| ? | 01220-40410 | SCREW | 10 | SN: 10001-@ |
|||
| ? | 01641-20405 | WASHER | 10 | SN: 10001-@ |
|||
| ? | 01580-10403 | NUT | 4 | SN: 10001-@ |
|||
| ? | 01601-20410 | WASHER,SPRING | 4 | SN: 10001-@ |
|||
| ? | 416-06-11160 | RIVET | 1 | SN: 10001-19999 |
|||
| ? | 417-06-11270 | SPACER | 2 | SN: 10001-19999 |
|||
| ? | 01010-31290 | BOLT | 4 | SN: 10001-19999 |
|||
| ? | 01643-31232 | WASHER | 4 | SN: 10001-19999 |
|||
| ? | 417-06-13122 | LAMP,BACK | 2 | SN: .-@ |
|||
| ? | □417-06-13121 | LAMP,BACK | 2 | SN: 10001-. |
|||
| ? | 417-06-13131 | • LENS | 1 | SN: .-@ |
|||
| ? | □417-06-13130 | • LENS | 1 | SN: 10001-. |
|||
| ? | 08110-12410 | • BULB¤ 12W | 1 | SN: .-@ |
|||
| ? | □08105-12420 | • BULB¤ 25W | 1 | SN: 10001-. |
|||
| ? | 08137-32400 | LAMP ASS'Y,LICENSE | 1 | SN: 10001-@ |
|||
| ? | 08110-12410 | • BULB¤ 12W | 1 | SN: 10001-@ |
|||
| ? | 417-06-12120 | WIRE | 1 | SN: 10001-19999 |
|||
| ? | 01010-31020 | BOLT | 1 | SN: 10001-@ |
|||
| ? | 01605-11023 | WASHER | 1 | SN: 10001-@ |
|||
| ? | 417-06-12110 | WIRE | 1 | SN: 10001-19999 |
|||
| ? | 417-06-12131 | CAP | 1 | SN: 10001-19999 |
|||
| ? | 08038-22009 | CAP | 1 | SN: 10001-@ |
|||
| ? | 08037-03614 | GROMMET | 1 | SN: 10001-19999 |
|||
| ? | 417-06-11320 | PLATE | 1 | SN: 10001-19999 |
