| Номер на схеме | Каталожный номер | Название | Количество | Детали | |||
|---|---|---|---|---|---|---|---|
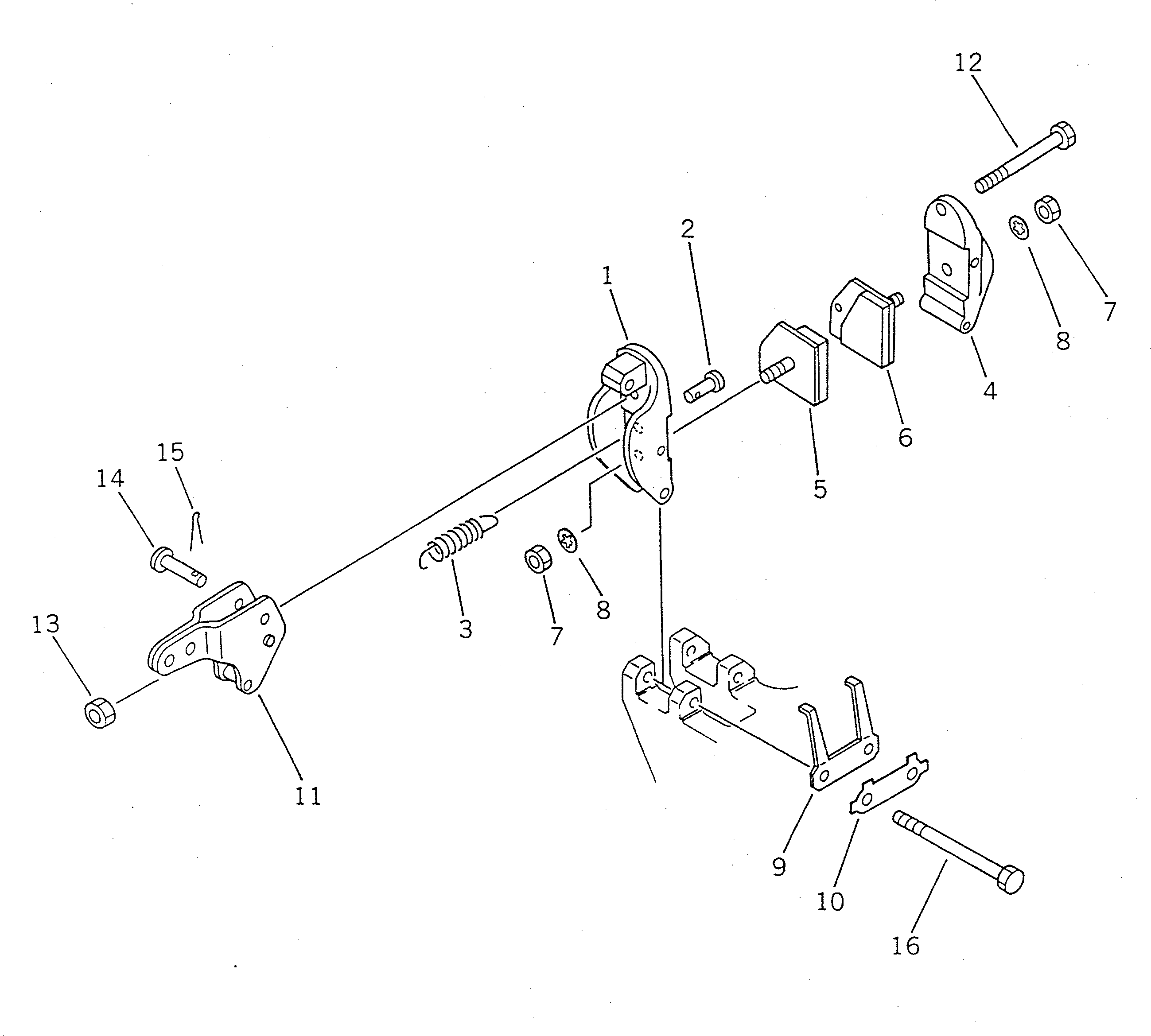
| ? | 419-43-15101 | CALIPER ASS'Y | 1 | SN: 10001- KIT-FLAG: _- SERIALNO: 10001- |
|||
| ? | ☆ | • CARRIER,INNER | 1 | SN: 10001- KIT-FLAG: _- SERIALNO: 10001- |
|||
| ? | 423-43-15770 | • ANCHOR | 1 | SN: 10001- KIT-FLAG: _- SERIALNO: 10001- |
|||
| ? | 423-43-15760 | • SPRING | 1 | SN: 10001- KIT-FLAG: _- SERIALNO: 10001- |
|||
| ? | ☆ | • CARRIER,OUTER | 1 | SN: 10001- KIT-FLAG: _- SERIALNO: 10001- |
|||
| ? | 419-43-05110 | • BRAKE PAD ASS'Y | 1 | SN: 10001- KIT-FLAG: _- SERIALNO: 10001- |
|||
| ? | ☆ | • • PAD | 1 | SN: 10001- KIT-FLAG: _- SERIALNO: 10001- |
|||
| ? | ☆ | • • PAD | 1 | SN: 10001- KIT-FLAG: _- SERIALNO: 10001- |
|||
| ? | ☆ | • • NUT | 2 | SN: 10001- KIT-FLAG: _- SERIALNO: 10001- |
|||
| ? | ☆ | • • WASHER | 2 | SN: 10001- KIT-FLAG: _- SERIALNO: 10001- |
|||
| ? | ☆ | • • PLATE,RETRACTION | 1 | SN: 10001- KIT-FLAG: _- SERIALNO: 10001- |
|||
| ? | ☆ | • • WASHER | 1 | SN: 10001- KIT-FLAG: _- SERIALNO: 10001- |
|||
| ? | 423-43-15720 | • LEVER ASS'Y | 1 | SN: 10001- KIT-FLAG: _- SERIALNO: 10001- |
|||
| ? | 423-43-15730 | • BOLT,ADJUST | 1 | SN: 10001- KIT-FLAG: _- SERIALNO: 10001- |
|||
| ? | 423-43-15740 | • NUT | 1 | SN: 10001- KIT-FLAG: _- SERIALNO: 10001- |
|||
| ? | 423-43-15750 | • PIN | 1 | SN: 10001- KIT-FLAG: _- SERIALNO: 10001- |
|||
| ? | 04050-01610 | • PIN,COTTER | 1 | SN: 10001- KIT-FLAG: _- SERIALNO: 10001- |
|||
| ? | 423-43-15710 | • BOLT | 2 | SN: 10001- KIT-FLAG: _- SERIALNO: 10001- |
