| Номер на схеме | Каталожный номер | Название | Количество | Детали | |||
|---|---|---|---|---|---|---|---|
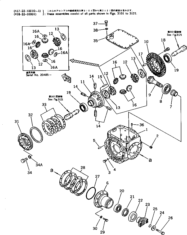
| ? | (417-22-10011) | AXLE ASS'Y | 1 | SN: 20485- KIT-FLAG: _- SERIALNO: 20485- |
|||
| ? | (□417-22-10010) | AXLE ASS'Y | 1 | SN: 20001-20484 KIT-FLAG: _- SERIALNO: 20001-20484 |
|||
| ? | (418-22-10001) | AXLE ASS'Y | 1 | SN: 10001-19999 KIT-FLAG: _- SERIALNO: 10001-19999 |
|||
| ? | 417-22-11031 | • DIFFERENTIAL ASS'Y,FRONT | 1 | SN: 20485- KIT-FLAG: _- SERIALNO: 20485- |
|||
| ? | 417-22-11030 | • DIFFERENTIAL ASS'Y,FRONT | 1 | SN: 20001-20484 KIT-FLAG: _- SERIALNO: 20001-20484 |
|||
| ? | 418-22-11021 | • DIFFERENTIAL ASS'Y,FRONT | 1 | SN: 10001-19999 KIT-FLAG: _- SERIALNO: 10001-19999 |
|||
| ? | 418-22-13112 | • • HOUSING | 1 | SN: 20001- KIT-FLAG: _- SERIALNO: 20001- |
|||
| ? | ▩418-22-13111 | • • HOUSING | 1 | SN: 10001-19999 KIT-FLAG: _- SERIALNO: 10001-19999 |
|||
| ? | (418-22-13112,418-22-11132, | SERIALNO: |
|||||
| ? | 01010-61235(8),01643-31232(8)) | SERIALNO: |
|||||
| ? | 07043-50211 | • • PLUG | 2 | SN: 10001- KIT-FLAG: _- SERIALNO: 10001- |
|||
| ? | 07040-11209 | • • PLUG | 2 | SN: 10001- KIT-FLAG: _- SERIALNO: 10001- |
|||
| ? | 07002-01223 | • • O-RING | 2 | SN: 10001- KIT-FLAG: _- SERIALNO: 10001- |
|||
| ? | 04020-01228 | • • PIN,DOWEL | 4 | SN: 10001- KIT-FLAG: _- SERIALNO: 10001- |
|||
| ? | 418-22-11132 | • • CAGE | 1 | SN: 20001- KIT-FLAG: _- SERIALNO: 20001- |
|||
| ? | ▩418-22-11131 | • • CAGE | 1 | SN: 10001-19999 KIT-FLAG: _- SERIALNO: 10001-19999 |
|||
| ? | (418-22-11132,418-22-13112, | SERIALNO: |
|||||
| ? | 01010-61235(8),01643-31232(8)) | SERIALNO: |
|||||
| ? | 418-22-11861 | • • SPACER | 1 | SN: 10001- KIT-FLAG: _- SERIALNO: 10001- |
|||
| ? | 418-22-11810 | • • BEARING | 1 | SN: 10001- KIT-FLAG: _- SERIALNO: 10001- |
|||
| ? | 418-22-11202 | • • PINION ASS'Y | 1 | SN: 20485- KIT-FLAG: _- SERIALNO: 20485- |
|||
| ? | 418-22-11201 | • • PINION ASS'Y | 1 | SN: 20001-20484 KIT-FLAG: _- SERIALNO: 20001-20484 |
|||
| ? | ▩418-22-11200 | • • PINION ASS'Y | 1 | SN: 10001-19999 KIT-FLAG: _- SERIALNO: 10001-19999 |
|||
| ? | (418-22-11201,418-22-11512) | SERIALNO: |
|||||
| ? | ☆ | • • • PINION,GEAR | 1 | SN: 10001- KIT-FLAG: _- SERIALNO: 10001- |
|||
| ? | ☆ | • • • GEAR | 1 | SN: 20485- KIT-FLAG: _- SERIALNO: 20485- |
|||
| ? | ☆ | • • • GEAR | 1 | SN: 20001-20484 KIT-FLAG: _- SERIALNO: 20001-20484 |
|||
| ? | ☆ | • • • GEAR | 1 | SN: 10001-19999 KIT-FLAG: _- SERIALNO: 10001-19999 |
|||
| ? | 418-22-11513 | • • CARRIER | 1 | SN: 20485- KIT-FLAG: _- SERIALNO: 20485- |
|||
| ? | 418-22-11512 | • • CARRIER | 1 | SN: 20001-20484 KIT-FLAG: _- SERIALNO: 20001-20484 |
|||
| ? | ▩418-22-11511 | • • CARRIER | 1 | SN: 10001-19999 KIT-FLAG: _- SERIALNO: 10001-19999 |
|||
| ? | (418-22-11512,418-22-11201) | SERIALNO: |
|||||
| ? | 418-22-11431 | • • GEAR | 2 | SN: 10001- KIT-FLAG: _- SERIALNO: 10001- |
|||
| ? | 418-22-11531 | • • WASHER | 2 | SN: 20485- KIT-FLAG: _- SERIALNO: 20485- |
|||
| ? | 418-22-11530 | • • WASHER | 2 | SN: 10001-20484 KIT-FLAG: _- SERIALNO: 10001-20484 |
|||
| ? | 418-22-11412 | • • SHAFT | 4 | SN: 20485- KIT-FLAG: _- SERIALNO: 20485- |
|||
| ? | 418-22-11411 | • • SHAFT | 4 | SN: 10001-20484 KIT-FLAG: _- SERIALNO: 10001-20484 |
|||
| ? | 418-22-11440 | • • PIN | 4 | SN: 10001- KIT-FLAG: _- SERIALNO: 10001- |
|||
| ? | 419-22-11420 | • • PINION | 4 | SN: 10001- KIT-FLAG: _- SERIALNO: 10001- |
|||
| ? | 418-22-11550 | • • WASHER | 4 | SN: 20485- KIT-FLAG: _- SERIALNO: 20485- |
|||
| ? | 04020-01638 | • • PIN,DOWEL | 2 | SN: 10001-19999 KIT-FLAG: _- SERIALNO: 10001-19999 |
|||
| ? | 01010-61645 | • • BOLT | 16 | SN: 10001- KIT-FLAG: _- SERIALNO: 10001- |
|||
| ? | 417-22-11850 | • • BEARING | 2 | SN: 10001- KIT-FLAG: _- SERIALNO: 10001- |
|||
| ? | 418-22-11820 | • • BEARING | 1 | SN: 10001- KIT-FLAG: _- SERIALNO: 10001- |
|||
| ? | 07012-00075 | • • SEAL | 1 | SN: 10001- KIT-FLAG: _- SERIALNO: 10001- |
|||
| ? | 418-22-11310 | • • PROTECTOR | 1 | SN: 10001- KIT-FLAG: _- SERIALNO: 10001- |
|||
| ? | 417-22-11250 | • • COUPLING | 1 | SN: 20001- KIT-FLAG: _- SERIALNO: 20001- |
|||
| ? | 418-22-11230 | • • COUPLING | 1 | SN: 10001-19999 KIT-FLAG: _- SERIALNO: 10001-19999 |
|||
| ? | 417-15-13770 | • • HOLDER | 1 | SN: 10001- KIT-FLAG: _- SERIALNO: 10001- |
|||
| ? | 07000-03040 | • • O-RING | 1 | SN: 10001- KIT-FLAG: _- SERIALNO: 10001- |
|||
| ? | 01011-61615 | • • BOLT | 1 | SN: 10001- KIT-FLAG: _- SERIALNO: 10001- |
|||
| ? | 07000-05160 | • • O-RING | 1 | SN: 10001- KIT-FLAG: _- SERIALNO: 10001- |
|||
| ? | 417-22-11360 | • • SHIM, 0.05MM | 2 | SN: 10001- KIT-FLAG: _- SERIALNO: 10001- |
|||
| ? | 417-22-11370 | • • SHIM, 0.2MM | 2 | SN: 10001- KIT-FLAG: _- SERIALNO: 10001- |
|||
| ? | 417-22-11380 | • • SHIM, 0.3MM | 2 | SN: 10001- KIT-FLAG: _- SERIALNO: 10001- |
|||
| ? | 417-22-11390 | • • SHIM, 0.8MM | 1 | SN: 10001- KIT-FLAG: _- SERIALNO: 10001- |
|||
| ? | 01010-61235 | • • BOLT | 8 | SN: 20001- KIT-FLAG: _- SERIALNO: 20001- |
|||
| ? | 01010-61235 | • • BOLT | 13 | SN: 10001-19999 KIT-FLAG: _- SERIALNO: 10001-19999 |
|||
| ? | 01643-31232 | • • WASHER | 8 | SN: 20001- KIT-FLAG: _- SERIALNO: 20001- |
|||
| ? | 01643-31232 | • • WASHER | 13 | SN: 10001-19999 KIT-FLAG: _- SERIALNO: 10001-19999 |
|||
| ? | 418-22-11160 | • • CARRIER | 2 | SN: 20485- KIT-FLAG: _- SERIALNO: 20485- |
|||
| ? | ▩417-22-11162 | • • CARRIER | 2 | SN: 10001-20484 KIT-FLAG: _- SERIALNO: 10001-20484 |
|||
| ? | (418-22-11160,01643-51232(7)) | SERIALNO: |
|||||
| ? | 417-33-11430 | • • RING | 2 | SN: 10001- KIT-FLAG: _- SERIALNO: 10001- |
|||
| ? | 417-22-11461 | • • SHIM, 0.07MM | 2 | SN: 10001- KIT-FLAG: _- SERIALNO: 10001- |
|||
| ? | 417-22-11471 | • • SHIM, 0.2MM | 2 | SN: 10001- KIT-FLAG: _- SERIALNO: 10001- |
|||
| ? | 417-22-11481 | • • SHIM, 0.3MM | 2 | SN: 10001- KIT-FLAG: _- SERIALNO: 10001- |
|||
| ? | 417-22-11491 | • • SHIM, 0.8MM | 2 | SN: 10001- KIT-FLAG: _- SERIALNO: 10001- |
|||
| ? | 01010-61230 | • • BOLT | 14 | SN: 10001- KIT-FLAG: _- SERIALNO: 10001- |
|||
| ? | 01643-51232 | • • WASHER | 14 | SN: 20485- KIT-FLAG: _- SERIALNO: 20485- |
|||
| ? | 418-22-13120 | • • COVER | 1 | SN: 10001- KIT-FLAG: _- SERIALNO: 10001- |
|||
| ? | 04020-01228 | • • PIN,DOWEL | 2 | SN: 10001- KIT-FLAG: _- SERIALNO: 10001- |
|||
| ? | 01010-61230 | • • BOLT | 16 | SN: 10001- KIT-FLAG: _- SERIALNO: 10001- |
|||
| ? | 01643-31232 | • • WASHER | 16 | SN: 10001- KIT-FLAG: _- SERIALNO: 10001- |
