| Номер на схеме | Каталожный номер | Название | Количество | Детали | |||
|---|---|---|---|---|---|---|---|
| ? | 7861-53-3101 | MONITOR ASS'Y (KM/H),(WITH EMERGENCY STEERING) | 1 | SN: .-19999 KIT-FLAG: _- SERIALNO: .-19999 |
|||
| ? | □7861-53-3100 | MONITOR ASS'Y (KM/H),(WITH EMERGENCY STEERING) | 1 | SN: 10001-. KIT-FLAG: _- SERIALNO: 10001-. |
|||
| ? | 7861-53-1101 | MONITOR ASS'Y (KM/H),(WITHOUT EMERGENCY STEERING) | 1 | SN: .-19999 KIT-FLAG: _- SERIALNO: .-19999 |
|||
| ? | □7861-53-1100 | MONITOR ASS'Y (KM/H),(WITHOUT EMERGENCY STEERING) | 1 | SN: 10001-. KIT-FLAG: _- SERIALNO: 10001-. |
|||
| ? | 7861-53-5101 | MONITOR ASS'Y (MPH),(WITH EMERGENCY STEERING) | 1 | SN: .-19999 KIT-FLAG: _- SERIALNO: .-19999 |
|||
| ? | □7861-53-5100 | MONITOR ASS'Y (MPH),(WITH EMERGENCY STEERING) | 1 | SN: 10001-. KIT-FLAG: _- SERIALNO: 10001-. |
|||
| ? | 7861-53-4101 | MONITOR ASS'Y (MPH),(WITHOUT EMERGENCY STEERING) | 1 | SN: .-19999 KIT-FLAG: _- SERIALNO: .-19999 |
|||
| ? | □7861-53-4100 | MONITOR ASS'Y (MPH),(WITHOUT EMERGENCY STEERING) | 1 | SN: 10001-. KIT-FLAG: _- SERIALNO: 10001-. |
|||
| ? | 7861-53-2101 | MONITOR ASS'Y (KM/H),(FOR TBG/ABE SPEC.) | 1 | SN: .-19999 KIT-FLAG: _- SERIALNO: .-19999 |
|||
| ? | □7861-53-2100 | MONITOR ASS'Y (KM/H),(FOR TBG/ABE SPEC.) | 1 | SN: 10001-. KIT-FLAG: _- SERIALNO: 10001-. |
|||
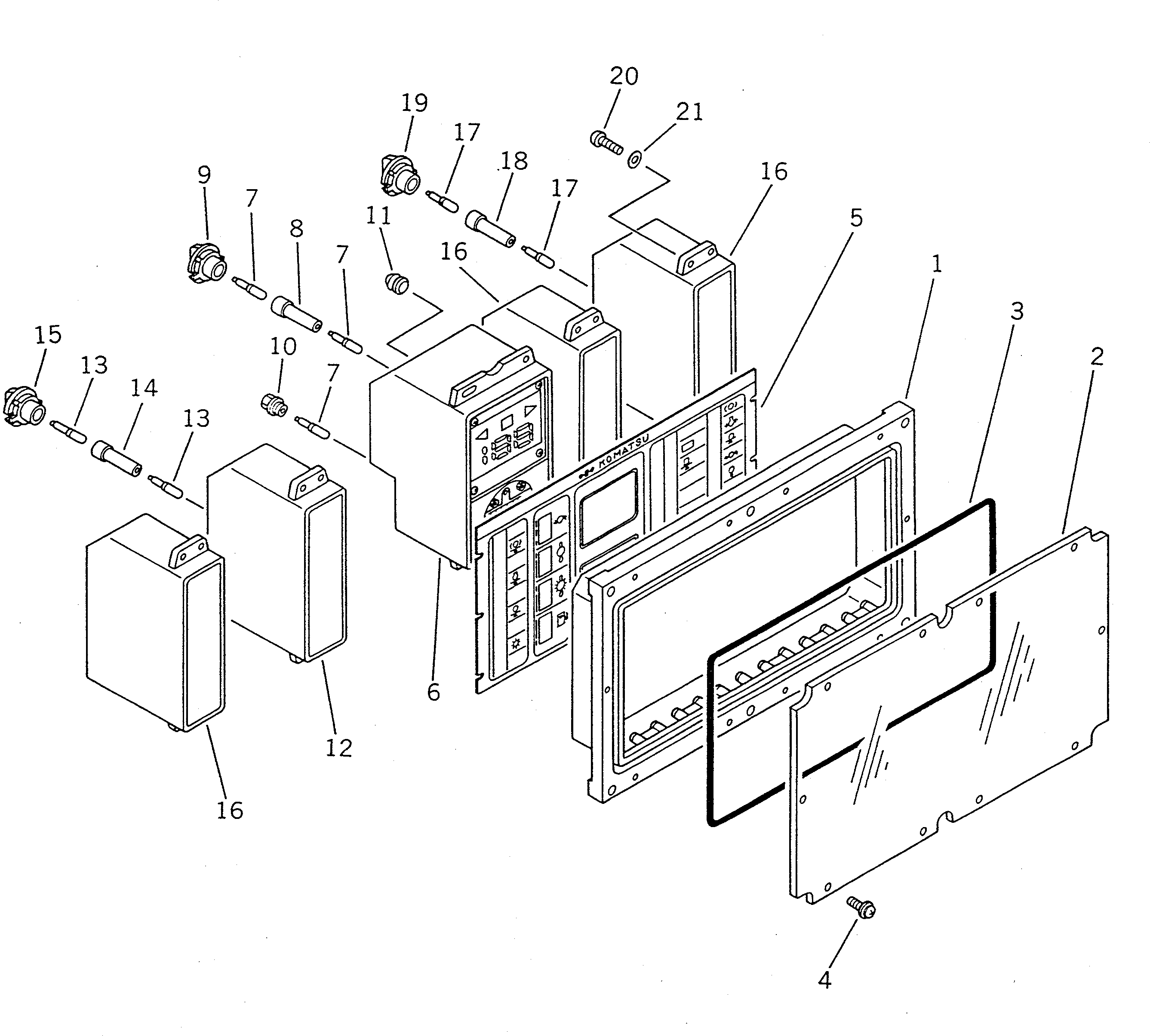
| ? | 7861-01-1120 | • PANEL | 1 | SN: 10001-19999 KIT-FLAG: _- SERIALNO: 10001-19999 |
|||
| ? | 7861-01-1220 | • COVER | 1 | SN: 10001-19999 KIT-FLAG: _- SERIALNO: 10001-19999 |
|||
| ? | 7861-01-1210 | • O-RING | 1 | SN: 10001-19999 KIT-FLAG: _- SERIALNO: 10001-19999 |
|||
| ? | 7861-01-2370 | • SCREW | 10 | SN: 10001-19999 KIT-FLAG: _- SERIALNO: 10001-19999 |
|||
| ? | 7861-51-1110 | • PLATE | 1 | SN: 10001-19999 KIT-FLAG: _- SERIALNO: 10001-19999 |
|||
| ? | 7861-51-2110 | • PLATE,(FOR TBG/ABE SPEC.) | 1 | SN: 10001-19999 KIT-FLAG: _- SERIALNO: 10001-19999 |
|||
| ? | 7861-51-1600 | • METER ASS'Y (KM/H),SPEEDOMETER AND SERVICE | 1 | SN: 10001-19999 KIT-FLAG: _- SERIALNO: 10001-19999 |
|||
| ? | 7861-51-1501 | • METER ASS'Y (MPH),SPEEDOMETER AND SERVICE | 1 | SN: .-19999 KIT-FLAG: _- SERIALNO: .-19999 |
|||
| ? | □7861-51-1500 | • METER ASS'Y (MPH),SPEEDOMETER AND SERVICE | 1 | SN: 10001-. KIT-FLAG: _- SERIALNO: 10001-. |
|||
| ? | 7815-11-1010 | • • BULB, 1.4W | 3 | SN: 10001-19999 KIT-FLAG: _- SERIALNO: 10001-19999 |
|||
| ? | 7861-01-1320 | • • SOCKET | 1 | SN: 10001-19999 KIT-FLAG: _- SERIALNO: 10001-19999 |
|||
| ? | 7861-21-1170 | • • CAP | 1 | SN: 10001-19999 KIT-FLAG: _- SERIALNO: 10001-19999 |
|||
| ? | 7861-01-1820 | • • SOCKET | 1 | SN: 10001-19999 KIT-FLAG: _- SERIALNO: 10001-19999 |
|||
| ? | 7861-51-1630 | • • GROMMET | 3 | SN: 10001-19999 KIT-FLAG: _- SERIALNO: 10001-19999 |
|||
| ? | 7861-51-1701 | • GAUGE ASS'Y | 1 | SN: .-19999 KIT-FLAG: _- SERIALNO: .-19999 |
|||
| ? | □7861-51-1700 | • GAUGE ASS'Y | 1 | SN: 10001-. KIT-FLAG: _- SERIALNO: 10001-. |
|||
| ? | 7815-11-1010 | • • BULB, 1.4W | 2 | SN: 10001-19999 KIT-FLAG: _- SERIALNO: 10001-19999 |
|||
| ? | 7861-01-1320 | • • SOCKET | 1 | SN: 10001-19999 KIT-FLAG: _- SERIALNO: 10001-19999 |
|||
| ? | 7861-21-1170 | • • CAP | 1 | SN: 10001-19999 KIT-FLAG: _- SERIALNO: 10001-19999 |
|||
| ? | 7861-51-1300 | • MONITOR ASS'Y | 3 | SN: 10001-19999 KIT-FLAG: _- SERIALNO: 10001-19999 |
|||
| ? | 7815-11-1010 | • • BULB, 1.4W | 2 | SN: 10001-19999 KIT-FLAG: _- SERIALNO: 10001-19999 |
|||
| ? | 7861-01-1320 | • • SOCKET | 1 | SN: 10001-19999 KIT-FLAG: _- SERIALNO: 10001-19999 |
|||
| ? | 7861-21-1170 | • • CAP | 1 | SN: 10001-19999 KIT-FLAG: _- SERIALNO: 10001-19999 |
|||
| ? | 01235-50412 | • SCREW | 20 | SN: 10001-19999 KIT-FLAG: _- SERIALNO: 10001-19999 |
|||
| ? | 01641-20405 | • WASHER | 20 | SN: 10001-19999 KIT-FLAG: _- SERIALNO: 10001-19999 |
