| Номер на схеме | Каталожный номер | Название | Количество | Детали | |||
|---|---|---|---|---|---|---|---|
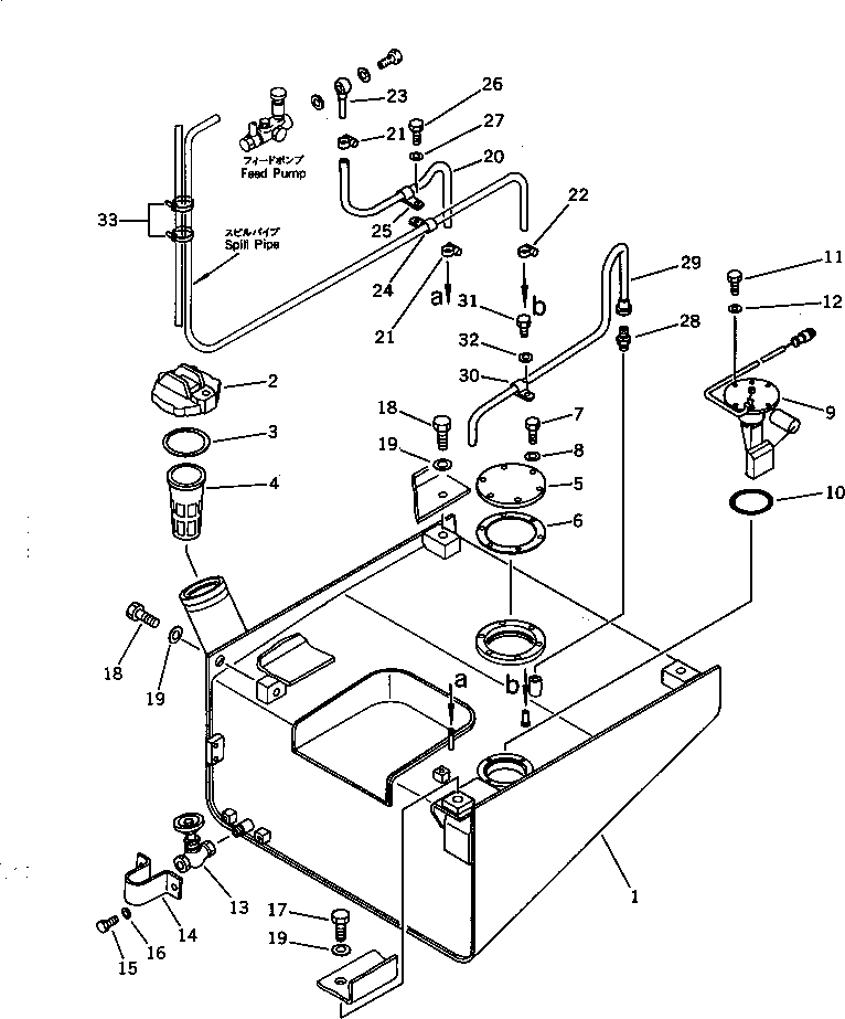
| ? | 418-04-11110 | TANK,FUEL | 1 | SN: 10001-19999 KIT-FLAG: _- SERIALNO: 10001-19999 |
|||
| ? | 19M-04-11220 | CAP | 1 | SN: 10001-@ KIT-FLAG: _- SERIALNO: 10001-@ |
|||
| ? | 07050-21202 | • GASKET | 1 | SN: 10001-@ KIT-FLAG: _- SERIALNO: 10001-@ |
|||
| ? | 07056-18416 | STRAINER | 1 | SN: 10001-@ KIT-FLAG: _- SERIALNO: 10001-@ |
|||
| ? | 421-04-11181 | COVER | 1 | SN: 10001-@ KIT-FLAG: _- SERIALNO: 10001-@ |
|||
| ? | 421-04-11191 | GASKET | 1 | SN: 10001-@ KIT-FLAG: _- SERIALNO: 10001-@ |
|||
| ? | 01010-51025 | BOLT | 6 | SN: 10001-@ KIT-FLAG: _- SERIALNO: 10001-@ |
|||
| ? | 01643-31032 | WASHER | 6 | SN: 10001-@ KIT-FLAG: _- SERIALNO: 10001-@ |
|||
| ? | (7861-91-4720) | SENSOR,FUEL LEVEL | 1 | SN: 10001-@ KIT-FLAG: _- SERIALNO: 10001-@ |
|||
| ? | 07000-02085 | O-RING | 1 | SN: 10001-@ KIT-FLAG: _- SERIALNO: 10001-@ |
|||
| ? | 01010-51016 | BOLT | 4 | SN: 10211-@ KIT-FLAG: _- SERIALNO: 10211-@ |
|||
| ? | 01010-51025 | BOLT | 4 | SN: 10001-10210 KIT-FLAG: _- SERIALNO: 10001-10210 |
|||
| ? | 01643-31032 | WASHER | 4 | SN: 10001-@ KIT-FLAG: _- SERIALNO: 10001-@ |
|||
| ? | 07700-60504 | VALVE | 1 | SN: 10001-19999 KIT-FLAG: _- SERIALNO: 10001-19999 |
|||
| ? | 421-04-11170 | COVER | 1 | SN: 10001-19999 KIT-FLAG: _- SERIALNO: 10001-19999 |
|||
| ? | 01010-50820 | BOLT | 2 | SN: 10001-@ KIT-FLAG: _- SERIALNO: 10001-@ |
|||
| ? | 01643-30823 | WASHER | 2 | SN: 10001-@ KIT-FLAG: _- SERIALNO: 10001-@ |
|||
| ? | 01010-32050 | BOLT | 1 | SN: 10001-@ KIT-FLAG: _- SERIALNO: 10001-@ |
|||
| ? | 01010-32045 | BOLT | 3 | SN: 10001-@ KIT-FLAG: _- SERIALNO: 10001-@ |
|||
| ? | 01643-32060 | WASHER | 4 | SN: 10001-@ KIT-FLAG: _- SERIALNO: 10001-@ |
|||
| ? | 07270-21065 | TUBE | 1 | SN: 10001-19999 KIT-FLAG: _- SERIALNO: 10001-19999 |
|||
| ? | 07281-00197 | CLAMP | 2 | SN: 10001-@ KIT-FLAG: _- SERIALNO: 10001-@ |
|||
| ? | 07280-00810 | CLAMP | 1 | SN: 10001-@ KIT-FLAG: _- SERIALNO: 10001-@ |
|||
| ? | 419-04-10130 | JOINT | 1 | SN: 10001-@ KIT-FLAG: _- SERIALNO: 10001-@ |
|||
| ? | 08036-01414 | CLIP | 1 | SN: 10001-@ KIT-FLAG: _- SERIALNO: 10001-@ |
|||
| ? | 424-06-12720 | CLIP | 1 | SN: 10001-@ KIT-FLAG: _- SERIALNO: 10001-@ |
|||
| ? | 01010-51020 | BOLT | 1 | SN: 10001-19999 KIT-FLAG: _- SERIALNO: 10001-19999 |
|||
| ? | 01643-31032 | WASHER | 1 | SN: 10001-@ KIT-FLAG: _- SERIALNO: 10001-@ |
|||
| ? | 07214-51013 | CONNECTOR | 1 | SN: 10001-@ KIT-FLAG: _- SERIALNO: 10001-@ |
|||
| ? | 418-04-11120 | TUBE | 1 | SN: 10001-19999 KIT-FLAG: _- SERIALNO: 10001-19999 |
|||
| ? | 424-04-11120 | CLIP | 1 | SN: 10001-@ KIT-FLAG: _- SERIALNO: 10001-@ |
|||
| ? | 01010-31016 | BOLT | 1 | SN: 10001-@ KIT-FLAG: _- SERIALNO: 10001-@ |
|||
| ? | 01643-31032 | WASHER | 1 | SN: 10001-@ KIT-FLAG: _- SERIALNO: 10001-@ |
|||
| ? | 08034-00519 | BAND | 2 | SN: 10001-@ KIT-FLAG: _- SERIALNO: 10001-@ |
