| Номер на схеме | Каталожный номер | Название | Количество | Детали | |||
|---|---|---|---|---|---|---|---|
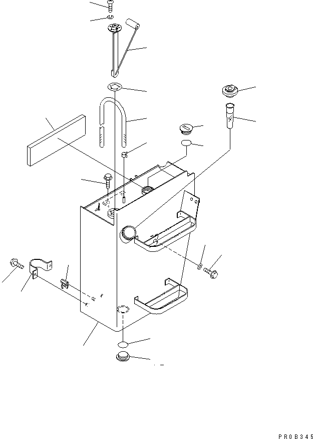
| ? | 415-04-21141 | FUEL TANK | 1 | SN: 10001-11500 |
|||
| ? | 363-04-31180 | CAP,FUEL | 1 | SN: 10001-@ |
|||
| ? | 07056-10045 | STRAINER | 1 | SN: 10001-@ |
|||
| ? | 363-04-11130 | VALVE,DRAIN | 1 | SN: 10001-@ |
|||
| ? | 415-04-21150 | COVER | 1 | SN: 10005-@ |
|||
| ? | 01435-00816 | BOLT | 2 | SN: 10001-@ |
|||
| ? | 01435-01230 | BOLT | 2 | SN: 10001-@ |
|||
| ? | 01435-01225 | BOLT | 2 | SN: 11001-@ |
|||
| ? | 01643-31232 | WASHER | 2 | SN: 11001-@ |
|||
| ? | 07270-21040 | TUBE | 1 | SN: 10001-@ |
|||
| ? | 07285-00125 | CLIP | 1 | SN: 10001-@ |
|||
| ? | 363-60-21310 | PLUG | 2 | SN: 10001-@ |
|||
| ? | 07002-15234 | O-RING | 2 | SN: 10001-@ |
|||
| ? | 415-54-31140 | SHEET | 1 | SN: 11001-@ |
|||
| ? | 415-04-21120 | SENSOR,FUEL LEVEL | 1 | SN: 10001-11500 |
|||
| ? | 419-04-10140 | GASKET | 1 | SN: 10001-@ |
|||
| ? | 01220-40512 | SCREW | 5 | SN: 10001-@ |
|||
| ? | 01601-20513 | WASHER,SPRING | 5 | SN: 10001-@ |