k-part
Номер на схеме Каталожный номер Название Количество Детали
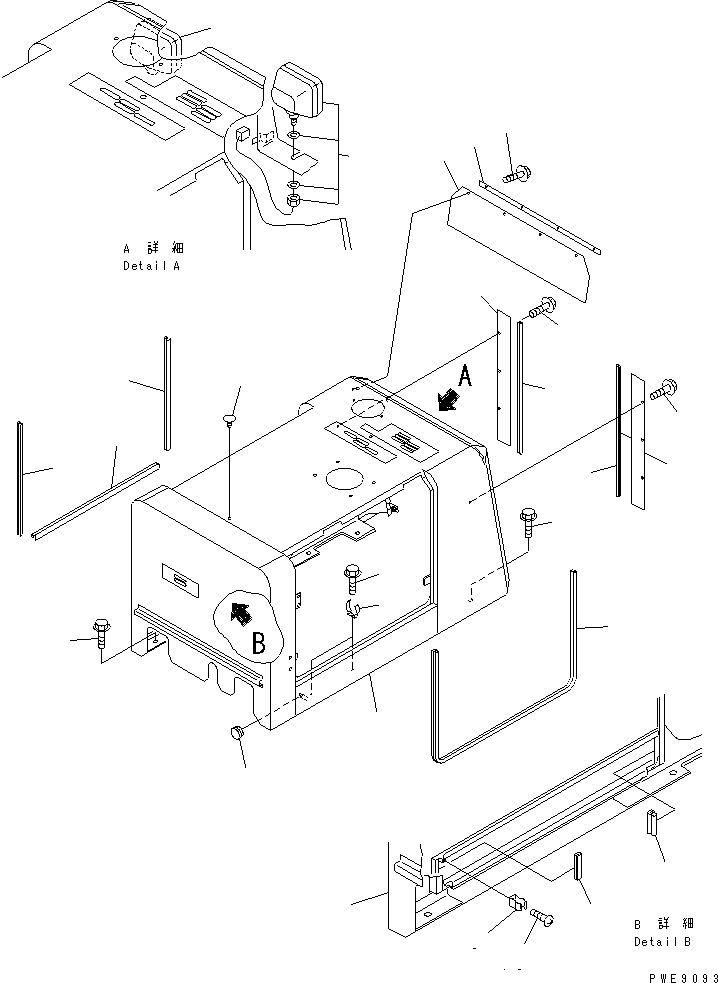
? 415-54-22223 HOOD 1
SN: 11082-11500
? 415-54-22222 HOOD 1
SN: 10027-11081
? □415-54-22221 HOOD 1
SN: 10001-10026
? 417-54-21370 SEAL 1
SN: 10001-@
? 417-54-21380 SEAL 1
SN: 10001-@
? 417-54-21390 SEAL 1
SN: 10001-11500
? 417-54-21490 SEAL 2
SN: 10001-11500
? 417-54-21990 SHEET 1
SN: 10001-@
? 417-54-21460 SPRING 2
SN: 10001-@
? 01435-00812 BOLT 2
SN: 10001-11500
? 08052-01911 CLIP 1
SN: 10001-@
? 01220-40608 SCREW 1
SN: 10001-@
? 09415-00706 CAP 1
SN: 10001-@
? 415-54-22241 PLATE 2
SN: 10001-@
? 417-54-21850 SEAL 2
SN: 10001-@
? 01435-00816 BOLT 6
SN: 10001-11500
? 415-54-22251 PLATE 1
SN: 10001-@
? 415-54-22260 PLATE 1
SN: 10001-@
? 01435-00816 BOLT 4
SN: 10001-11500
? 416-54-21710 PLUG 2
SN: 11001-@
? 416-54-21280 PLUG 2
SN: 10001-11000
? 421-06-23350 LAMP ASS'Y 2
SN: 10001-@
? 421-06-23320 • LENS 1
SN: 10001-@
? 421-06-23330 • BULB¤ 70W 1
SN: 10001-@
? 01435-01235 BOLT 2
SN: 10001-11500
? 01435-01230 BOLT 4
SN: 10001-11500

Wheel Loaders Komatsu / WA100M-3-CB S/N 10001-UP(wa100m0r) / HOOD(#10001-11500)(270040 : M4100-01A0)
?
?
?
?
?
?
?
?
?
?
?
?
?
?
?
?
?
?
?
?
?
?
?
?
?
?
?