| Номер на схеме | Каталожный номер | Название | Количество | Детали | |||
|---|---|---|---|---|---|---|---|
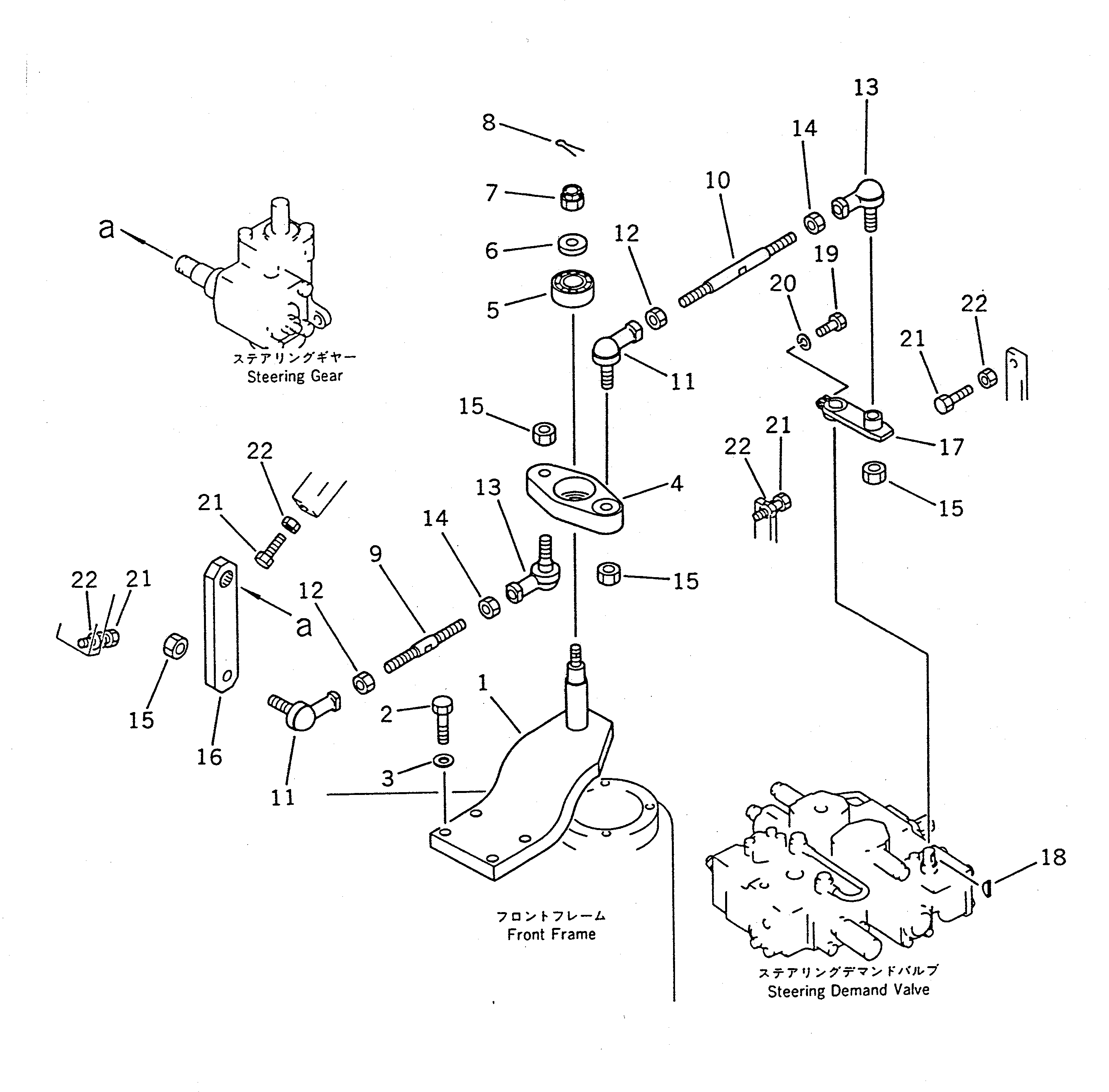
| ? | 416-40-11210 | BRACKET | 1 | SN: 10001-19999 |
|||
| ? | 01010-51450 | BOLT | 4 | SN: 10001-19999 |
|||
| ? | 01643-31445 | WASHER | 4 | SN: 10001-19999 |
|||
| ? | 416-40-11140 | PLATE | 1 | SN: 10001-19999 |
|||
| ? | 421-40-11411 | BEARING | 1 | SN: 10001-19999 |
|||
| ? | 419-40-11171 | WASHER | 1 | SN: .-19999 |
|||
| ? | □416-40-11150 | WASHER | 1 | SN: 10001-. |
|||
| ? | 01590-11619 | NUT | 1 | SN: 10001-19999 |
|||
| ? | 04050-14030 | PIN,COTTER | 1 | SN: 10001-19999 |
|||
| ? | 416-40-11120 | ROD | 1 | SN: 10001-19999 |
|||
| ? | 416-40-11130 | ROD | 1 | SN: 10001-19999 |
|||
| ? | 421-40-11381 | JOINT | 2 | SN: 10001-19999 |
|||
| ? | 01580-11613 | NUT | 2 | SN: 10001-19999 |
|||
| ? | 421-40-11371 | JOINT,L.H. THREAD | 2 | SN: 10001-19999 |
|||
| ? | 421-40-11390 | NUT,L.H. THREAD | 2 | SN: 10001-19999 |
|||
| ? | 421-40-11510 | NUT,LOCK | 4 | SN: 10001-19999 |
|||
| ? | 416-40-11110 | ARM,PITMAN | 1 | SN: 10001-19999 |
|||
| ? | 416-40-11160 | LEVER | 1 | SN: 10001-19999 |
|||
| ? | 04010-00519 | KEY | 1 | SN: 10001-19999 |
|||
| ? | 01010-50830 | BOLT | 1 | SN: 10001-19999 |
|||
| ? | 01602-20825 | WASHER,SPRING | 1 | SN: 10001-19999 |
|||
| ? | 01016-51240 | BOLT | 4 | SN: 10001-19999 |
|||
| ? | 01580-11210 | NUT | 4 | SN: 10001-19999 |
