| Номер на схеме | Каталожный номер | Название | Количество | Детали | |||
|---|---|---|---|---|---|---|---|
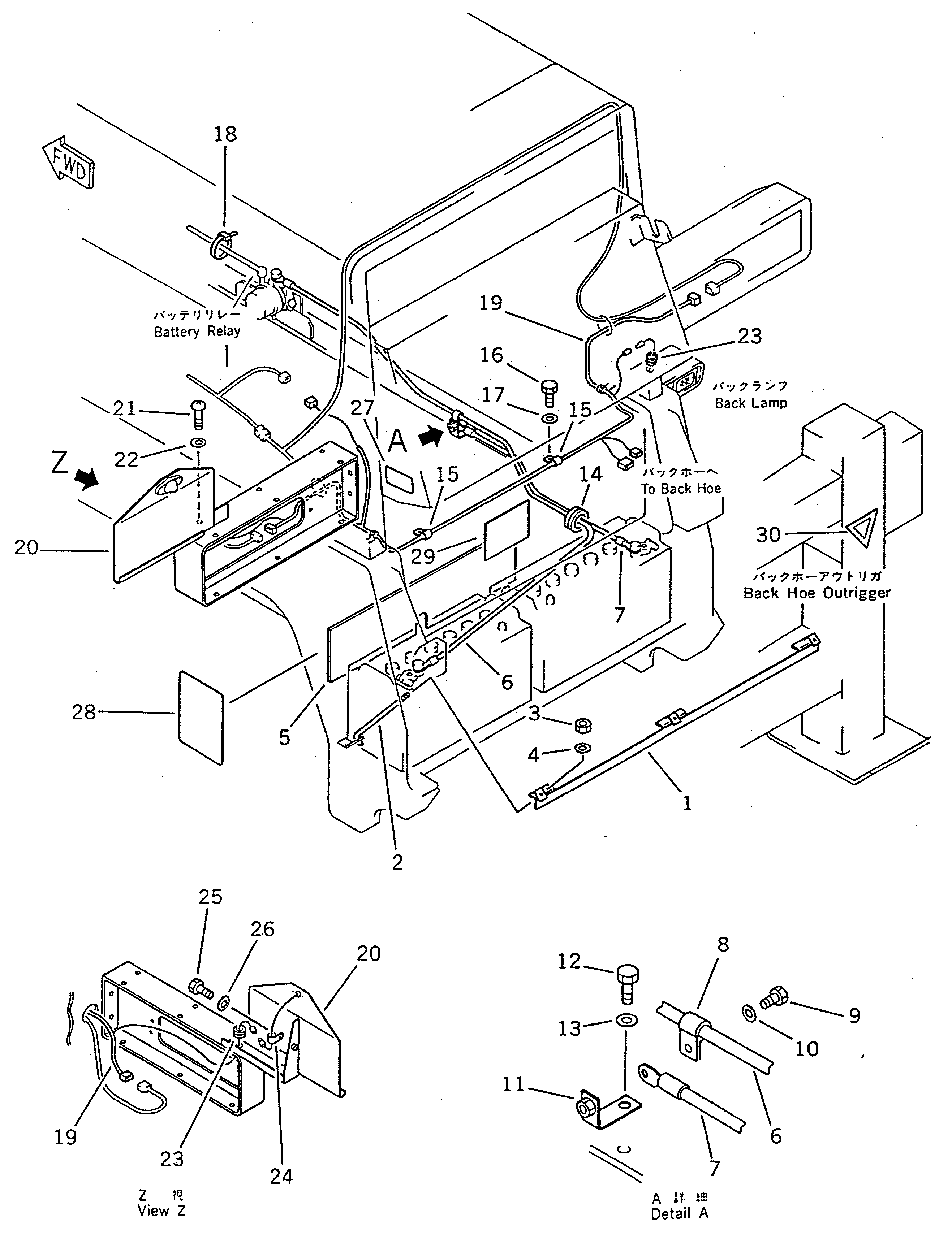
| ? | 416-855-1312 | HOLDER | 1 | SN: 10001-@ |
|||
| ? | 416-855-1350 | ROD | 3 | SN: 10001-@ |
|||
| ? | 01580-10806 | NUT | 6 | SN: 10001-@ |
|||
| ? | 01643-30823 | WASHER | 2 | SN: 10001-@ |
|||
| ? | 416-855-1320 | SPACER | 1 | SN: 10001-@ |
|||
| ? | 416-855-1360 | WIRE | 1 | SN: 10001-@ |
|||
| ? | 416-855-1330 | WIRE | 1 | SN: 10001-@ |
|||
| ? | 08036-01814 | CLIP | 1 | SN: 10001-@ |
|||
| ? | 01010-51016 | BOLT | 1 | SN: 10001-@ |
|||
| ? | 01643-31032 | WASHER | 1 | SN: 10001-@ |
|||
| ? | 416-855-1341 | BRACKET | 1 | SN: 10001-@ |
|||
| ? | 01010-51230 | BOLT | 1 | SN: 10001-@ |
|||
| ? | 01643-31232 | WASHER | 1 | SN: 10001-@ |
|||
| ? | 08037-03620 | GROMMET | 1 | SN: 10001-@ |
|||
| ? | 08036-30814 | CLIP | 2 | SN: 10001-19999 |
|||
| ? | 01010-50820 | BOLT | 2 | SN: 10001-@ |
|||
| ? | 01643-30823 | WASHER | 2 | SN: 10001-@ |
|||
| ? | 08034-00823 | BAND | 4 | SN: 10001-@ |
|||
| ? | 416-855-1380 | WIRE ASS'Y | 1 | SN: 10001-@ |
|||
| ? | 416-855-1471 | BRACKET | 1 | SN: 10001-19999 |
|||
| ? | 01220-40616 | SCREW | 1 | SN: 10001-19999 |
|||
| ? | 01641-40608 | WASHER | 1 | SN: 10001-19999 |
|||
| ? | 08037-01008 | GROMMET | 2 | SN: 10001-@ |
|||
| ? | 419-09-11160 | CLIP | 1 | SN: 10001-@ |
|||
| ? | 01010-50816 | BOLT | 1 | SN: 10001-@ |
|||
| ? | 01643-30823 | WASHER | 1 | SN: 10001-@ |
|||
| ? | 416-855-1830 | PLATE¤ CAUTION | 1 | SN: 10001-@ |
|||
| ? | 416-855-1810 | PLATE¤ INSTRUCTION | 1 | SN: 10001-@ |
|||
| ? | 417-93-11150 | PLATE¤ CAUTION,BATTERY | 1 | SN: 10001-@ |
|||
| ? | 423-904-1810 | PLATE | 1 | SN: 10001-@ |
