| Номер на схеме | Каталожный номер | Название | Количество | Детали | |||
|---|---|---|---|---|---|---|---|
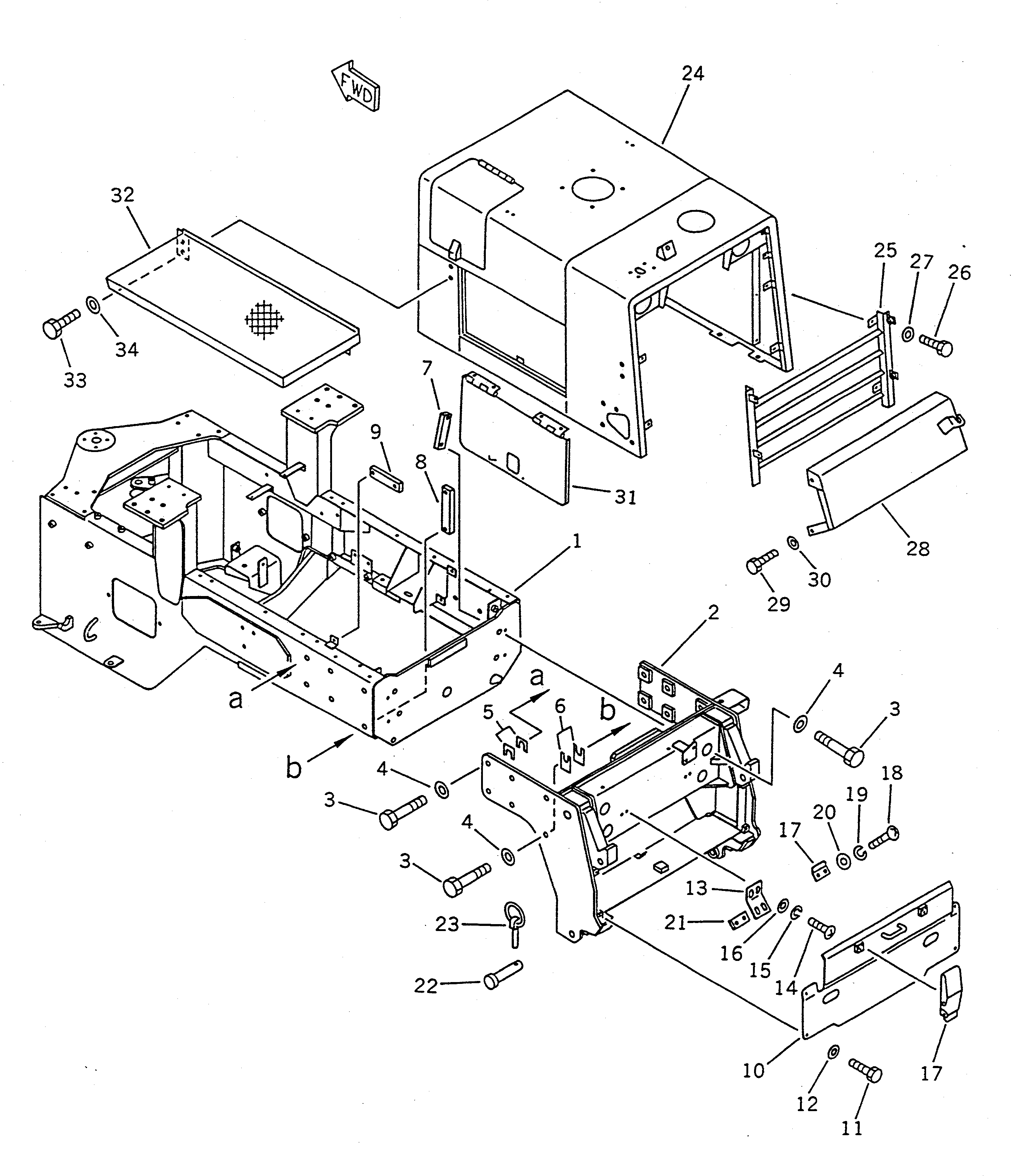
| ? | 416-855-1718 | FRAME,REAR (MODIFIED PART) | 1 | SN: 20001- |
|||
| ? | 416-855-1113 | ADAPTER | 1 | SN: 10001- |
|||
| ? | 01010-32485 | BOLT | 16 | SN: 10001- |
|||
| ? | 01643-32460 | WASHER | 16 | SN: 10001- |
|||
| ? | 416-855-1190 | SHIM¤ 0.5MM | 30 | SN: 10001- |
|||
| ? | 416-855-1180 | SHIM¤ 3.2MM | 10 | SN: 10001- |
|||
| ? | 416-855-1930 | SHIM¤ 0.5MM | 6 | SN: 10001- |
|||
| ? | 416-855-1920 | SHIM¤ 3.2MM | 2 | SN: 10001- |
|||
| ? | 416-855-1150 | SEAT | 2 | SN: 10001- |
|||
| ? | 416-855-1130 | SEAT | 2 | SN: 10001- |
|||
| ? | 416-855-1140 | SEAT | 4 | SN: 10001- |
|||
| ? | 416-855-1122 | COVER | 1 | SN: 10001- |
|||
| ? | 01010-51220 | BOLT | 7 | SN: 10001- |
|||
| ? | 01643-31232 | WASHER | 7 | SN: 10001- |
|||
| ? | 416-855-1281 | PLATE | 2 | SN: 10001- |
|||
| ? | 01220-40410 | SCREW | 4 | SN: 10001- |
|||
| ? | 01601-20410 | WASHER,SPRING | 4 | SN: 10001- |
|||
| ? | 01641-20405 | WASHER | 4 | SN: 10001- |
|||
| ? | 424-09-12490 | HOLDER,L.H. | 1 | SN: 20001- |
|||
| ? | 421-09-12320 | HOLDER,R.H. | 1 | SN: 20001- |
|||
| ? | 01220-40408 | SCREW | 10 | SN: 10001- |
|||
| ? | 01601-20410 | WASHER,SPRING | 10 | SN: 10001- |
|||
| ? | 01641-20405 | WASHER | 10 | SN: 10001- |
|||
| ? | 416-855-1670 | SEAT | 2 | SN: 20001- |
|||
| ? | 416-855-1160 | PIN | 2 | SN: 10001- |
|||
| ? | 421-46-12740 | PIN,LINCH | 2 | SN: 10001- |
|||
| ? | 416-855-1253 | HOOD,(MODIFIED PART) | 1 | SN: 20001- |
|||
| ? | 416-855-2750 | GRILLE,(MODIFIED PART) | 1 | SN: 20001- |
|||
| ? | 01010-51220 | BOLT | 4 | SN: 10001- |
|||
| ? | 01643-31232 | WASHER | 4 | SN: 10001- |
|||
| ? | 416-855-1224 | COVER | 1 | SN: 20001- |
|||
| ? | 01010-51220 | BOLT | 4 | SN: 20001- |
|||
| ? | 01643-31232 | WASHER | 4 | SN: 20001- |
|||
| ? | 416-855-1272 | DOOR,L.H. (MODIFIED PART) | 1 | SN: 20001- |
|||
| ? | 416-855-1212 | STEP | 1 | SN: 20001- |
|||
| ? | 01010-51230 | BOLT | 4 | SN: 10001- |
|||
| ? | 01643-31232 | WASHER | 4 | SN: 10001- |
