k-part
Номер на схеме Каталожный номер Название Количество Детали
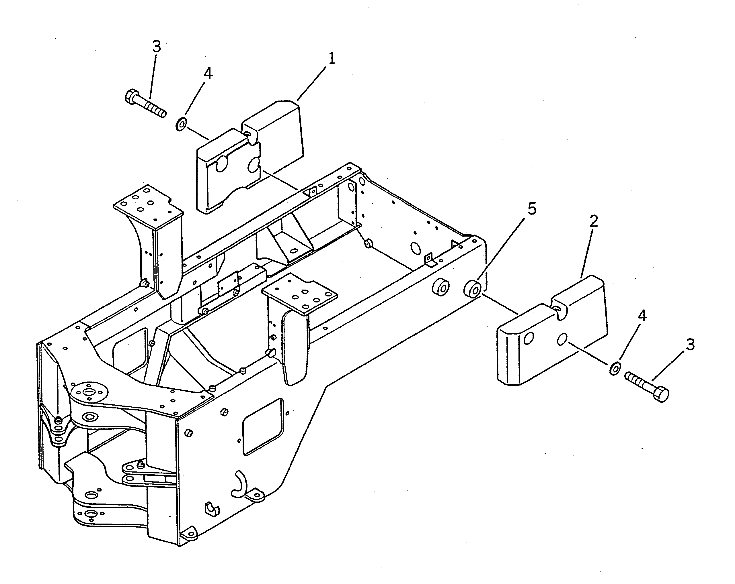
? 416-974-1110 WEIGHT,COUNTER¤ R.H. 1
SN: 10001-
? 416-974-1120 WEIGHT,COUNTER¤ L.H. 1
SN: 10001-
? 01010-32085 BOLT 4
SN: 10001-
? 01643-32060 WASHER 4
SN: 10001-
? 416-974-1140 BOSS (WELDED) 4
SN: 10001-

Wheel Loaders Komatsu / WA100SS-1 S/N 10001-UP(wa100s8r) / ADDITIONAL COUNTER WEIGHT(150710 : 5801)