k-part
Номер на схеме Каталожный номер Название Количество Детали
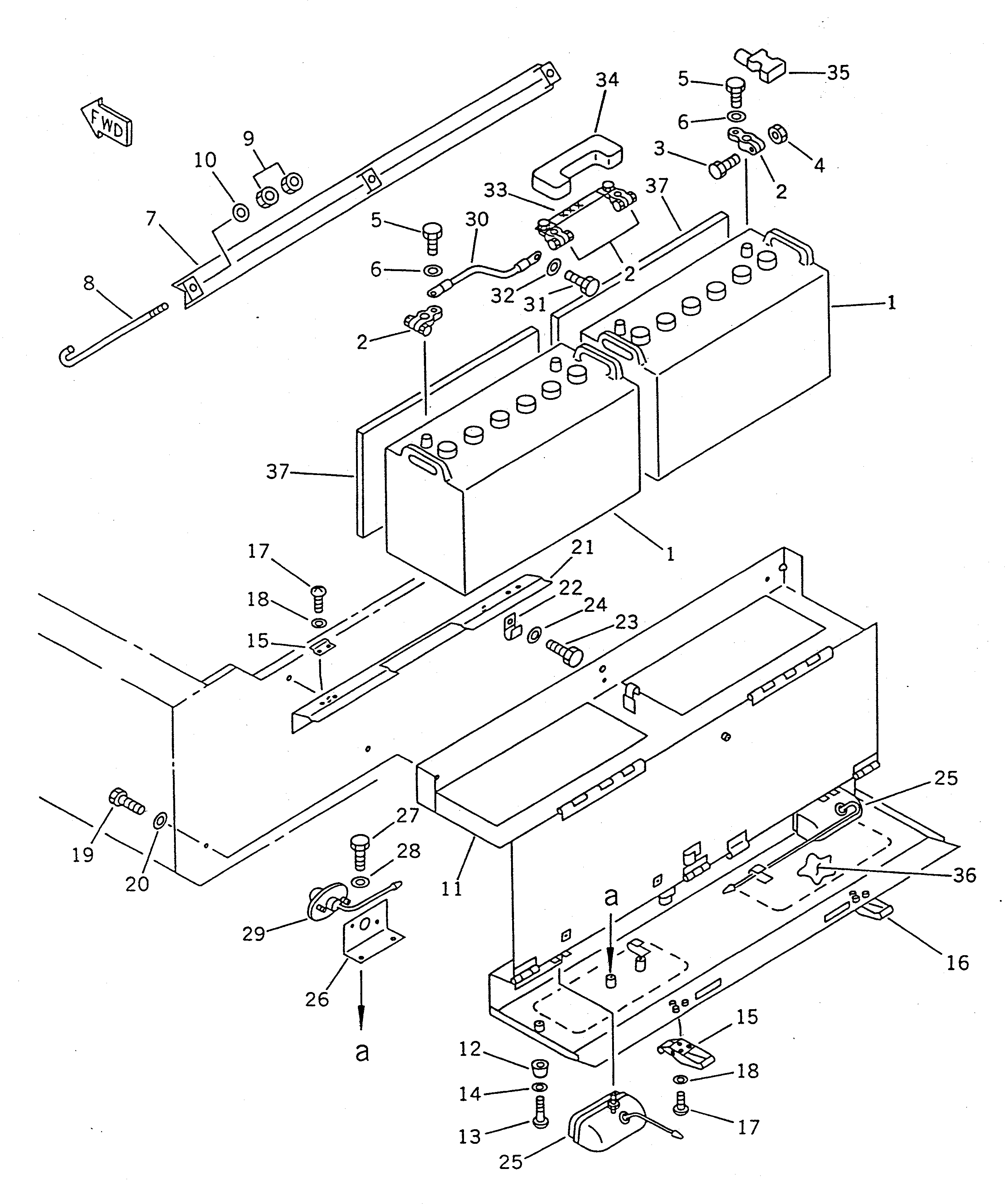
? 08000-32212 BATTERY (115E41R) 2
SN: 10001-
? 416-Z91-1110 BATTERY¤ 12V 110AH,(COLD TERRAIN SPEC.) 2
SN: 10001-
? 08000-00000 TERMINAL¤ (+) 2
SN: 10001-
? 08000-00001 TERMINAL¤ (-) 2
SN: 10001-
? 01010-30830 • BOLT 1
SN: 10001-
? 01580-00806 • NUT 1
SN: 10001-
? 01050-31018 • BOLT 1
SN: 10001-
? 01640-01016 • WASHER 1
SN: 10001-
? 416-06-11121 HOLDER 1
SN: 20001-
? 417-06-11123 ROD 3
SN: 20001-
? 01580-10806 NUT 6
SN: 20001-
? 01643-30823 WASHER 3
SN: 20001-
? 416-06-11134 BOX,(WITH BACK LAMP) 1
SN: 20001-
? 417-06-11314 BOX,(WITHOUT BACK LAMP) 1
SN: 20001-
? 425-54-12590 STOPPER 1
SN: 20001-
? 01220-40416 SCREW 1
SN: 20001-
? 01641-20405 WASHER 1
SN: 20001-
? 424-09-12490 HOLDER 1
SN: 20001-
? 421-09-12320 HOLDER 1
SN: 20001-
? 01220-40410 SCREW 10
SN: 10001-
? 01641-20405 WASHER 10
SN: 10001-
? 01010-31235 BOLT 3
SN: 20001-
? 124-54-26540 WASHER 3
SN: 20001-
? 416-06-11180 BRACKET 1
SN: 20001-
? 08036-40814 CLIP 1
SN: 20001-
? 01010-31020 BOLT 2
SN: 20001-
? 01643-31032 WASHER 2
SN: 20001-
? 417-06-13122 LAMP,BACK 2
SN: .-
? 417-06-13131 • LENS 1
SN: .-
? 08110-12410 • BULB¤ 12W 1
SN: .-
? 416-06-11170 BRACKET 1
SN: 20001-
? 01010-30816 BOLT 2
SN: 20001-
? 01643-30823 WASHER 2
SN: 20001-
? 08137-32400 LAMP ASS'Y,LICENSE 1
SN: 10001-
? 08110-12410 • BULB¤ 12W 1
SN: 10001-
? 416-06-11320 WIRE 1
SN: 21137-
? □417-06-12122 WIRE 1
SN: 20001-21136
? 01010-31020 BOLT 1
SN: 10001-
? 01605-11023 WASHER 1
SN: 10001-
? 417-06-12111 WIRE 1
SN: 20001-
? 417-06-12132 CAP 1
SN: 20001-
? 08038-22009 CAP 1
SN: 10001-
? 417-06-11321 PLATE 2
SN: 20001-
? 416-06-11330 SPACER 2
SN: 21075-

Wheel Loaders Komatsu / WA100SS-1 S/N 10001-UP(wa100s8r) / BATTERY AND BATTERY BOX(#20001-)(030130 : 1401A)