| Номер на схеме | Каталожный номер | Название | Количество | Детали | |||
|---|---|---|---|---|---|---|---|
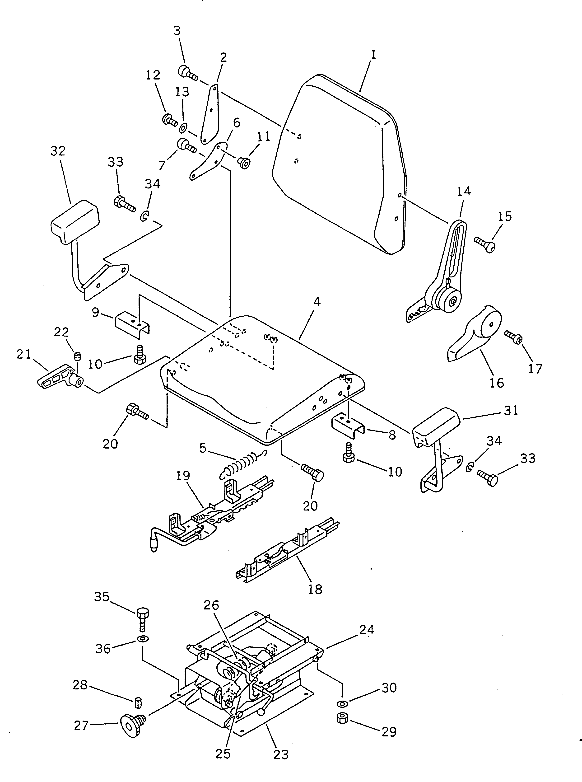
| ? | 417-57-11141 | OPERATOR'S SEAT A. | 1 | SN: 10409- |
|||
| ? | □417-57-11140 | OPERATOR'S SEAT A. | 1 | SN: 10001-10408 |
|||
| ? | 423-57-11303 | • SEAT ASS'Y | 1 | SN: 10001- |
|||
| ? | 423-57-11320 | • • CUSHION,BACK | 1 | SN: 10001- |
|||
| ? | 423-57-11490 | • • • BRACKET | 1 | SN: 10001- |
|||
| ? | 423-57-11380 | • • • BOLT | 2 | SN: 10001- |
|||
| ? | 423-57-11310 | • • CUSHION,SEAT | 1 | SN: 10001- |
|||
| ? | 423-57-11650 | • • • SPRING | 1 | SN: 10001- |
|||
| ? | 423-57-11450 | • • • BRACKET | 1 | SN: 10001- |
|||
| ? | 423-57-11380 | • • • BOLT | 2 | SN: 10001- |
|||
| ? | 423-57-11470 | • • • BRACKET,L.H. | 1 | SN: 10001- |
|||
| ? | 423-57-11480 | • • • BRACKET,R.H. | 1 | SN: 10001- |
|||
| ? | 423-57-11460 | • • • BOLT | 4 | SN: 10001- |
|||
| ? | 423-57-11420 | • • BUSHING | 1 | SN: 10001- |
|||
| ? | 423-57-11430 | • • SCREW | 1 | SN: 10001- |
|||
| ? | 423-57-11440 | • • WASHER | 1 | SN: 10001- |
|||
| ? | 423-57-11330 | • • RECLINING ASS'Y | 1 | SN: 10001- |
|||
| ? | 423-57-11380 | • • BOLT | 4 | SN: 10001- |
|||
| ? | 423-57-11371 | • • COVER | 1 | SN: .- |
|||
| ? | □423-57-11370 | • • COVER | 1 | SN: 10001-. |
|||
| ? | 423-57-11160 | • • SCREW | 1 | SN: 10001- |
|||
| ? | 423-57-11350 | • • SLIDE,L.H. | 1 | SN: 10001- |
|||
| ? | 423-57-11340 | • • SLIDE,R.H. | 1 | SN: 10001- |
|||
| ? | 423-57-11390 | • • BOLT | 4 | SN: 10001- |
|||
| ? | 423-57-11360 | • • LEVER | 1 | SN: 10001- |
|||
| ? | 423-57-11410 | • • SCREW | 1 | SN: 10001- |
|||
| ? | 423-57-11400 | • SUSPENSION ASS'Y | 1 | SN: 10001- |
|||
| ? | 423-57-11530 | • • ADJUSTER,TILT | 1 | SN: 10001- |
|||
| ? | 423-57-11520 | • • ABSORBER | 1 | SN: 10001- |
|||
| ? | 423-57-11510 | • • SPRING | 1 | SN: 10001- |
|||
| ? | 423-57-11630 | • • KNOB | 1 | SN: 10001- |
|||
| ? | 423-57-11640 | • • PIN | 1 | SN: 10001- |
|||
| ? | 423-57-11130 | • NUT | 4 | SN: 10001- |
|||
| ? | 423-57-11150 | • WASHER | 4 | SN: 10001- |
|||
| ? | 417-57-11160 | • ARM REST ASS'Y,L.H. | 1 | SN: 10001- |
|||
| ? | 417-57-11310 | • • ARM,REST | 1 | SN: 10001- |
|||
| ? | 417-57-11320 | • • ARM | 1 | SN: 10001- |
|||
| ? | 417-57-11360 | • • BOLT | 2 | SN: 10001- |
|||
| ? | 417-57-11170 | • ARM REST ASS'Y,R.H. | 1 | SN: 10001- |
|||
| ? | 417-57-11310 | • • ARM,REST | 1 | SN: 10001- |
|||
| ? | 417-57-11330 | • • ARM | 1 | SN: 10001- |
|||
| ? | 417-57-11360 | • • BOLT | 2 | SN: 10001- |
|||
| ? | 01010-50820 | • BOLT | 4 | SN: 10001- |
|||
| ? | 01602-20825 | • WASHER,SPRING | 4 | SN: 10001- |
|||
| ? | 01010-51225 | BOLT | 4 | SN: 10001- |
|||
| ? | 01643-31232 | WASHER | 4 | SN: 10001- |
