| Номер на схеме | Каталожный номер | Название | Количество | Детали | |||
|---|---|---|---|---|---|---|---|
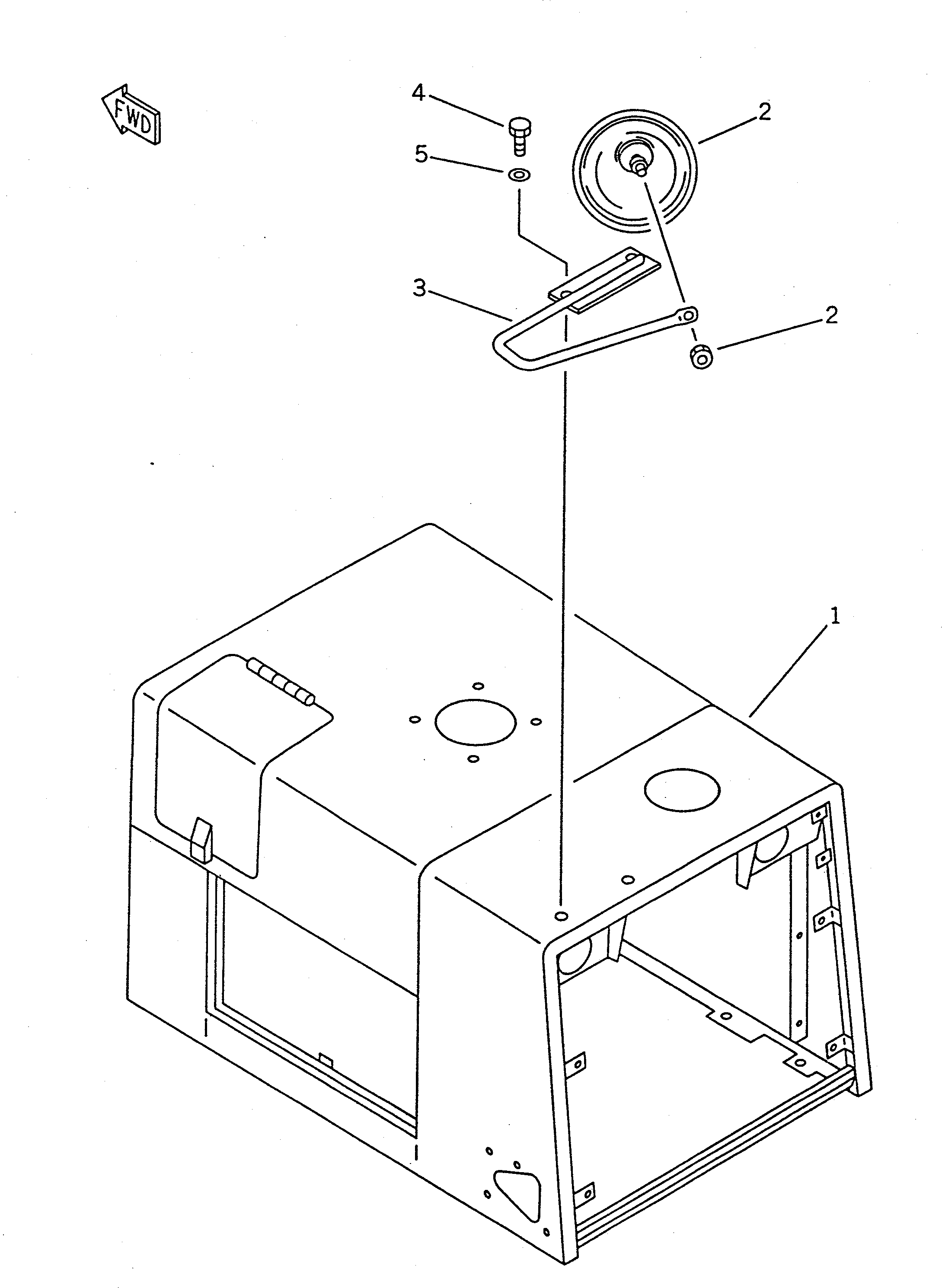
| ? | 416-976-1111 | HOOD,(MODIFIED PART) | 1 | SN: 20001- |
|||
| ? | 418-976-1110 | MIRROR,UNDER | 1 | SN: 10001- |
|||
| ? | 418-976-1120 | STAY | 1 | SN: 10001- |
|||
| ? | 01010-51025 | BOLT | 2 | SN: 10001- |
|||
| ? | 01643-31032 | WASHER | 2 | SN: 10001- |
