k-part
Номер на схеме Каталожный номер Название Количество Детали
? 416-54-11134 HOOD 1
SN: 10001-19999
? 416-Z06-1110 HOOD,(SANDY AND DUSTY TERRAIN S.) 1
SN: 10001-19999
? 421-09-12320 • HOLDER 1
SN: 10001-19999
? 01220-40416 • SCREW 2
SN: 10001-@
? 01220-40412 • SCREW 3
SN: 10001-@
? 01641-20405 • WASHER 5
SN: 10001-@
? 01580-10403 • NUT 5
SN: 10001-@
? 01601-20410 • WASHER,SPRING 5
SN: 10001-@
? 425-54-12590 STOPPER 1
SN: 10001-@
? 425-54-12590 STOPPER,(SANDY AND DUSTY TERRAIN S.) 2
SN: 10001-19999
? 01220-40416 SCREW 1
SN: 10001-@
? 01220-40416 SCREW,(SANDY AND DUSTY TERRAIN S.) 2
SN: 10001-19999
? 01010-51220 BOLT 8
SN: 10001-19999
? 01643-31232 WASHER 8
SN: 10001-19999
? 417-54-11151 DOOR,L.H. 1
SN: 10001-19999
? 09461-00020 • LEVER ASS'Y 1
SN: 10001-19999
? 417-54-11161 DOOR,R.H. 1
SN: 10001-19999
? 09461-00020 • LEVER ASS'Y 1
SN: 10001-19999
? 01010-51225 BOLT 8
SN: 10001-19999
? 01643-31232 WASHER 8
SN: 10001-19999
? 417-54-11311 ROD 2
SN: 10001-19999
? 416-54-11171 HOSE 2
SN: 10001-@
? 01641-21016 WASHER 2
SN: 10001-@
? 04050-12015 PIN,COTTER 2
SN: 10001-@
? 417-54-11114 SUPPORT,HOOD 1
SN: 11763-19999
? 417-54-11113 SUPPORT,HOOD 1
SN: 10828-11762
? □417-54-11112 SUPPORT,HOOD 1
SN: 10001-10827
? 417-54-11260 SHEET 2
SN: 10001-19999
? 01010-51220 BOLT 7
SN: 10001-19999
? 01643-31232 WASHER 7
SN: 10001-19999
? 01010-51230 BOLT 4
SN: 10001-19999
? 01643-31232 WASHER 4
SN: 10001-19999
? 417-54-11171 PLATE 2
SN: 10001-19999
? 417-54-11270 SHEET 4
SN: 10001-19999
? 417-54-11240 PLATE 2
SN: 10001-19999
? 417-54-11690 SHIM¤ 1.0MM A/R
SN: 10001-19999
? 01010-51225 BOLT 4
SN: 10001-19999
? 01643-31232 WASHER 4
SN: 10001-19999
? 01010-51220 BOLT 4
SN: 10001-19999
? 01643-31232 WASHER 4
SN: 10001-19999
? 417-02-11111 BRACKET 1
SN: 10001-19999
? 01010-51225 BOLT 4
SN: 10001-@
? 124-54-26540 WASHER 4
SN: 10001-@
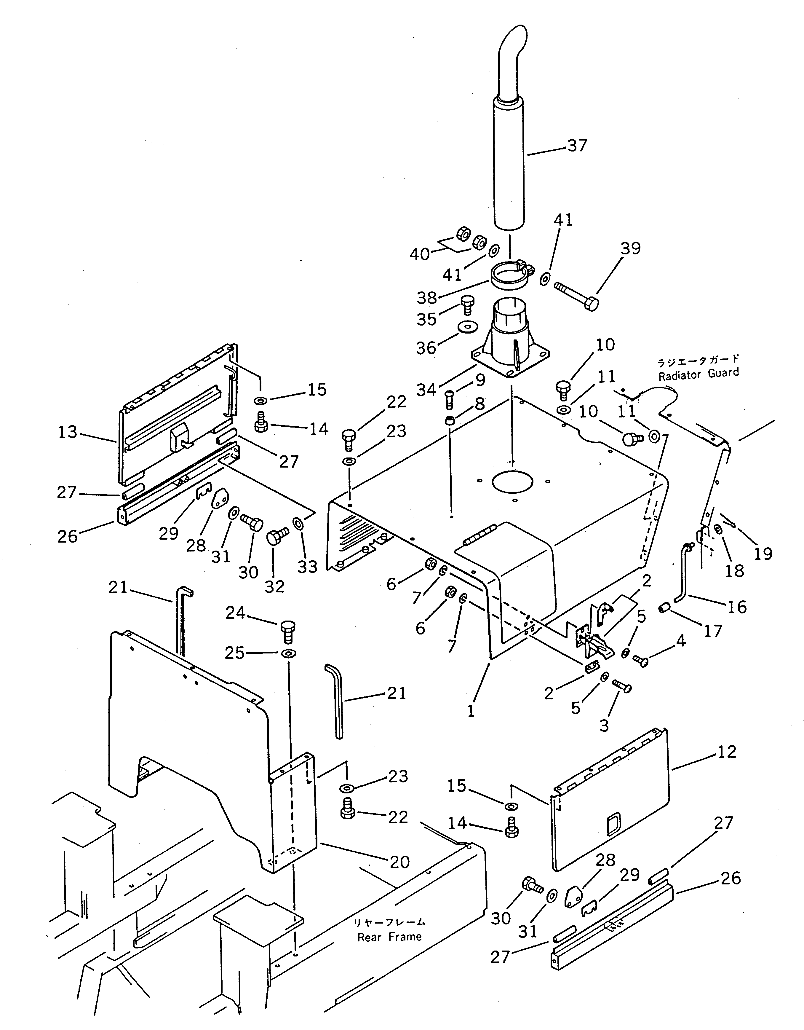
? 417-02-11130 PIPE,EXHAUST (WITH GLASSWOOL) 1
SN: 10001-@
? 417-Z15-1130 PIPE,EXHAUST (WITHOUT GLASSWOOL) 1
SN: 10001-@
? 417-02-11120 CLAMP 1
SN: 10001-19999
? 01010-51290 BOLT 1
SN: 10001-@
? 01580-11210 NUT 2
SN: 10001-@
? 01640-21223 WASHER 2
SN: 10001-@

Wheel Loaders Komatsu / WA100SS-1 S/N 10001-UP(wa100s8r) / ENGINE HOOD AND EXHAUST(#10001-19999)(150210 : 5202)