| Номер на схеме | Каталожный номер | Название | Количество | Детали | |||
|---|---|---|---|---|---|---|---|
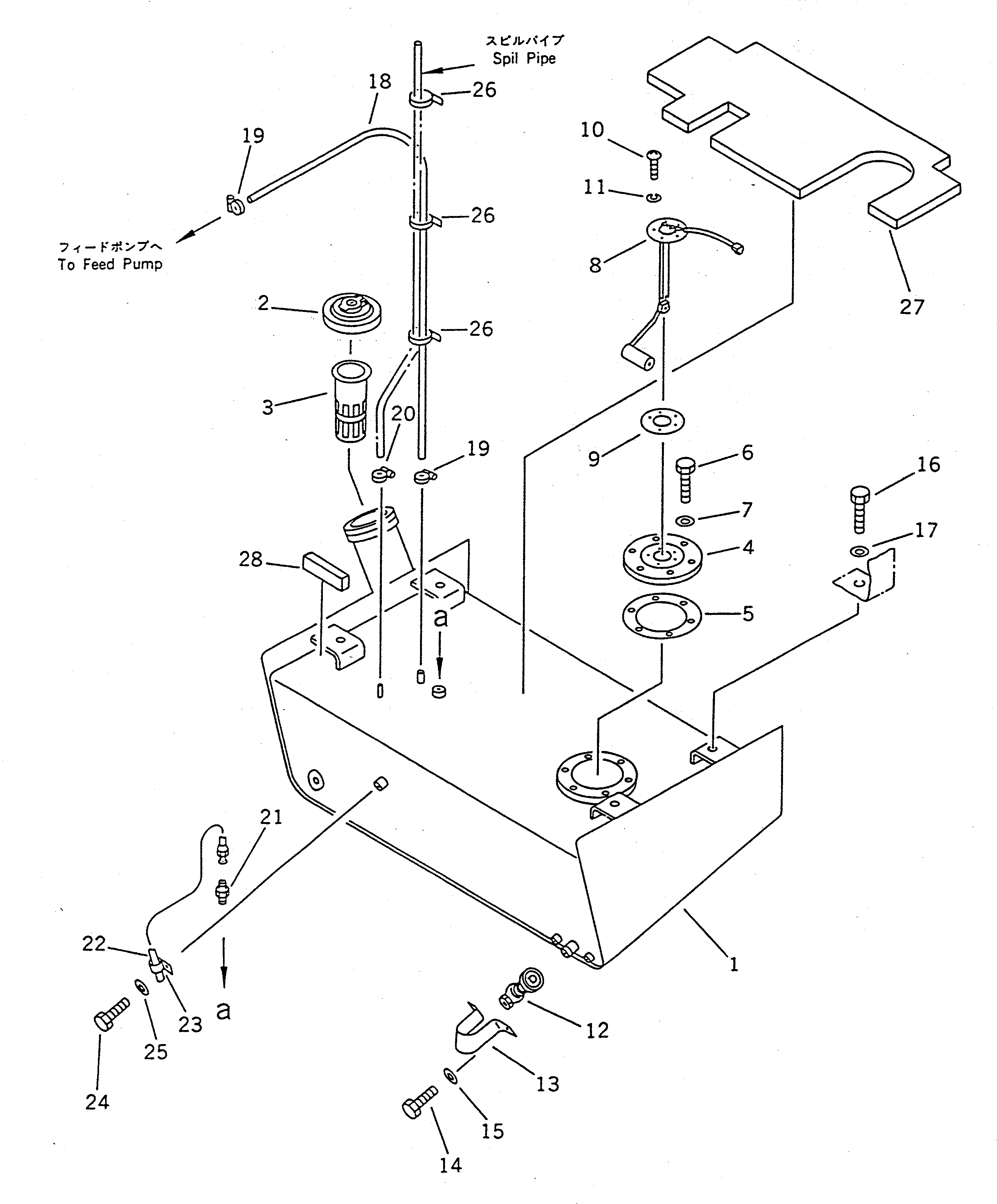
| ? | 416-04-10210 | TANK | 1 | SN: 30001- |
|||
| ? | 423-04-11360 | CAP | 1 | SN: 30001- |
|||
| ? | 20Y-04-11240 | • PACKING | 1 | SN: 30001- |
|||
| ? | 07056-18416 | STRAINER | 1 | SN: 10001- |
|||
| ? | 416-04-10150 | COVER | 1 | SN: 20001- |
|||
| ? | 421-04-11191 | GASKET | 1 | SN: 10001- |
|||
| ? | 01010-51030 | BOLT | 6 | SN: 30001- |
|||
| ? | 01643-31032 | WASHER | 6 | SN: 10001- |
|||
| ? | 416-04-10120 | SENSOR,LEVEL | 1 | SN: 10001- |
|||
| ? | 419-04-10140 | GASKET | 1 | SN: 10001- |
|||
| ? | 01220-40512 | SCREW | 5 | SN: 10001- |
|||
| ? | 01601-20513 | WASHER,SPRING | 5 | SN: 10001- |
|||
| ? | 416-04-10130 | VALVE | 1 | SN: 20001- |
|||
| ? | 416-04-10140 | COVER | 1 | SN: 20001- |
|||
| ? | 01010-30820 | BOLT | 2 | SN: 10001- |
|||
| ? | 01643-30823 | WASHER | 2 | SN: 10001- |
|||
| ? | 01010-31230 | BOLT | 4 | SN: 10001- |
|||
| ? | 175-54-34170 | WASHER | 4 | SN: 10001- |
|||
| ? | 07270-21049 | TUBE | 1 | SN: 10001- |
|||
| ? | 07281-00197 | CLAMP | 2 | SN: 10001- |
|||
| ? | 07280-00910 | CLAMP | 1 | SN: 10001- |
|||
| ? | 07214-51013 | CONNECTOR | 1 | SN: 10001- |
|||
| ? | 416-04-10160 | TUBE | 1 | SN: 20001- |
|||
| ? | 424-04-11120 | CLIP | 1 | SN: 10001- |
|||
| ? | 01010-31016 | BOLT | 1 | SN: 10001- |
|||
| ? | 01643-31032 | WASHER | 1 | SN: 10001- |
|||
| ? | 08034-00519 | BAND | 3 | SN: 10001- |
|||
| ? | 416-Z97-1590 | SHEET,(NOISE ABATEMENT PART) | 1 | SN: 32001- |
|||
| ? | 416-Z90-1491 | SHEET,(NOISE ABATEMENT PART) | 2 | SN: 32001- |
