| Номер на схеме | Каталожный номер | Название | Количество | Детали | |||
|---|---|---|---|---|---|---|---|
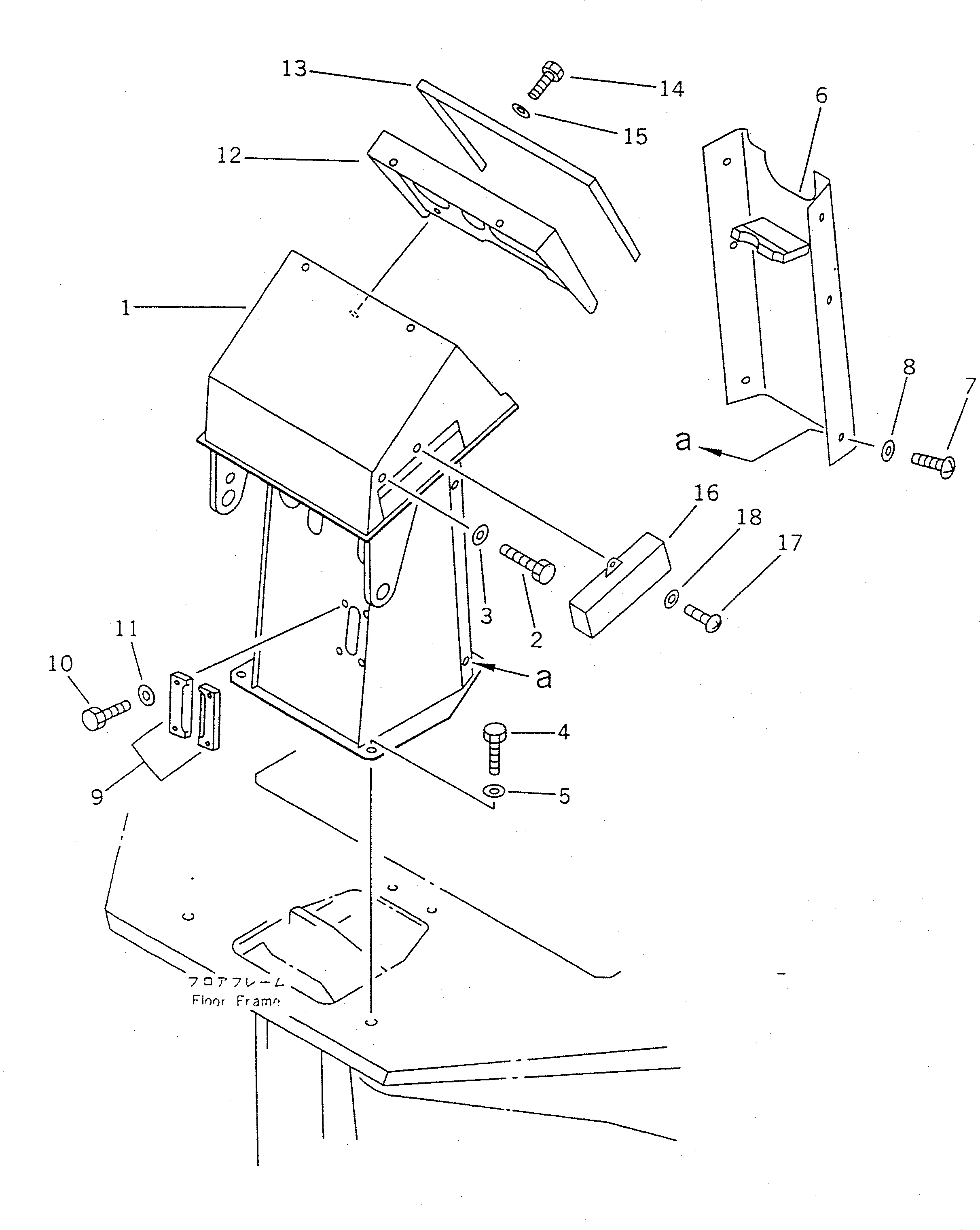
| ? | 416-54-12412 | SUPPORT | 1 | SN: 20001- |
|||
| ? | 01010-51020 | BOLT | 2 | SN: 11491- |
|||
| ? | 01643-31032 | WASHER | 2 | SN: 11491- |
|||
| ? | 01010-51225 | BOLT | 4 | SN: 10001- |
|||
| ? | 01643-31232 | WASHER | 4 | SN: 10001- |
|||
| ? | 416-54-12420 | COVER | 1 | SN: 20001- |
|||
| ? | 416-54-12450 | • SHEET | 1 | SN: 20001- |
|||
| ? | 01220-40816 | SCREW | 6 | SN: 10001- |
|||
| ? | 01643-30823 | WASHER | 6 | SN: 10001- |
|||
| ? | 417-54-12381 | COVER | 2 | SN: 10001- |
|||
| ? | 01010-50816 | BOLT | 4 | SN: 10001- |
|||
| ? | 01643-30823 | WASHER | 4 | SN: 10001- |
|||
| ? | 416-54-12310 | PANEL,(WITH SPEEDOMETER) | 1 | SN: 20001- |
|||
| ? | 416-54-12510 | PANEL,(WITHOUT SPEEDOMETER) | 1 | SN: 20001- |
|||
| ? | 417-54-12322 | • PROTECTOR | 1 | SN: 20001- |
|||
| ? | 01010-50816 | BOLT | 4 | SN: 10001- |
|||
| ? | 01643-30823 | WASHER | 4 | SN: 10001- |
|||
| ? | 417-54-12681 | COVER | 1 | SN: 10001- |
|||
| ? | 01232-00616 | SCREW | 1 | SN: 10001- |
|||
| ? | 01643-30623 | WASHER | 1 | SN: 10001- |
