| Номер на схеме | Каталожный номер | Название | Количество | Детали | |||
|---|---|---|---|---|---|---|---|
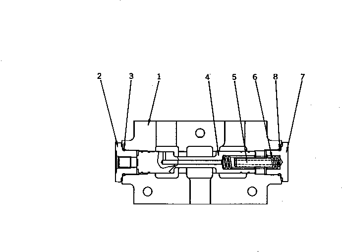
| ? | 421-875-1400 | VALVE ASS'Y | 1 | SN: 10001- KIT-FLAG: _- SERIALNO: 10001- |
|||
| ? | ☆ | • BODY | 1 | SN: 10001- KIT-FLAG: _- SERIALNO: 10001- |
|||
| ? | 421-875-1440 | • PLUG | 1 | SN: 10001- KIT-FLAG: _- SERIALNO: 10001- |
|||
| ? | 07002-13034 | • O-RING | 1 | SN: 10001- KIT-FLAG: _- SERIALNO: 10001- |
|||
| ? | ☆ | • SPOOL | 1 | SN: 10001- KIT-FLAG: _- SERIALNO: 10001- |
|||
| ? | 421-875-1460 | • TUBE | 1 | SN: 10001- KIT-FLAG: _- SERIALNO: 10001- |
|||
| ? | 421-875-1430 | • SPRING | 1 | SN: 10001- KIT-FLAG: _- SERIALNO: 10001- |
|||
| ? | 421-875-1450 | • PLUG | 1 | SN: 10001- KIT-FLAG: _- SERIALNO: 10001- |
|||
| ? | 07002-13034 | • O-RING | 1 | SN: 10001- KIT-FLAG: _- SERIALNO: 10001- |
