k-part
Номер на схеме Каталожный номер Название Количество Детали
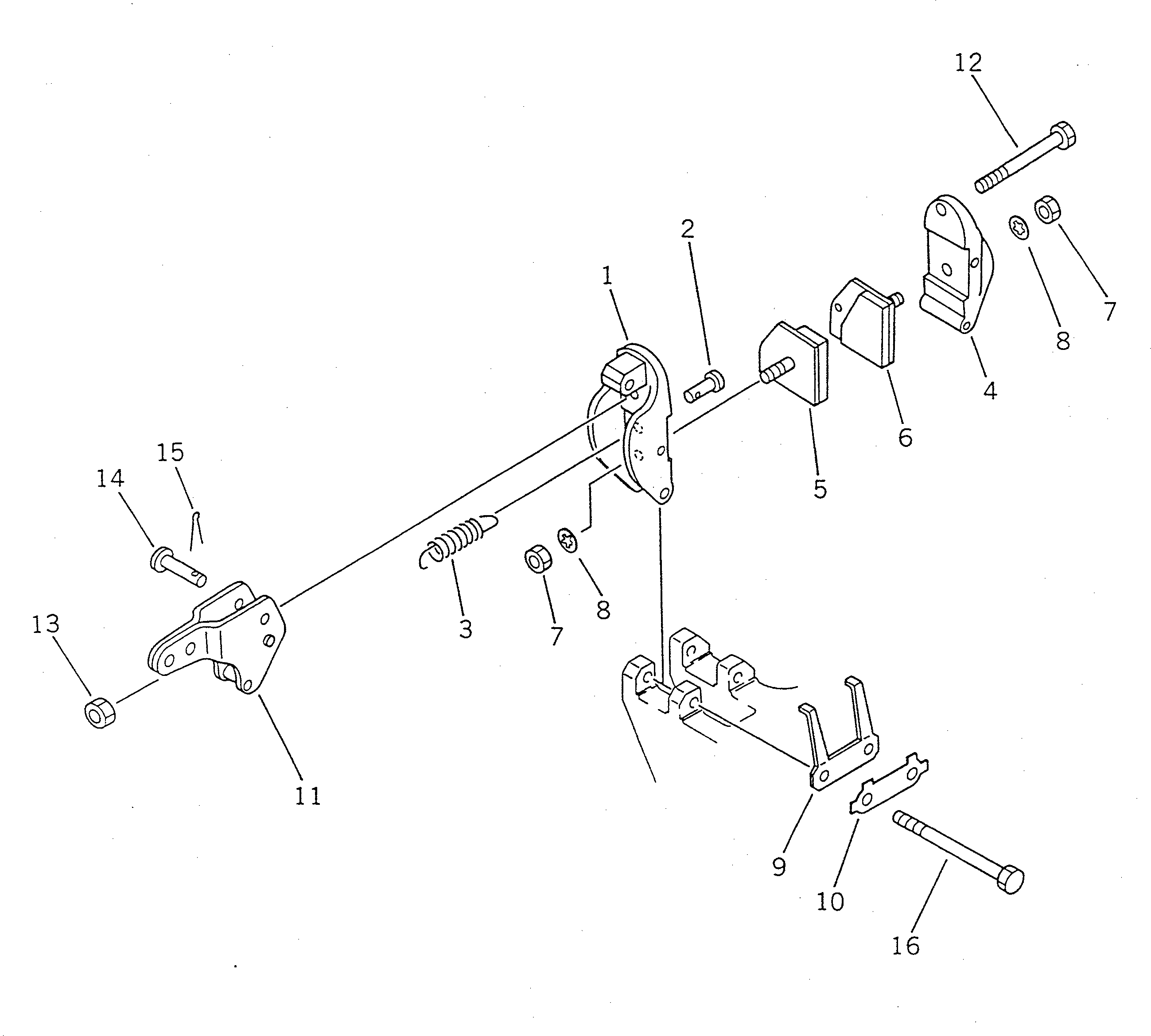
? 415-43-15200 CALIPER ASS'Y 1
SN: 10001-
KIT-FLAG: _-
SERIALNO: 10001-
? (☒415-43-15101) CALIPER ASS'Y 1
SN: (10001-12214)
KIT-FLAG: _-
SERIALNO: (10001-12214)
? • CARRIER,INNER 1
SN: 10001-
KIT-FLAG: _-
SERIALNO: 10001-
? 423-43-15770 • ANCHOR 1
SN: 10001-
KIT-FLAG: _-
SERIALNO: 10001-
? 423-43-15760 • SPRING 1
SN: 10001-
KIT-FLAG: _-
SERIALNO: 10001-
? • CARRIER,OUTER 1
SN: 10001-
KIT-FLAG: _-
SERIALNO: 10001-
? 415-43-05210 • BRAKE PAD ASS'Y 1
SN: 10001-
KIT-FLAG: _-
SERIALNO: 10001-
? (☒415-43-05110) • BRAKE PAD ASS'Y 1
SN: (10001-12214)
KIT-FLAG: _-
SERIALNO: (10001-12214)
? • • PAD,INNER 1
SN: 10001-
KIT-FLAG: _-
SERIALNO: 10001-
? (☒415-43-15810) • • PAD,INNER 1
SN: (10001-12214)
KIT-FLAG: _-
SERIALNO: (10001-12214)
? • • PAD,OUTER 1
SN: 10001-
KIT-FLAG: _-
SERIALNO: 10001-
? (☒415-43-15820) • • PAD,OUTER 1
SN: (10001-12214)
KIT-FLAG: _-
SERIALNO: (10001-12214)
? • • NUT 2
SN: 10001-
KIT-FLAG: _-
SERIALNO: 10001-
? • • WASHER 2
SN: 10001-
KIT-FLAG: _-
SERIALNO: 10001-
? • • PLATE 1
SN: 10001-
KIT-FLAG: _-
SERIALNO: 10001-
? • • WASHER 1
SN: 10001-
KIT-FLAG: _-
SERIALNO: 10001-
? 423-43-15720 • LEVER ASS'Y 1
SN: 10001-
KIT-FLAG: _-
SERIALNO: 10001-
? 415-43-15730 • BOLT,ADJUST 1
SN: 10001-
KIT-FLAG: _-
SERIALNO: 10001-
? 423-43-15740 • NUT 1
SN: 10001-
KIT-FLAG: _-
SERIALNO: 10001-
? 423-43-15750 • PIN 1
SN: 10001-
KIT-FLAG: _-
SERIALNO: 10001-
? 04050-11610 • PIN,COTTER 1
SN: 10001-
KIT-FLAG: _-
SERIALNO: 10001-
? 415-43-15710 • BOLT 2
SN: 10001-
KIT-FLAG: _-
SERIALNO: 10001-

Wheel Loaders Komatsu / WA70-1 S/N 10001-UP(wa70-1c) / PARKING BRAKE(090150 : 3311)