k-part
Номер на схеме Каталожный номер Название Количество Детали
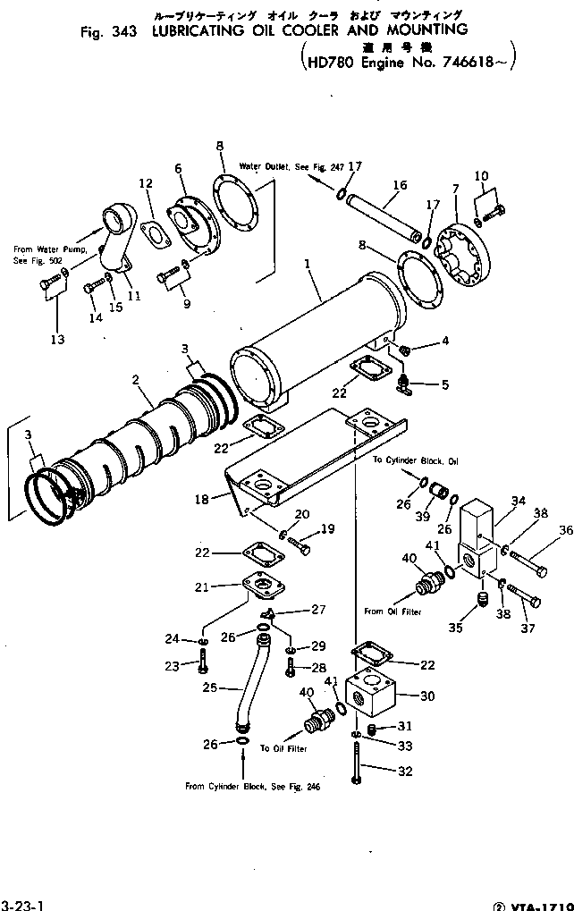
? CUAR-2139 COOLER ASS'Y 1
SN: 746618-
? CU3010615 • COOLER ASS'Y 1
SN: 746618-
? CU3010613 • • HOUSING 1
SN: 746618-
? CU3010612 • • ELEMENT 1
SN: 746618-
? CU3010617 • • O-RING 4
SN: 746618-
? CUS-911-B • PLUG 3
SN: 746618-
? CUS-923-E • VALVE 1
SN: 746618-
? CU180727 • COVER 1
SN: 746618-
? CU186199 • COVER 1
SN: 746618-
? CU172723 • GASKET 2
SN: 746618-
? CU3010597 • BOLT 8
SN: 746618-
? CU3012472 • BOLT 7
SN: 746618-
? CU180755 CONNECTION 1
SN: 746618-
? CU140329 GASKET 1
SN: 746618-
? CU3010595 BOLT 1
SN: 746618-
? CUS-141 BOLT 1
SN: 746618-
? CUS-604 WASHER 1
SN: 746618-
? CU191980 TUBE 1
SN: 746618-
? CU122981 O-RING 2
SN: 746618-
? 6715-52-5210 BRACKET 1
SN: 746618-
? 02010-20832 BOLT 6
SN: 746618-
? 01602-01338 WASHER 6
SN: 746618-
? 6715-52-5360 FLANGE 1
SN: 746618-
? CU180730 GASKET 4
SN: 746618-
? 02010-20851 BOLT 4
SN: 746618-
? 01602-01338 WASHER 4
SN: 746618-
? 6715-52-5350 PIPE 1
SN: 746618-
? CU3010157 O-RING 4
SN: 746618-
? CU214616 CLAMP 1
SN: 746618-
? 02010-20413 BOLT 1
SN: 746618-
? 01602-00410 WASHER 1
SN: 746618-
? 6715-52-5330 CONNECTOR 1
SN: 746618-
? 07042-20108 PLUG 1
SN: 746618-
? 02011-20827 BOLT 4
SN: 746618-
? 01602-01338 WASHER 4
SN: 746618-
? 6715-52-5320 CONNECTOR 1
SN: 746618-
? 07042-21019 PLUG 1
SN: 746618-
? 02011-20808 BOLT 1
SN: 746618-
? 02010-20895 BOLT 1
SN: 746618-
? 01602-01338 WASHER 2
SN: 746618-
? CU201875 TUBE 1
SN: 746618-
? 07230-01443 UNION 2
SN: 746618-
? 07002-44234 O-RING 2
SN: 746618-

Engines Komatsu / VTA-1710-1C S/N 430077-UP(vta-172r) / LUBRICATING OIL COOLER AND MOUNTING(090040 : 343)