k-part
Номер на схеме Каталожный номер Название Количество Детали
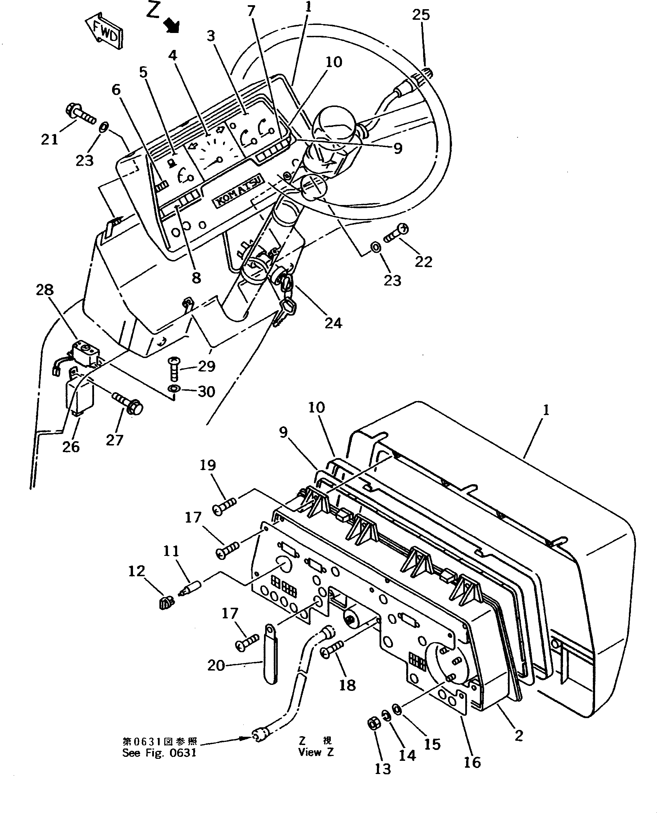
? 363-06-35110 PANEL ASS'Y 1
SN: 10001-11241
? 363-06-35370 • PANEL 1
SN: 10001-11241
? 42A-06-15220 • HOUSING 1
SN: 10001-11241
? 363-06-35310 • GAUGE,TEMPERATURE 1
SN: 10001-11241
? 363-06-35320 • TACHOMETER 1
SN: 10001-@
? 363-06-35380 • GAUGE,FUEL 1
SN: 10001-11241
? 42A-06-15320 • METER,SERVICE 1
SN: 10001-@
? 363-06-35330 • LENS 1
SN: 10001-11241
? 363-06-35340 • LENS 1
SN: 10001-11241
? 42A-06-15280 • PLATE,SHADOW 1
SN: 10001-@
? 42A-06-15290 • COVER,FRONT 1
SN: 10001-@
? 7815-11-1010 • BULB¤ 1.4W 15
SN: 10001-11241
? 363-06-35360 • SOCKET 15
SN: 10001-@
? 01580-10302 • NUT 15
SN: 10001-@
? 01601-20307 • WASHER,SPRING 15
SN: 10001-@
? 01641-20305 • WASHER 15
SN: 10001-@
? 363-06-35350 • PLATE,PRINT 1
SN: 10001-@
? 01370-00412 • SCREW 7
SN: 10001-11241
? 01023-10408 • SCREW 2
SN: 10001-@
? 42A-06-15350 • SCREW 7
SN: 10001-@
? 42A-06-15340 • CLIP 2
SN: 10001-11241
? 363-06-35410 BOLT 3
SN: 10001-@
? 01220-70616 SCREW 2
SN: 10001-@
? 01642-40608 WASHER 5
SN: 10001-@
? 363-06-31110 SWITCH,STARTING 1
SN: 10001-@
? 363-06-31140 SWITCH,COMBINATION 1
SN: 10001-@
? 363-06-31240 FLASHER 1
SN: 10806-@
? 08077-21201 FLASHER 1
SN: 10001-10805
? 01435-00610 BOLT 1
SN: 10001-@
? 363-06-31150 BUZZER 1
SN: 10001-@
? 01023-10414 SCREW 2
SN: 10001-@
? 01641-00405 WASHER 2
SN: 10001-@

Wheel Loaders Komatsu / WA20-2 S/N 10001-UP(wa20-2r) / INSTRUMENT PANEL(#10001-11241)(120050 : E0260-01A0)