k-part
Номер на схеме Каталожный номер Название Количество Детали
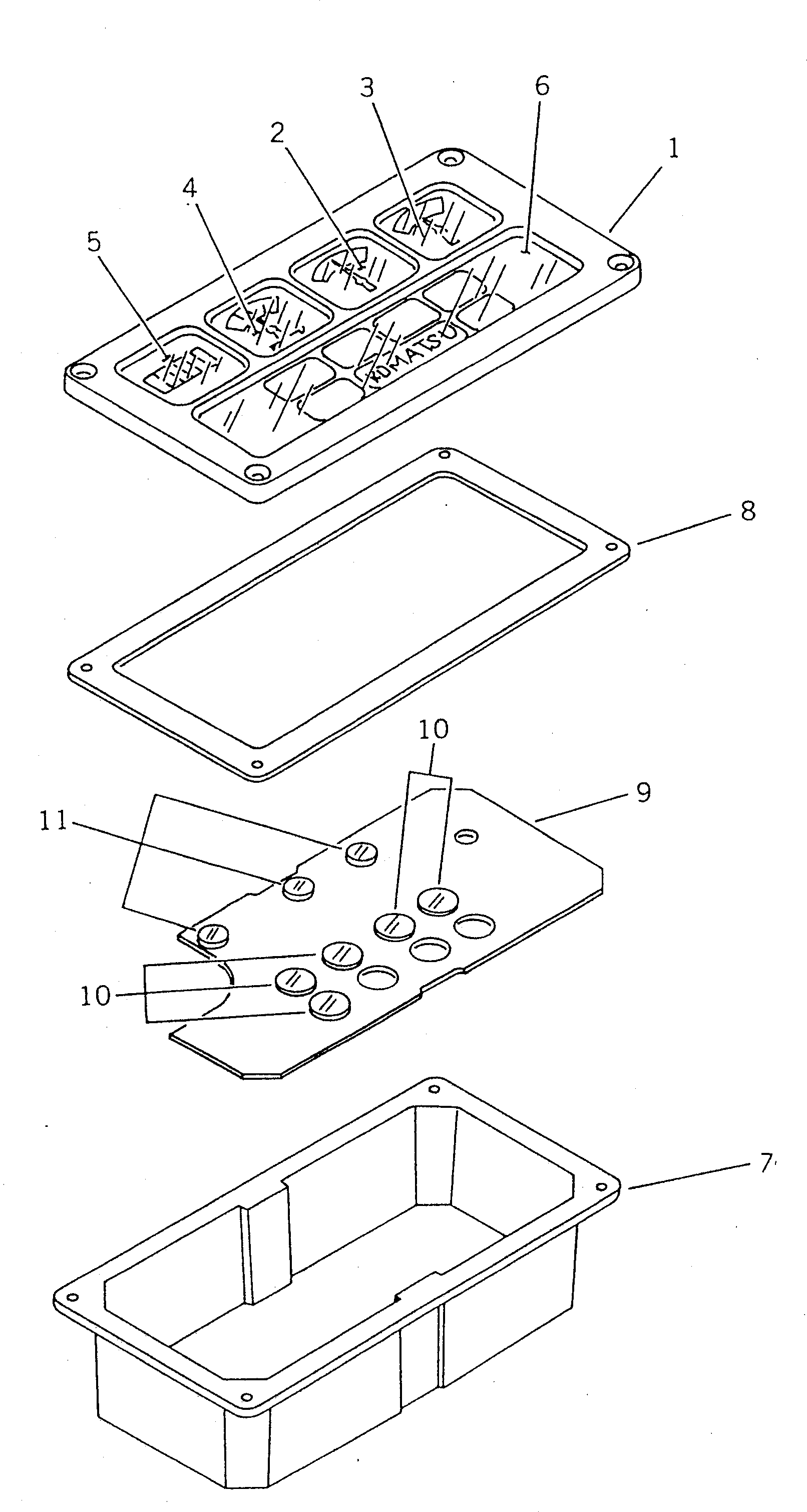
? 363-06-22122 GAUGE CLUSTER 1
SN: 9001-
KIT-FLAG: _-
SERIALNO: 9001-
? KA11245-KA1100 • BEZEL 1
SN: 9001-
KIT-FLAG: _-
SERIALNO: 9001-
? KA90413-KA2030 • GAUGE,FUEL LEVEL 1
SN: 9001-
KIT-FLAG: _-
SERIALNO: 9001-
? KA90403-KA2020 • GAUGE,TORQUE CONVERTER OIL TEMP. 1
SN: 9001-
KIT-FLAG: _-
SERIALNO: 9001-
? KA90403-KA2430 • GAUGE,WATER TEMPERATURE 1
SN: 9001-
KIT-FLAG: _-
SERIALNO: 9001-
? KA90283-KA2400 • METER,SERVICE 1
SN: 9001-
KIT-FLAG: _-
SERIALNO: 9001-
? KA11113-KA2030 • LENS,WARNING 1
SN: 9001-
KIT-FLAG: _-
SERIALNO: 9001-
? KA11371-KA2001 • HOUSING 1
SN: 9001-
KIT-FLAG: _-
SERIALNO: 9001-
? KA11241-KA1100 • GASKET 1
SN: 9001-
KIT-FLAG: _-
SERIALNO: 9001-
? KA11630-KA2030 • CIRCUIT ASS'Y 1
SN: 9001-
KIT-FLAG: _-
SERIALNO: 9001-
? KA11700-EK0100 • BULB ASS'Y 5
SN: 9001-
KIT-FLAG: _-
SERIALNO: 9001-
? KA099-11434 • • BULB, 4W 1
SN: 9001-
KIT-FLAG: _-
SERIALNO: 9001-
? KA11650-KA2400 • BULB ASS'Y 3
SN: 9001-
KIT-FLAG: _-
SERIALNO: 9001-
? KA79161-AK3800 • • BULB, 2W 1
SN: 9001-
KIT-FLAG: _-
SERIALNO: 9001-

Wheel Loaders Komatsu / WA30-3 S/N 9001-UP(wa30-3c) / GAUGE CLUSTER(030090 : 1415)