| Номер на схеме | Каталожный номер | Название | Количество | Детали | |||
|---|---|---|---|---|---|---|---|
| ? | (362-56-00010) | CAB ASS'Y | 1 | SN: 15001-17689 |
|||
| ? | THIS ASSEMBLY CONSISTS OF ALL PARTS SHOWN IN FIGS.K0210-02A0 TO K0210-08A0. | ||||||
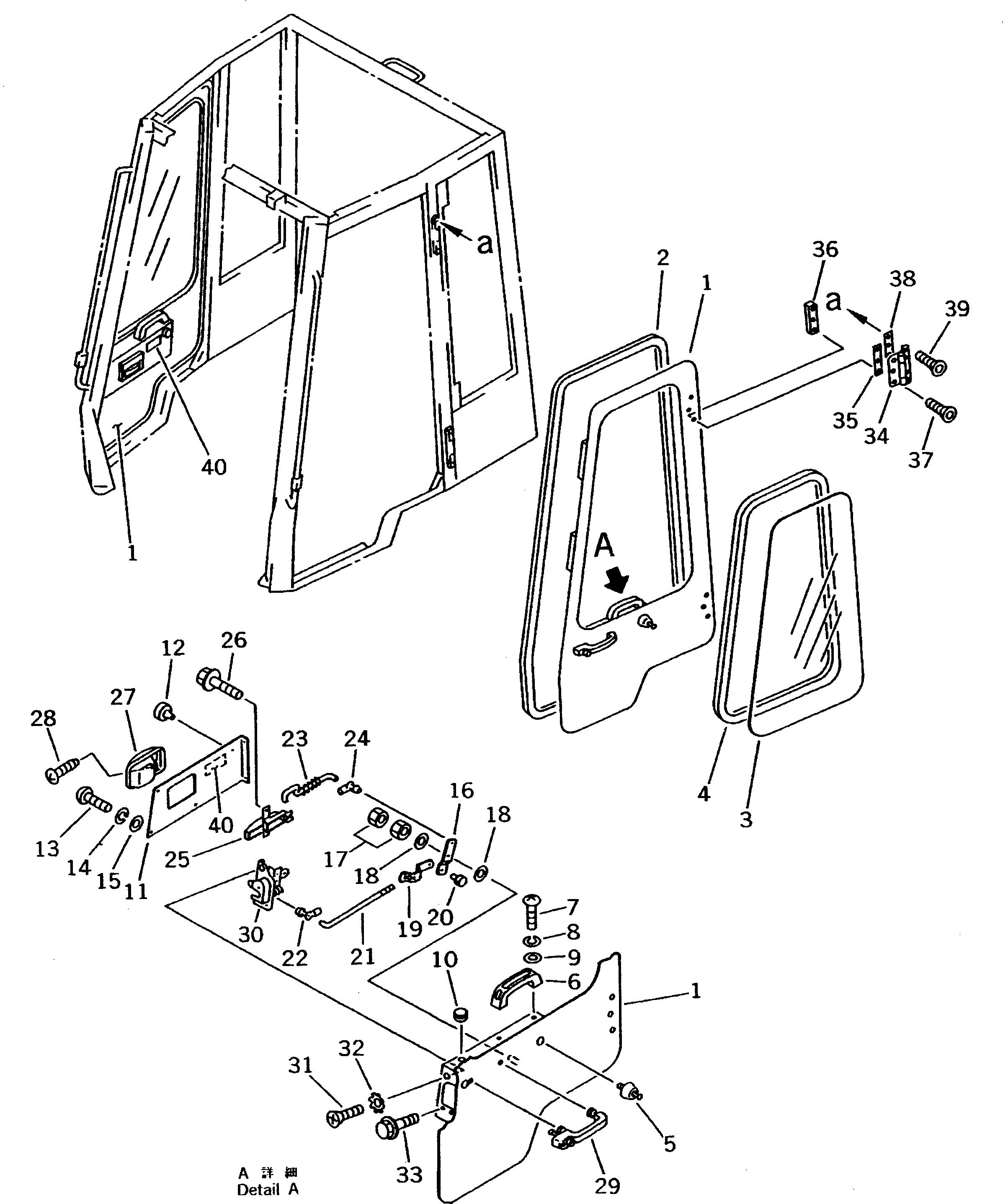
| ? | 362-56-41700 | • DOOR ASS'Y,L.H. | 1 | SN: 15001-17689 |
|||
| ? | 362-56-41800 | • DOOR ASS'Y,R.H. | 1 | SN: 15001-17689 |
|||
| ? | ☆ | • • DOOR,L.H. | 1 | SN: 15001-17689 |
|||
| ? | ☆ | • • DOOR,R.H. | 1 | SN: 15001-17689 |
|||
| ? | 362-56-41570 | • • SEAL | 1 | SN: 15001-@ |
|||
| ? | 362-56-41920 | • • GLASS | 1 | SN: 15001-@ |
|||
| ? | 425-54-15990 | • • STRIP,WEATHER | 1 | SN: 15001-@ |
|||
| ? | 42A-925-1530 | • • CATCH | 1 | SN: 15001-@ |
|||
| ? | 20Y-54-14590 | • • HANDLE | 1 | SN: 15001-@ |
|||
| ? | 01220-40616 | • • SCREW | 2 | SN: 15001-@ |
|||
| ? | 01601-20619 | • • WASHER,SPRING | 2 | SN: 15001-@ |
|||
| ? | 01641-20608 | • • WASHER | 2 | SN: 15001-@ |
|||
| ? | 09415-01008 | • • CAP | 1 | SN: 15001-17689 |
|||
| ? | 362-56-41731 | • • COVER,L.H. | 1 | SN: 15001-17689 |
|||
| ? | 362-56-41831 | • • COVER,R.H. | 1 | SN: 15001-17689 |
|||
| ? | 415-54-12680 | • • CUSHION | 1 | SN: 15001-17689 |
|||
| ? | 01220-40616 | • • SCREW | 4 | SN: 15001-17689 |
|||
| ? | 01601-20619 | • • WASHER,SPRING | 4 | SN: 15001-17689 |
|||
| ? | 01641-20608 | • • WASHER | 4 | SN: 15001-17689 |
|||
| ? | 362-56-41940 | • • PLATE | 1 | SN: 15001-17689 |
|||
| ? | 01580-10605 | • • NUT | 2 | SN: 15001-17689 |
|||
| ? | 01641-20608 | • • WASHER | 2 | SN: 15001-17689 |
|||
| ? | 425-54-16450 | • • SPRING | 1 | SN: 15001-17689 |
|||
| ? | 425-54-16460 | • • PIN | 1 | SN: 15001-17689 |
|||
| ? | 362-56-41930 | • • ROD | 1 | SN: 15001-17689 |
|||
| ? | 421-56-11611 | • • HOOK | 1 | SN: 15001-17689 |
|||
| ? | 42A-925-1620 | • • ROD | 1 | SN: 15001-17689 |
|||
| ? | 421-56-11611 | • • HOOK | 1 | SN: 15001-17689 |
|||
| ? | 421-56-11550 | • • HANDLE,L.H. | 1 | SN: 15001-17689 |
|||
| ? | 421-56-11730 | • • HANDLE,R.H. | 1 | SN: 15001-17689 |
|||
| ? | 01435-00612 | • • BOLT | 2 | SN: 15001-17689 |
|||
| ? | 421-56-11560 | • • COVER,L.H. | 1 | SN: 15001-17689 |
|||
| ? | 421-56-11740 | • • COVER,R.H. | 1 | SN: 15001-17689 |
|||
| ? | 421-56-11860 | • • SCREW | 1 | SN: 15001-17689 |
|||
| ? | 362-56-41950 | • • HANDLE | 1 | SN: 15001-17689 |
|||
| ? | 421-56-11720 | • • LOCK,L.H. | 1 | SN: 15001-17689 |
|||
| ? | 421-56-11540 | • • LOCK,R.H. | 1 | SN: 15001-17689 |
|||
| ? | 01224-40616 | • • SCREW | 1 | SN: 15001-17689 |
|||
| ? | 421-54-16440 | • • WASHER | 1 | SN: 15001-17689 |
|||
| ? | 01435-00612 | • • BOLT | 2 | SN: 15001-17689 |
|||
| ? | 20Y-54-14180 | • • HINGE ASS'Y | 2 | SN: 15001-@ |
|||
| ? | 362-56-41640 | • • PLATE | 2 | SN: 15001-17689 |
|||
| ? | 362-56-41650 | • • PLATE | 2 | SN: 15001-@ |
|||
| ? | 20Y-54-14170 | • • SCREW | 6 | SN: 15001-17689 |
|||
| ? | 362-56-41260 | • PLATE | 4 | SN: 15001-17689 |
|||
| ? | 20Y-54-14170 | • SCREW | 16 | SN: 15001-@ |
|||
| ? | 362-56-41690 | • PLATE¤ CAUTION,DOOR OPEN | 2 | SN: 15001-@ |
