| Номер на схеме | Каталожный номер | Название | Количество | Детали | |||
|---|---|---|---|---|---|---|---|
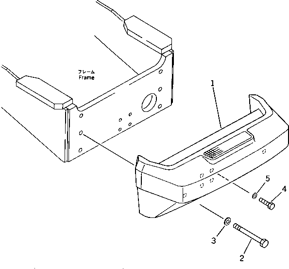
| ? | 362-69-21121 | WEIGHT,COUNTER | 1 | SN: 1001- KIT-FLAG: _- SERIALNO: 1001- |
|||
| ? | 01011-52090 | BOLT | 2 | SN: 1001- KIT-FLAG: _- SERIALNO: 1001- |
|||
| ? | 01643-32060 | WASHER | 2 | SN: 1001- KIT-FLAG: _- SERIALNO: 1001- |
|||
| ? | 01010-51650 | BOLT | 4 | SN: 1001- KIT-FLAG: _- SERIALNO: 1001- |
|||
| ? | 01643-31645 | WASHER | 4 | SN: 1001- KIT-FLAG: _- SERIALNO: 1001- |
