| Номер на схеме | Каталожный номер | Название | Количество | Детали | |||
|---|---|---|---|---|---|---|---|
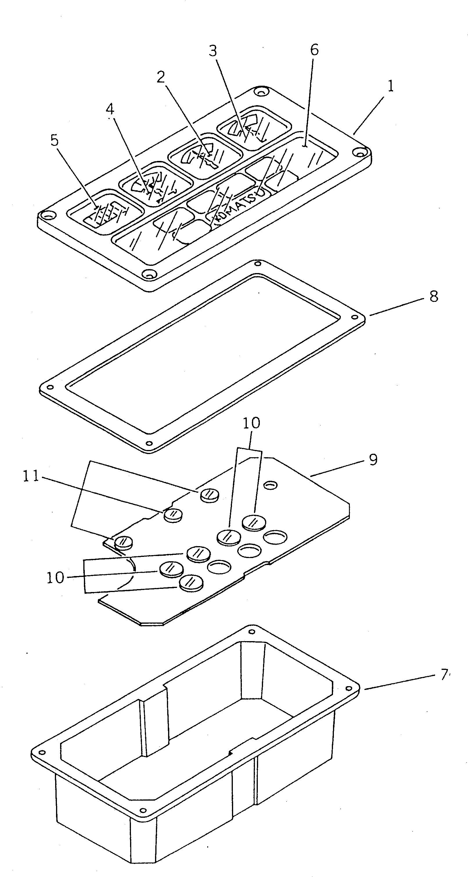
| ? | 363-06-22122 | GAUGE CLUSTER | 1 | SN: 3001- KIT-FLAG: _- SERIALNO: 3001- |
|||
| ? | KA11245-KA1100 | • BEZEL | 1 | SN: 3001- KIT-FLAG: _- SERIALNO: 3001- |
|||
| ? | KA90413-KA2030 | • GAUGE,FUEL LEVEL | 1 | SN: 3001- KIT-FLAG: _- SERIALNO: 3001- |
|||
| ? | KA90403-KA2020 | • GAUGE,TORQUE CONVERTER OIL TEMP. | 1 | SN: 3001- KIT-FLAG: _- SERIALNO: 3001- |
|||
| ? | KA90403-KA2430 | • GAUGE,WATER TEMPERATURE | 1 | SN: 3001- KIT-FLAG: _- SERIALNO: 3001- |
|||
| ? | KA90283-KA2400 | • METER,SERVICE | 1 | SN: 3001- KIT-FLAG: _- SERIALNO: 3001- |
|||
| ? | KA11113-KA2030 | • LENS,WARNING | 1 | SN: 3001- KIT-FLAG: _- SERIALNO: 3001- |
|||
| ? | KA11371-KA2001 | • HOUSING | 1 | SN: 3001- KIT-FLAG: _- SERIALNO: 3001- |
|||
| ? | KA11241-KA1100 | • GASKET | 1 | SN: 3001- KIT-FLAG: _- SERIALNO: 3001- |
|||
| ? | KA11630-KA2030 | • CIRCUIT ASS'Y | 1 | SN: 3001- KIT-FLAG: _- SERIALNO: 3001- |
|||
| ? | KA11700-EK0100 | • BULB ASS'Y | 5 | SN: 3001- KIT-FLAG: _- SERIALNO: 3001- |
|||
| ? | KA099-11434 | • • BULB, 4W | 1 | SN: 3001- KIT-FLAG: _- SERIALNO: 3001- |
|||
| ? | KA11650-KA2400 | • BULB ASS'Y | 3 | SN: 3001- KIT-FLAG: _- SERIALNO: 3001- |
|||
| ? | KA79161-AK3800 | • • BULB, 2W | 1 | SN: 3001- KIT-FLAG: _- SERIALNO: 3001- |
