k-part
Номер на схеме Каталожный номер Название Количество Детали
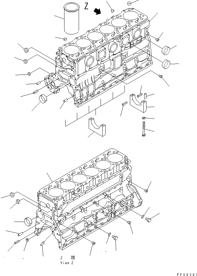
? 6222-21-1101 CYLINDER BLOCK A. 1
SN: 16016-
KIT-FLAG: _-
SERIALNO: 16016-
? • BLOCK,CYLINDER 1
SN: 16016-
KIT-FLAG: _-
SERIALNO: 16016-
? 6221-21-1410 • BUSHING,CAMSHAFT 4
SN: 16016-
KIT-FLAG: _-
SERIALNO: 16016-
? 04025-00408 • PIN 6
SN: 16016-
KIT-FLAG: _-
SERIALNO: 16016-
? \5\6222-29-1210 • CAP,MAIN METAL, NO.1,2,3,4,5,6 6
SN: 16016-
KIT-FLAG: _-
SERIALNO: 16016-
? \5\6222-29-1250 • CAP,MAIN METAL, NO.7 1
SN: 16016-
KIT-FLAG: _-
SERIALNO: 16016-
? 04020-00514 • PIN 2
SN: 16016-
KIT-FLAG: _-
SERIALNO: 16016-
? 04025-00408 • PIN 6
SN: 16016-
KIT-FLAG: _-
SERIALNO: 16016-
? 6221-21-1710 • BOLT 14
SN: 16016-
KIT-FLAG: _-
SERIALNO: 16016-
? 6130-32-1361 • WASHER 14
SN: 16016-
KIT-FLAG: _-
SERIALNO: 16016-
? 07046-42216 • PLUG 2
SN: 16016-
KIT-FLAG: _-
SERIALNO: 16016-
? 6136-21-1911 • PIN 2
SN: 16016-
KIT-FLAG: _-
SERIALNO: 16016-
? 04025-00512 • PIN 1
SN: 16016-
KIT-FLAG: _-
SERIALNO: 16016-
? 04020-01228 • PIN 2
SN: 16016-
KIT-FLAG: _-
SERIALNO: 16016-
? 07040-11209 • PLUG 2
SN: 16016-
KIT-FLAG: _-
SERIALNO: 16016-
? 07005-01212 • GASKET (K2) 2
SN: 16016-
KIT-FLAG: S-
SERIALNO: 16016-
? 07043-70108 • PLUG 3
SN: 16016-
KIT-FLAG: _-
SERIALNO: 16016-
? 07040-11007 • PLUG 1
SN: 16016-
KIT-FLAG: _-
SERIALNO: 16016-
? 07005-01012 • GASKET (K2) 1
SN: 16016-
KIT-FLAG: S-
SERIALNO: 16016-
? 07043-70211 • PLUG 2
SN: 16016-
KIT-FLAG: _-
SERIALNO: 16016-
? 07046-43016 • PLUG 2
SN: 16016-
KIT-FLAG: _-
SERIALNO: 16016-
? 07046-46520 • PLUG 5
SN: 16016-
KIT-FLAG: _-
SERIALNO: 16016-
? 07046-43516 • PLUG 2
SN: 16016-
KIT-FLAG: _-
SERIALNO: 16016-
? 6221-21-1790 • BUSHING 2
SN: 16016-
KIT-FLAG: _-
SERIALNO: 16016-
? 07046-42010 • PLUG 1
SN: 16016-
KIT-FLAG: _-
SERIALNO: 16016-
? 6222-23-2210 LINER (MARK S),CYLINDER A/R
SN: 24074-
KIT-FLAG: _-
SERIALNO: 24074-
? □6222-21-2210 LINER (MARK S),CYLINDER A/R
SN: 16016-24073
KIT-FLAG: _-
SERIALNO: 16016-24073
? 6222-23-2220 LINER (MARK M),CYLINDER A/R
SN: 24074-
KIT-FLAG: _-
SERIALNO: 24074-
? □6222-21-2220 LINER (MARK M),CYLINDER A/R
SN: 16016-24073
KIT-FLAG: _-
SERIALNO: 16016-24073
? 6222-23-2230 LINER (MARK L),CYLINDER A/R
SN: 24074-
KIT-FLAG: _-
SERIALNO: 24074-
? □6222-21-2230 LINER (MARK L),CYLINDER A/R
SN: 16016-24073
KIT-FLAG: _-
SERIALNO: 16016-24073

Engines Komatsu / SA6D108-1G S/N 16016-UP(sa6d107c) / CYLINDER BLOCK(030230 : A2010-A2A8)
?
?
?
?
?
?
?
?
?
?
?
?
?
?
?
?
?
?
?
?
?
?
?
?
?
?
?
?
?
?
?
?
?
?
?
?
?
?