k-part
Номер на схеме Каталожный номер Название Количество Детали
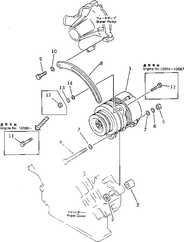
? (600-821-6130) ALTERNATOR A. (25A),(SEE FIG.0641B) 1
SN: 15375-
? (600-821-5451) ALTERNATOR A. (25A),(SEE FIG.0641A) 1
SN: 10088-15374
? (600-821-5450) ALTERNATOR A. (25A),(SEE FIG.0641) 1
SN: 10001-10087
? 6136-21-6610 SPACER 1
SN: 10001-
? 6136-21-6620 SPACER 1
SN: 10001-
? 6112-21-6580 BOLT 1
SN: 11138-
? □01010-31430 BOLT 1
SN: 10001-11137
? 01580-01411 NUT 1
SN: 10001-
? 01602-01442 WASHER,SPRING 1
SN: 10001-
? 01641-21423 WASHER 2
SN: 10001-
? 6136-21-6723 PLATE,ADJUST 1
SN: 10088-
? 6136-21-6722 PLATE,ADJUST 1
SN: 10001-10087
? 01010-31025 BOLT 1
SN: 10001-
? 01602-01030 WASHER,SPRING 1
SN: 10001-
? 01050-31230 BOLT 1
SN: 10088-
? 01010-31035 BOLT 1
SN: 10001-10087
? 01580-01008 NUT 1
SN: 10001-10087
? 01602-01236 WASHER,SPRING 1
SN: 10088-
? 01602-01030 WASHER,SPRING 1
SN: 10001-10087
? 01643-31232 WASHER 1
SN: 10088-
? 01643-31032 WASHER 1
SN: 10001-10087

Engines Komatsu / SA6D110-1A S/N 10001-UP(sa6d110r) / ALTERNATOR AND MOUNTING (25A) (ALTERNATOR WITH NON HARDENING     PULLEY)(180010 : 0601)