| Номер на схеме | Каталожный номер | Название | Количество | Детали | |||
|---|---|---|---|---|---|---|---|
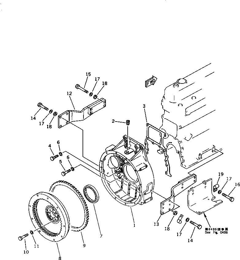
| ? | 6136-21-4230 | HOUSING,FLYWHEEL | 1 | SN: 56995- |
|||
| ? | 02720-20810 | PLUG | 1 | SN: 56995- |
|||
| ? | 6136-21-4812 | GASKET (K2) | 1 | SN: 56995- |
|||
| ? | 01435-01235 | BOLT | 9 | SN: 60730- |
|||
| ? | □01010-31240 | BOLT | 9 | SN: 56995-60729 |
|||
| ? | 01435-01255 | BOLT | 2 | SN: 60730- |
|||
| ? | □01010-31260 | BOLT | 2 | SN: 56995-60729 |
|||
| ? | 01602-01236 | WASHER,SPRING | 11 | SN: 56995-60729 |
|||
| ? | 6130-21-4231 | SEAL ? REAR (K2) | 1 | SN: 56995- |
|||
| ? | 6138-31-1300 | FLYWHEEL ASS'Y | 1 | SN: 56995- |
|||
| ? | ☆ | • FLYWHEEL | 1 | SN: 56995- |
|||
| ? | 6130-32-1321 | • GEAR,RING | 1 | SN: 56995- |
|||
| ? | 01050-31435 | BOLT | 8 | SN: 56995- |
|||
| ? | 6110-11-1620 | WASHER | 8 | SN: 56995- |
|||
| ? | 6138-21-4640 | SUPPORT,REAR L.H. | 1 | SN: 56995- |
|||
| ? | 6138-21-4630 | SUPPORT,REAR R.H. | 1 | SN: 56995- |
|||
| ? | 01435-01240 | BOLT | 8 | SN: 60730- |
|||
| ? | □01010-31240 | BOLT | 8 | SN: 56995-60729 |
|||
| ? | 01435-01265 | BOLT | 4 | SN: 60730- |
|||
| ? | □01010-31265 | BOLT | 4 | SN: 56995-60729 |
|||
| ? | 01435-01265 | BOLT | 4 | SN: 60730- |
|||
| ? | □01010-31265 | BOLT | 4 | SN: 56995-60729 |
|||
| ? | 01643-31232 | WASHER | 16 | SN: 56995- |
|||
| ? | 6131-22-3760 | BOSS | 12 | SN: 56995- |
|||
| ? | 08036-10814 | CLIP | 1 | SN: 56995- |
