| Номер на схеме | Каталожный номер | Название | Количество | Детали | |||
|---|---|---|---|---|---|---|---|
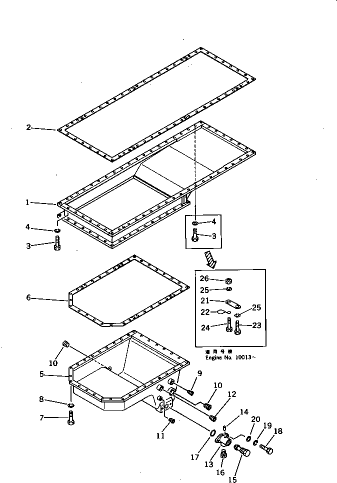
| ? | 6164-21-5260 | ADAPTER,OIL PAN | 1 | SN: 10007- |
|||
| ? | 6164-21-5931 | GASKET (K2) | 1 | SN: 10246- |
|||
| ? | □6164-21-5930 | GASKET (K2) | 1 | SN: 10007-10245 |
|||
| ? | 01010-31035 | BOLT | 53 | SN: 10013- |
|||
| ? | 01010-31035 | BOLT | 54 | SN: 10007-10012 |
|||
| ? | 01602-01030 | WASHER,SPRING | 53 | SN: 10013- |
|||
| ? | 01602-01030 | WASHER,SPRING | 54 | SN: 10007-10012 |
|||
| ? | 6164-21-5270 | PAN,OIL | 1 | SN: 10007- |
|||
| ? | 6164-21-5280 | GASKET (K2) | 1 | SN: 10007- |
|||
| ? | 01010-31035 | BOLT | 33 | SN: 10007- |
|||
| ? | 01602-01030 | WASHER,SPRING | 33 | SN: 10007- |
|||
| ? | 02720-10607 | PLUG | 1 | SN: 10007- |
|||
| ? | 02720-11616 | PLUG | 2 | SN: 10007- |
|||
| ? | 07043-50108 | PLUG | 1 | SN: 10007- |
|||
| ? | 07043-00211 | PLUG | 1 | SN: 10007- |
|||
| ? | 6127-21-5601 | VALVE ASS'Y | 1 | SN: 10007- |
|||
| ? | ☆ | • BODY,VALVE | 1 | SN: 10007- |
|||
| ? | 04020-00514 | • PIN,DOWEL | 1 | SN: 10007- |
|||
| ? | 6127-21-5620 | • VALVE | 1 | SN: 10007- |
|||
| ? | 6127-21-5630 | • PLUG | 1 | SN: 10007- |
|||
| ? | 07000-63035 | O-RING (K2) | 1 | SN: 10007- |
|||
| ? | 01010-31030 | BOLT | 2 | SN: 10007- |
|||
| ? | 01602-01030 | WASHER,SPRING | 2 | SN: 10007- |
|||
| ? | 01640-01016 | WASHER | 2 | SN: 10007- |
|||
| ? | 6301-11-4630 | PLATE | 1 | SN: 10013- |
|||
| ? | 6710-21-7640 | CLIP | 1 | SN: 10013- |
|||
| ? | 01010-31040 | BOLT | 1 | SN: 10013- |
|||
| ? | 01010-31020 | BOLT | 1 | SN: 10013- |
|||
| ? | 01602-01030 | WASHER,SPRING | 2 | SN: 10013- |
|||
| ? | 01580-01008 | NUT | 1 | SN: 10013- |
