| Номер на схеме | Каталожный номер | Название | Количество | Детали | |||
|---|---|---|---|---|---|---|---|
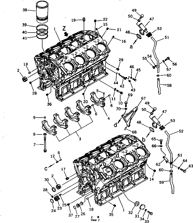
| ? | 6164-21-1103 | CYLINDER BLOCK ASS'Y | 1 | SN: 10513- |
|||
| ? | □6164-21-1102 | CYLINDER BLOCK ASS'Y | 1 | SN: 10450-10512 |
|||
| ? | 6164-21-1101 | CYLINDER BLOCK ASS'Y | 1 | SN: 10007-10449 |
|||
| ? | ☆ | • BLOCK,CYLINDER | 1 | SN: 10513- |
|||
| ? | ☆ | • BLOCK,CYLINDER | 1 | SN: 10450-10512 |
|||
| ? | ☆ | • BLOCK,CYLINDER | 1 | SN: 10007-10449 |
|||
| ? | 6164-21-1490 | • BUSHING,CAMSHAFT | 10 | SN: 10007- |
|||
| ? | \5\6164-29-1210 | • CAP,NO.1¤2¤3¤4 | 4 | SN: 10007- |
|||
| ? | \5\6164-29-1250 | • CAP,NO.5 | 1 | SN: 10007- |
|||
| ? | 04020-00820 | • PIN,DOWEL | 2 | SN: 10007- |
|||
| ? | 04020-00514 | • PIN,DOWEL | 6 | SN: 10007- |
|||
| ? | 6164-21-1710 | • BOLT | 10 | SN: 10007- |
|||
| ? | 6164-21-1730 | • WASHER | 10 | SN: 10007- |
|||
| ? | 04020-00820 | • PIN,DOWEL | 8 | SN: 10007- |
|||
| ? | 6164-21-1750 | • BOLT | 10 | SN: 10007- |
|||
| ? | 6164-21-1780 | • WASHER | 10 | SN: 10007- |
|||
| ? | 04025-00524 | • PIN,SPRING | 2 | SN: 10007- |
|||
| ? | 04020-01434 | • PIN,DOWEL | 2 | SN: 10007- |
|||
| ? | 07043-50211 | • PLUG | 2 | SN: 10007- |
|||
| ? | 07043-50108 | • PLUG | 8 | SN: 10007- |
|||
| ? | 6164-21-1190 | • PIN | 16 | SN: 10007- |
|||
| ? | 02720-11616 | • PLUG | 1 | SN: 10007- |
|||
| ? | 6127-21-1160 | • PIN,DOWEL | 2 | SN: 10007- |
|||
| ? | 07042-01222 | • PLUG | 2 | SN: 10007- |
|||
| ? | 07043-00617 | • PLUG | 2 | SN: 10007- |
|||
| ? | 07043-50108 | • PLUG | 12 | SN: 10007- |
|||
| ? | 07043-50312 | • PLUG | 1 | SN: 10007- |
|||
| ? | 6164-21-1910 | • PLUG | 1 | SN: 10007- |
|||
| ? | 07000-65065 | • O-RING (K2) | 1 | SN: 10007- |
|||
| ? | 04025-00308 | • PIN,SPRING | 1 | SN: 10007- |
|||
| ? | 6164-21-1930 | • PLUG | 1 | SN: 10007- |
|||
| ? | 07000-63048 | • O-RING (K2) | 1 | SN: 10007- |
|||
| ? | 07046-22516 | • PLUG | 5 | SN: 10007- |
|||
| ? | 07043-00617 | • PLUG | 1 | SN: 10007- |
|||
| ? | 6164-21-1950 | • PLUG | 2 | SN: 10007- |
|||
| ? | 6164-21-5550 | • PLATE | 1 | SN: 10007- |
|||
| ? | 6164-21-5560 | • GASKET (K2) | 1 | SN: 10007- |
|||
| ? | 01010-31025 | • BOLT | 4 | SN: 10007- |
|||
| ? | 01602-01030 | • WASHER,SPRING | 4 | SN: 10007- |
|||
| ? | 07043-50108 | • PLUG | 3 | SN: 10007- |
|||
| ? | 02720-10607 | • PLUG | 1 | SN: 10007- |
|||
| ? | 07043-00108 | • PLUG | 1 | SN: 10007- |
|||
| ? | 6162-23-2210 | LINER,CYLINDER | 8 | SN: 10007- |
|||
| ? | 6162-23-2250 | SEAL,CREVICE (K2) | 8 | SN: 10007- |
|||
| ? | 6162-23-2220 | O-RING,UPPER (K2) | 8 | SN: 10007- |
|||
| ? | 6162-23-2240 | O-RING,LOWER (K2) | 8 | SN: 10007- |
|||
| ? | 6164-21-1860 | NOZZLE,PISTON COOLING | 8 | SN: 10007- |
|||
| ? | 07043-00211 | PLUG | 8 | SN: 10007- |
|||
| ? | 07000-62021 | O-RING (K2) | 8 | SN: 10007- |
|||
| ? | 01010-30818 | BOLT | 8 | SN: 10007- |
|||
| ? | 01602-00825 | WASHER,SPRING | 8 | SN: 10007- |
|||
| ? | 6164-21-3720 | BREATHER | 2 | SN: 10007- |
|||
| ? | 6110-61-6811 | GASKET (K2) | 2 | SN: 10007- |
|||
| ? | 01010-31030 | BOLT | 4 | SN: 10007- |
|||
| ? | 01602-01030 | WASHER,SPRING | 4 | SN: 10007- |
|||
| ? | 6164-21-3761 | TUBE,BREATHER | 1 | SN: 10007- |
|||
| ? | (☒6164-21-3760) | TUBE,BREATHER | 1 | SN: (10007-10403) |
|||
| ? | 6164-21-3781 | TUBE,BREATHER | 1 | SN: 10007- |
|||
| ? | 6164-21-3740 | COUPLING | 2 | SN: 10007- |
|||
| ? | 6710-72-9380 | CLAMP | 1 | SN: 10007- |
|||
| ? | 6131-22-3760 | BOSS | 1 | SN: 10007- |
|||
| ? | (01010-31035) | BOLT,(SEE FIG.0701) | 1 | SN: 10007- |
|||
| ? | (01602-01030) | WASHER,SPRING | 1 | SN: 10007- |
|||
| ? | 07286-02635 | HOSE | 1 | SN: 10007- |
|||
| ? | 07286-02670 | HOSE | 1 | SN: 10007- |
|||
| ? | 07285-00280 | CLIP | 2 | SN: 10007- |
|||
| ? | 6165-91-6710 | CLIP | 1 | SN: 10007- |
|||
| ? | 6164-21-3880 | STAY | 1 | SN: 10007- |
|||
| ? | 01010-31020 | BOLT | 1 | SN: 10007- |
|||
| ? | 01602-01030 | WASHER,SPRING | 1 | SN: 10007- |
|||
| ? | 01010-30820 | BOLT | 1 | SN: 10007- |
|||
| ? | 01602-00825 | WASHER,SPRING | 1 | SN: 10007- |
|||
| ? | 6164-21-1980 | HANGER | 4 | SN: 10007- |
|||
| ? | 04020-00514 | PIN,DOWEL | 4 | SN: 10007- |
|||
| ? | 01252-32260 | BOLT | 8 | SN: 10007- |
|||
| ? | 01602-02268 | WASHER,SPRING | 8 | SN: 10007- |
