k-part
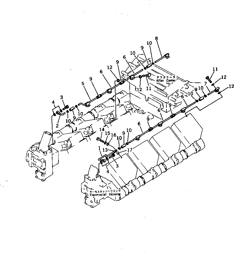
Номер на схеме Каталожный номер Название Количество Детали
? 6164-11-6880 TUBE,L.H. 1
SN: 10007-
? 6164-11-6870 TUBE,R.H. 1
SN: 10007-
? 6166-11-6990 BOLT,JOINT 2
SN: 10426-
? 07206-30812 BOLT,JOINT 2
SN: 10007-10425
? 07005-01212 GASKET (K1) 4
SN: 10007-
? 6164-11-6860 TUBE,R.H. 1
SN: 10007-
? 6164-11-6910 TUBE 5
SN: 10007-
? 6164-11-6940 TUBE,L.H. 1
SN: 10007-
? 6164-11-6930 TUBE,R.H. 1
SN: 10007-
? 6164-11-6950 HOSE 8
SN: 10007-
? 07281-00167 CLAMP 16
SN: 10007-
? 6164-11-6890 BOLT,JOINT 8
SN: 10007-
? 07005-01412 GASKET (K1) 16
SN: 10007-
? 6131-11-5561 CLIP 1
SN: 10007-
? 01010-31035 BOLT 1
SN: 10007-
? 01602-01030 WASHER,SPRING 1
SN: 10007-
? 01640-01016 WASHER 1
SN: 10007-
? 6206-11-4590 SPACER 1
SN: 10426-
? □195-01-14540 COLLAR 1
SN: 10007-10425

Engines Komatsu / SA8V170-1B S/N 10007-UP(sa8v172r) / WATER LINE AIR VENT PIPING(030160 : 0175)